Студопедия

Главная страница Случайная страница

КАТЕГОРИИ:

АвтомобилиАстрономияБиологияГеографияДом и садДругие языкиДругоеИнформатикаИсторияКультураЛитератураЛогикаМатематикаМедицинаМеталлургияМеханикаОбразованиеОхрана трудаПедагогикаПолитикаПравоПсихологияРелигияРиторикаСоциологияСпортСтроительствоТехнологияТуризмФизикаФилософияФинансыХимияЧерчениеЭкологияЭкономикаЭлектроника






И проектировании изоляции помещений от внешнего шума






Звук – это разновидность колебательных движений (волн) в воздухе, воде, твердых телах.

Звуковые волны характеризуются длиной волны , м, частотой колебания , Гц и скоростью их распространения с, м/с. Частота – это количество колебаний в секунду. Частота звуковых волн, воспринимаемых ухом человека, лежит в пределах от 20 до 20000 Гц. Гц (герц) – единица измерения частоты, равная одному колебанию в секунду. Приведенные выше значения частоты соответствуют длинам волн в воздухе от 17 м до 1, 7 см. Скорость звука = 331, 5 м/с при температуре воздуха 0 0С или = 342 м/с – при +180С.

,

где – период колебаний, сек.

Скорость звука зависит от материала, в котором распространяется звук, от температуры этого материала и от частоты.

Звуковой мощностью называют всю звуковую энергию , излучаемую источником звука по всем направлениям в помещении, в единицу времени .

, Вт.

Интенсивность звука – это звуковая мощность, приходящаяся на единицу площади .

, Вт/м2.

Порог слышимости имеет место при 10-12 Вт/м2.

Уровень звукового давления определяется как десятикратный десятичный логарифм отношения квадрата звукового давления к квадрату порогового звукового давления.

Всякий нежелательный для человека звук является шумом. Для городской среды, жилья, производственных пространств и территорий характерно чрезвычайно большое количество разнообразных источников шума. Интенсивное шумовое воздействие на организм человека неблагоприятно влияет на протекание нервных процессов и способствует развитию утомления. Поэтому шум признан одним из вредных факторов.

Органы слуха человека наиболее хорошо воспринимают звуковые колебания с частотой от 50 до 5000 Гц, что соответствует диапазону человеческого голоса. Колебания с частотой ниже 20 Гц (инфразвук) и выше 20000 Гц (ультразвук) хотя и не воспринимаются органами слуха, однако оказывают вредное воздействие на организм человека.

Для характеристики акустических явлений принята специальная измерительная система интенсивности звука и звукового давления, учитывающая приближенную логарифмическую зависимость между раздражением и слуховым восприятием, а именно шкала логарифмических единиц – децибелов (дБ).

Уровни громкости различных источников звука приведены в таблице 2.1.

 

Таблица 2.1

Источник звука Уровень источников шума, дБ
Тишина в горах  
Легковой автомобиль на расстоянии 1 км  
Легковой автомобиль на расстоянии 7, 5 м 50 – 60
Железная дорога, трамвай на расстоянии 25 м 85 – 95
Разговор  
Бытовые приборы (стиральная машина, пылесос)  
Телевизор, громкая речь  
Музыкальный центр, игра на музыкальных инструментах  
Производственное оборудование (компрессор, станок)  

 

Болевой порог наступает при уровне звука в 140 дБ.

Как любой вредный фактор, шум подлежит нормированию.

Законом «О санитарно-эпидемиологическом благополучии населения» предписывается необходимость создания в среде обитания человека постоянного акустического комфорта, который в свою очередь численно описывается в СанПиНах.

СанПиН предусматривает дифференциальный подход с учетом характера деятельности в условиях шума: во время отдыха уровень шума не должен превышать 30 дБ; во время работы, требующей концентрации внимания (умственный труд) – 40 дБ; во время работы (физический труд) – 50 дБ и т. д.

Кроме того, в нем учитываются не только характер действующего шума – тональный, импульсный, постоянный и т.д., но и длительность воздействия шумового фактора при расчете эквивалентных уровней для непостоянных шумов.

В СанПиНе приведены таблицы уровней звукового давления для различных третьоктавных полос.

Для человека, находящегося в помещении, требуется акустическая среда, обеспечивающая благоприятные условия жизнедеятельности и комфортных условий труда и отдыха. Человек, слышащий звук, воспринимает его как необходимый (сигнал – «то, что он хочет понять») или нежелательный (фоновый шум – «то, что он не хочет слышать»). Во всех случаях поиска оптимальных акустических условий подразумевается разница между сигналом и фоновым шумом.

Комфортность акустической среды зависит от следующих параметров:

- разборчивость речи – сигнал должен быть значительнее сильнее фонового шума;

- конфиденциальность – сигнал не должен быть выше фонового шума;

- концентрация – фоновый шум не должен быть навязчивым.

В таблице 2.2 приведены некоторые примеры помещений, в которых значение одного из параметров наиболее велико.

 

Таблица 2.2

Категория помещения Разборчивость речи Конфиденциальность Концентрация
Помещение открытой планировки - + +
Замкнутое офисное помещение - + +
Учебная аудитория, конференц-зал + - +
Библиотека - + +
Зона ожидания в больнице + + -
Палата в больнице - + +
Магазин + + -
Помещение банка для работы с клиентами - + -

 

Причиной шума в зданиях являются внутренние (инженерное и санитарно-техническое оборудование, громкие речь и музыка, ходьба по полу и т.п.) и внешние источники (транспорт, шум промышленных предприятий и т.п.).

Различают три вида шумов, с которыми приходится иметь дело при решении задач звукоизоляции:

- воздушный, при котором звуковые колебания распространяются в воздухе;

- ударный, при котором звуковые колебания возникают при механическом воздействии на пол или перекрытие;

- структурный, при котором звуковые колебания распространяются в материале конструкции.

Основными строительно-акустическими методами защиты от шума являются звукоизоляция, звукопоглощение и экранирование шума. В конкретных случаях эти методы могут быть реализованы различными средствами, которые определяются и обосновываются расчетами.

СНиП 23-03-2003 «Защита от шума» [7] и СП 23-103-2003 «Проектирование звукоизоляции ограждающих конструкций жилых и общественных зданий» [8] подразумевают, с целью выполнения требований СанПиНа, проектирование всех ограждающих конструкций с определенным уровнем изоляции воздушного шума (звукоизоляции) Rw, дБ, изоляции внешнего шума, производимого городским транспортом, RАтран дБА (в том числе для окон, остеклений) и изоляции приведенного ударного шума перекрытием Lnw, дБ.

В общем виде изоляция воздушного шума представляет собой десятикратный десятичный логарифм отношения падающей на ограждение звуковой энергии к энергии, проходящей через ограждение. В СНиП 23-03-2003 под звукоизоляцией воздушного шума подразумевается обеспечение разделяющим два помещения ограждением снижение уровней звукового давления в дБ, приведенное к условиям равенства площади ограждающей конструкции и эквивалентной площади звукопоглощения в защищаемом помещении:

R = L1 – L2 + 10 (S/A),

где L1 – уровень звукового давления в помещении с источником звука, дБ;

L2 – уровень звукового давления в защищаемом помещении, дБ;

S – площадь ограждающей конструкции, м2;

A – эквивалентная площадь ограждающей конструкции, м2.

В СНиП 23-03-2003 под приведенным уровнем ударного шума подразумевается уровень звукового давления в помещении под перекрытием при работе на перекрытии стандартной ударной машины, условно приведенный к величине эквивалентной площади звукопоглощения в помещении А0 = 10 м2.

Rw – величина, служащая для оценки звукоизолирующей способности ограждения одним числом (для внутренних стен и перекрытий). Определяется путем сопоставления частотной характеристики изоляции воздушного шума со специальной оценочной кривой. При этом норматив выполняется, если

Rwпроект ≥ Rwнорм.

RАтран – величина, служащая для оценки изоляции воздушного шума окном. Представляет собой изоляцию внешнего шума, создаваемого потоком городского транспорта. При этом норматив выполняется, если

RАтранпроект ≥ RАтраннорм.

Lnw – величина, служащая для оценки изолирующей способности перекрытия относительно ударного шума одним числом. Определяется путем сопоставления частотной характеристики приведенного ударного шума под перекрытием со специальной оценочной кривой. При этом норматив выполняется, если:

Lnwпроект ≤ Lnwнорм.

Нормативные значения индексов изоляции воздушного шума внутренними ограждающими конструкциями Rw и индексов приведенного ударного шума Lnw приведены в таблице Г.1 приложения Г для категорий зданий А, Б, и В (категория А – высококомфортные условия; категория Б – комфортные условия; категория В – предельно допустимые условия).

Нормативные значения RАтран приведены в таблице Д.1 приложения Д.

Основным параметром, показывающим степень ослабления шума, является индекс изоляции воздушного шума Rw, рисунок 2.1.

Для анализа изоляции и поглощения звука необходимо знать механизм прохождения его через преграды, что позволит управлять его акустическими свойствами и конструктивными решениями преград.

Под звукопоглощением понимается процесс преобразования энергии звуковых волн в тепловую энергию при попадании звука на границу двух сред. В строительной акустике в качестве границ двух сред чаще всего подразумеваются границы «воздух - ограждающие конструкции».

Под звукоизоляцией понимается процесс преобразования энергии звуковых волн в энергию колебательных движений элементов ограждающих конструкций при воздействии на них звукового давления и колебаний звука.

 

Рисунок 2.1 - Схема прохождения звука через ограждение:

L1 – уровень звука источника шума;

L2 – допустимое значение уровня звука,

обеспечивающее комфорт в смежном помещении

 

Расчет звукоизоляции ограждающих конструкций зданий проводится по типовой методике определения индекса изоляции воздушного шума Rw, индекса приведенного уровня ударного шума Lnw, звукоизоляции наружных ограждений RАтран, которая приведена в СП 23-103-2003.

Индекс изоляции воздушного шума Rw, дБ, ограждающей конструкцией с известной (рассчитанной или измеренной) частотной характеристикой изоляции воздушного шума определяется путем сопоставления этой частотной характеристики с оценочной кривой, приведенной в таблице 2.3 (п. 1).

Для определения индекса изоляции воздушного шума Rw необходимо определить сумму неблагоприятных отклонений данной частотной характеристики от оценочной кривой. Неблагоприятными считаются отклонения вниз от оценочной кривой.


Таблица 2.3

N п/п Параметр Среднегеометрическая частота третьоктавной полосы, Гц
                               
  Изоляция воздушного шума Ri, дБ                                
  Приведенный уровень ударного шума Lnw, дБ                                
  Скорректированный уровень звукового давления эталонного спектра Li, дБ                                

 

Если сумма неблагоприятных отклонений максимально приближается к 32 дБ, но не превышает эту величину, величина индекса Rw составляет 52 дБ.

Если сумма неблагоприятных отклонений превышает 32 дБ, оценочная кривая смещается вниз на целое число децибел так, чтобы сумма неблагоприятных отклонений не превышала указанную величину.

Если сумма неблагоприятных отклонений значительно меньше 32 дБ или неблагоприятные отклонения отсутствуют, оценочная кривая смещается вверх (на целое число децибел) так, чтобы сумма неблагоприятных отклонений от смещенной оценочной кривой максимально приближалась к 32 дБ, но не превышала эту величину.

За величину индекса Rw принимается ордината смещенной (вверх или вниз) оценочной кривой в третьоктавной полосе со среднегеометрической частотой 500 Гц.

Пример 1. Определить индекс изоляции воздушного шума Rw перегородкой из тяжелого бетона γ = 2500 кг/м3 толщиной 100 мм, расчетная частотная характеристика которой приведена в таблице 2.4 (п. 1).

Расчет проводится по форме таблицы 2.4.

Вносим в таблицу значения R оценочной кривой и находим неблагоприятные отклонения расчетной частотной характеристики от оценочной кривой (п.3). Сумма неблагоприятных отклонений составила 105 дБ, что значительно больше 32 дБ. Смещаем оценочную кривую вниз на 7 дБ и находим сумму неблагоприятных отклонений уже от смещенной оценочной кривой. На этот раз она составляет 28 дБ, что менее 32 дБ.

Таблица 2.4

№ п/п Параметры Среднегеометрическая частота третьоктавной полосы, Гц
                               
  Расчетная частотная характеристика R, дБ                                
  Оценочная кривая, дБ                                
  Неблагоприятные отклонения, дБ - -                           -
  Оценочная кривая, смещенная вниз на 7 дБ                                
  Неблагоприятные отклонения от смещенной оценочной кривой, дБ - - - -                 - - - -
  Индекс изоляции воздушного шума Rw, дБ      

За величину индекса изоляции воздушного шума принимаем значение смещенной оценочной кривой в третьоктавной полосе 500 Гц, т.е. Rw = 45 дБ.

 

Индекс приведенного уровня ударного шума Lnw для перекрытия с известной частотной характеристикой приведенного уровня ударного шума определяется путем сопоставления этой частотной характеристики с оценочной кривой, приведенной в таблице 2.3 (п. 2).

Для вычисления индекса Lnw необходимо определить сумму неблагоприятных отклонений данной частотной характеристики от оценочной кривой. Неблагоприятными считаются отклонения вверх от оценочной кривой.

Если сумма неблагоприятных отклонений максимально приближается к 32 дБ, но не превышает эту величину, величина индекса Lnw составляет 60 дБ.

Если сумма неблагоприятных отклонений превышает 32 дБ, оценочная кривая смещается вверх (на целое число децибел) так, чтобы сумма неблагоприятных отклонений от смещенной кривой не превышала указанную величину.

Если сумма неблагоприятных отклонений значительно меньше 32 дБ или неблагоприятные отклонения отсутствуют, оценочная кривая смещается вниз (на целое число децибел) так, чтобы сумма неблагоприятных отклонений от смешенной кривой максимально приближалась к 32 дБ, но не превышала эту величину.

За величину индекса Lnw принимается ордината смещенной (вверх или вниз) оценочной кривой в третьоктавной полосе со среднегеометрической частотой 500 Гц.

Пример 2. Определить индекс приведенного уровня ударного шума Lnw для перекрытий, частотная характеристика которого приведена в таблице 2.5 (п.1).

Расчет проводится по форме таблицы 2.5. Вносим в таблицу значения Lnw оценочной кривой и находим неблагоприятные отклонения частотной характеристики приведенного уровня ударного шума от оценочной кривой (п. 3). Сумма неблагоприятных отклонений составила 7 дБ, что значительно меньше 32 дБ. Смещаем оценочную кривую вниз на 4 дБ и находим неблагоприятные отклонения от смещенной оценочной кривой. Сумма неблагоприятных отклонений в этом случае составила 31 дБ, что меньше 32 дБ.

Таблица 2.5

№ п/п Параметр Среднегеометрическая частота третьоктавной полосы, Гц
                               
  Приведенный уровень ударного шума Lп, дБ                                
  Оценочная кривая, дБ                                
  Неблагоприятные отклонения, дБ   -       - - - - - - - - - - -
  Оценочная кривая, смещенная вниз на 4 дБ                                
  Неблагоприятные отклонения от смещенной оценочной кривой, дБ                 - - - - - - - -
  Индекс приведенного уровня ударного шума Lnw, дБ      

За величину индекса приведенного уровня ударного шума принимаем значение смещенной кривой в третьоктавной полосе 500 Гц, т.е. Lnw = 56 дБ.

 

Величина звукоизоляции окна RAтран, дБА, определяется на основании частотной характеристики изоляции воздушного шума окном с помощью эталонного спектра шума потока городского транспорта. Уровни эталонного спектра, скорректированные по кривой частотной коррекции " А" для шума с уровнем 75 дБА, приведены в таблице 2.3 (п. 3).

Для определения величины звукоизоляции окна RAтран (по известной частотной характеристике изоляции воздушного шума) необходимо в каждой третьоктавной полосе частот из уровня эталонного спектра Li вычесть величину изоляции воздушного шума Ri данной конструкцией окна. Полученные величины уровней следует сложить энергетически и результат сложения вычесть из уровня эталонного шума, равного 75 дБА.

Величина звукоизоляции окна RАтран определяется по формуле

 

RАтран = 75 - 10 , дБА,

 

где Li - скорректированные по кривой частотной коррекции " А" уровни звукового давления эталонного спектра в i-й третьоктавной полосе частот, дБ, по п. 3 таблицы 4;

Ri - изоляция воздушного шума данной конструкцией окна в i-й третьоктавной полосе частот, дБ.

Результат вычисления округляется до целого значения, дБА.

Пример 3. Определить звукоизоляцию окна RАтран (изоляцию воздушного шума, создаваемого потоком городского транспорта). Частотная характеристика изоляции воздушного шума данной конструкцией окна (окно из ПВХ профиля с распашными створками, остеклено двухкамерным стеклопакетом 4-12-4-12-4 мм, в притворе два контура уплотняющих прокладок) по представленным фирмой-изготовителем результатам лабораторных испытаний приведена в таблице 2.6 (п. 2).

Расчет проводится по форме таблицы 2.6. Находим разность между уровнями звукового давления эталонного спектра Li (п. 1) и значениями изоляции воздушного шума данной конструкцией Ri (п.2), получаем величины уровней звукового давления условно " прошедшего" через окно шума (п. 3).

Для некоторого упрощения энергетического суммирования группируем уровни (п. 3) по одинаковым значениям.


Таблица 2.6

№ п/п     Параметры Среднегеометрическая частота 1/1-октавной полосы, Гц
                               
  Уровни звукового давления эталонного спектра (скорректированные по " A"), Li, дБ                                
  Изоляция воздушного шума окном, Ri, дБ                                
  Разность Li - Ri, дБ                                

Получаем три уровня по 25 дБ, по два уровня со значениями 32, 35, 33 и 30 дБ, по одному уровню 38, 31, 29, 28 и 26 дБ. Определяем уровень звука, дБА, условно " прошедшего" через окно шума, суммируя значения п. 3 по энергии.

 

 

Звукоизоляция данного окна (применительно к шуму потока городского транспорта)

RАтран = 75 - 44, 1 = 30, 9 ≈ 31, дБА.

 

Для реализации требований нормативных документов по защите от шума и обеспечению параметров акустической среды в производственных, жилых и общественных зданиях требуется учитывать рекомендации по проектированию ограждающих конструкций, которые приведены в СНиП 23-03-2003.

Элементы ограждений рекомендуется проектировать из материалов с плотной структурой, не имеющей сквозных пор. Ограждения, выполненные из материалов со сквозной пористостью, должны иметь наружные слои из плотного материала, бетона или раствора.

Внутренние стены и перегородки из кирпича, керамических и шлакобетонных блоков рекомендуется проектировать с заполнением швов на всю толщину (без пустошовки) и оштукатуренными с двух сторон безусадочным раствором.

Ограждающие конструкции необходимо проектировать так, чтобы в процессе строительства и эксплуатации в их стыках не было и не возникло даже минимальных сквозных щелей и трещин. Возникающие в процессе строительства щели и трещины после их расчистки должны устраняться конструктивными мерами и заделкой невысыхающими герметиками и другими материалами на всю глубину.

Пол на звукоизоляционном слое (прокладках) не должен иметь жестких связей (звуковых мостиков) с несущей частью перекрытия, стенами и другими конструкциями здания, т.е. должен быть «плавающим». Деревянный пол или плавающее бетонное основание пола (стяжка) должны быть отделены по контуру от стен и других конструкций здания зазорами шириной 1 - 2 см, заполняемыми звукоизоляционным материалом или изделием, например, мягкой древесно-волокнистой плитой, погонажными изделиями из пористого полиэтилена и т.п. Плинтусы или галтели следует крепить только к полу или только к стене. Примыкание конструкции пола на звукоизоляционном слое к стене или перегородке показано на рисунке 2.2.

 

 

Рисунок 2.2 - Схема конструктивного решения узла примыкания пола на звукоизоляционном слое к стене (перегородке):

1 - несущая часть междуэтажного перекрытия;

2 - бетонное основание пола; 3 - покрытие пола;

4 - прокладка (слой) из звукоизоляционного материала;

5 - гибкий пластмассовый плинтус; 6 - стена;

7 - деревянная галтель; 8 - дощатый пол на лагах

 

При проектировании пола с основанием в виде монолитной плавающей стяжки следует располагать по звукоизоляционному слою сплошной гидроизоляционный слой (например, пергамин, гидроизол, рубероид и т.п.) с перехлестыванием в стыках не менее 20 см. В стыках звукоизоляционных плит (матов) не должно быть щелей и зазоров.

В конструкциях перекрытий, не имеющих запаса звукоизоляции, не рекомендуется применение покрытий полов из линолеума на волокнистой подоснове, снижающих изоляцию воздушного шума на 1 дБ по индексу Rw. Допускается применение линолеума со вспененными слоями, которые не влияют на изоляцию воздушного шума и могут обеспечивать необходимую изоляцию ударного шума при соответствующих параметрах вспененных слоев.

Междуэтажные перекрытия с повышенными требованиями к изоляции воздушного шума (Rw = 57 - 62 дБ), разделяющие жилые и встроенные шумные помещения, следует проектировать, как правило, с использованием плит из монолитного железобетона достаточной толщины (например, каркасно-монолитная или монолитная конструкция первого этажа). Достаточность звукоизоляции такой конструкции определяют расчетом.

Другим возможным конструктивным вариантом при размещении шумных помещений в первых нежилых этажах является устройство промежуточного (технического) 2-го этажа. При этом также необходимо выполнить расчеты, подтверждающие достаточную звукоизоляцию жилых помещений. Во всех случаях размещения в первых нежилых этажах помещений с источниками шума рекомендуется устройство в них подвесных потолков, значительно увеличивающих звукоизоляцию перекрытий.

Двойные стены или перегородки обычно проектируются с жесткой связью между элементами по контуру или в отдельных точках. Величина промежутка между элементами конструкций должна быть не менее 4 см.

В конструкциях каркасно-обшивных перегородок следует предусматривать точечное крепление листов к каркасу с шагом не менее 300 мм. Если применяют два слоя листов обшивки с одной стороны каркаса, то они не должны склеиваться между собой. Шаг стоек каркаса и расстояние между его горизонтальными элементами рекомендуется принимать не менее 600 мм. Рекомендованное выше заполнение промежутка мягкими звукопоглощающими материалами особенно эффективно для улучшения звукоизоляции каркасно-обшивных перегородок. Кроме того, для повышения их звукоизоляции рекомендуются самостоятельные каркасы для каждой из обшивок, а в необходимых случаях возможно применение двух- или трехслойной обшивки с каждой стороны перегородки.

Для увеличения изоляции воздушного шума стеной или перегородкой, выполненной из железобетона, бетона, кирпича и т.п., в ряде случаев целесообразно использовать дополнительную обшивку на относе.

В качестве материала обшивки могут использоваться: гипсокартонные листы, твердые древесноволокнистые плиты и подобные листовые материалы, прикрепленные к стене по деревянным рейкам, по линейным или точечным маякам из гипсового раствора. Воздушный промежуток между стеной и обшивкой целесообразно выполнять толщиной 40-50 мм и заполнять мягким звукопоглощающим материалом (минераловатными или стекловолокнистыми плитами, матами и т.п.).

Входные двери квартир следует проектировать с порогом и уплотнительными прокладками в притворах.

Стыки между внутренними ограждающими конструкциями, а также между ними и другими примыкающими конструкциями должны быть запроектированы таким образом, чтобы в них при строительстве отсутствовали и в процессе эксплуатации здания не возникали сквозные трещины, щели и неплотности, которые резко снижают звукоизоляцию ограждений. Стыки, в которых в процессе эксплуатации, несмотря на принятые конструктивные меры, возможны взаимное перемещение стыкуемых элементов под воздействием нагрузки, температурные и усадочные деформации, следует конструировать с применением долговечных герметизирующих упругих материалов и изделий, приклеиваемых к стыкуемым поверхностям.

Стыки между несущими элементами стен и опирающимися на них перекрытиями следует проектировать с заполнением раствором или бетоном. Если в результате нагрузок или других воздействий возможно раскрытие швов, при проектировании должны быть предусмотрены меры, не допускающие образования в стыках сквозных трещин.

Стыки между несущими элементами внутренних стен проектируют, как правило, с заполнением раствором или бетоном. Сопрягаемые поверхности стыкуемых элементов должны образовывать полость (колодец), поперечные размеры которой обеспечивают возможность плотного заполнения ее монтажным бетоном или раствором на всю высоту элемента. Необходимо предусмотреть меры, ограничивающие взаимное перемещение стыкуемых элементов (устройство шпонок, сварка закладных деталей и т.д.). Соединительные детали, выпуски арматуры и т.п. не должны препятствовать заполнению полости стыка бетоном или раствором. Заполнение стыков рекомендуется производить безусадочным (расширяющимся) бетоном или раствором.

При проектировании сборных элементов конструкций необходимо принимать такую конфигурацию и размеры стыкуемых участков, которые обеспечивают размещение, наклейку, фиксацию и требуемое обжатие герметизирующих материалов и изделий, когда их применение предусмотрено.

Пропуск труб водяного отопления, водоснабжения и т.п. через межквартирные стены не допускается.

Трубы водяного отопления, водоснабжения и т.п. должны пропускаться через междуэтажные перекрытия и межкомнатные стены (перегородки) в эластичных гильзах (из пористого полиэтилена и других упругих материалов), допускающих температурные перемещения и деформации труб без образования сквозных щелей (рисунок 2.3).

Полости в панелях внутренних стен, предназначенные для соединения труб замоноличенных стояков отопления, должны быть заделаны безусадочным бетоном или раствором.

 

Рисунок 2.3 - Схема конструктивного решения узла пропуска стояка отопления через междуэтажное перекрытие:

1 - стена; 2 - безусадочный бетон или раствор;

3 - прокладка (слой) из звукоизоляционного материала;

4 - бетонное основание пола; 5 - несущая часть перекрытия;

6 - эластичная гильза; 7 - труба стояка отопления

 

Скрытая электропроводка в межквартирных стенах и перегородках должна располагаться в отдельных для каждой квартиры каналах или штрабах. Полости для установки распаячных коробок и штепсельных розеток должны быть несквозными. Если образование сквозных отверстий обусловлено технологией производства элементов стены, указанные приборы должны устанавливаться в них только с одной стороны. Свободную часть полости заделывают гипсовым или другим безусадочным раствором слоем толщиной не менее 40 мм.

Не рекомендуется устанавливать распаячные коробки и штепсельные розетки в межквартирных каркасно-обшивных перегородках. В случае необходимости следует использовать штепсельные розетки и выключатели, при установке которых не вырезаются отверстия в листах обшивок.

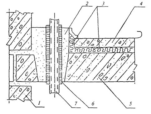
Вывод провода из перекрытия к потолочному светильнику следует предусматривать в несквозной полости. Если образование сквозного отверстия обусловлено технологией изготовления плиты перекрытия, то отверстие должно состоять из двух частей. Верхняя часть большего диаметра должна быть заделана безусадочным раствором, нижняя - заполнена звукопоглощающим материалом (например, супертонким стекловолокном) и прикрыта со стороны потолка слоем раствора или плотной декоративной крышкой (рисунок 2.4).

 

Рисунок 2.4 -Схема конструктивного решения выпуска провода

из перекрытия к потолочному светильнику

(перекрытие со сквозным отверстием):

1 - панель перекрытия; 2 – электроканал;

3 - крюк (приварен к круглой стальной пластине);

4 - раствор (заделка нижней части отверстия условно не показана)

 

Конструкция вентиляционных блоков должна обеспечивать целостность стенок (отсутствие в них сквозных каверн, трещин), разделяющих каналы. Горизонтальный стык вентиляционных блоков должен исключать возможность проникновения шума по неплотностям из одного канала в другой.

Вентиляционные отверстия смежных по вертикали квартир должны сообщаться между собой через сборный и попутный каналы не ближе, чем через этаж.


Поделиться с друзьями:

mylektsii.su - Мои Лекции - 2015-2026 год. (1.147 сек.)Все материалы представленные на сайте исключительно с целью ознакомления читателями и не преследуют коммерческих целей или нарушение авторских прав Пожаловаться на материал