Студопедия

Главная страница Случайная страница

КАТЕГОРИИ:

АвтомобилиАстрономияБиологияГеографияДом и садДругие языкиДругоеИнформатикаИсторияКультураЛитератураЛогикаМатематикаМедицинаМеталлургияМеханикаОбразованиеОхрана трудаПедагогикаПолитикаПравоПсихологияРелигияРиторикаСоциологияСпортСтроительствоТехнологияТуризмФизикаФилософияФинансыХимияЧерчениеЭкологияЭкономикаЭлектроника






Технические характеристики ЛС-С-20






Рабочее давление 0, 8 МПа

Расход воды, не менее 20 л/с

Расход водного раствора пенообразователя, не менее 20 л/с

Дальность струи (по крайним каплям): водяной сплошной (не менее) 60 м пенной (не менее) 40 м

Кратность пены на выходе из ствола До 10

Перемещение ствола в горизонтальной плоскости, не менее 360о

Перемещение ствола в вертикальной плоскости: вверх (не менее) 85 вниз (не менее) 45

Радиус вращения ствола с насадком в развернутом положении: с водяным (не более) 927 мм с пеногенератором (не более) 975 мм

Масса, не более 50

Ствол может эксплуатироваться как внутри помещений, так и на открытом воздухе при температуре от - 400С до +400С.

Работоспособность лафетного ствола сохраняется до - 600С.

 

Ствол в нижней части имеет стойку, которая служит для присоединения его к магистральному трубопроводу с помощью фланцевого соединения ДУ 65 или к отводу от него с условным проходом ДУ 65 и рабочим давлением до 1, 0 МПа, обеспечивает расход 20 л/с, либо 40 л/с (в зависимости от насадка).

Дальность водяной струи 60 м при давлении 8 атм и расходе 20 л/с.

Ствол имеет два поворотных узла, обеспечивающих перемещение водяной или пенной струи в двух взаимно-перпендикулярных плоскостях. Перемещение производится вручную с помощью рычага-рукоятки. В отличие от аналогичных по назначению стволов, использующих узлы поворота на основе насыпных подшипников с беговой дорожкой, в данной конструкции поворотные узлы выполнены на шариковых радиальных подшипниках, которые обеспечивают плавность и легкость поворота, а также надежность конструкции в период срока эксплуатации. Это исключает неконтролируемое «сбегание» шариков (что приводит к «закусыванию» или заклиниванию узла поворота).

31. Стволы лафетные комбинированные (водопенные) предназначены для формирования сплошной или сплошной и распыленной с изменяемым углом факела струй воды, а также струй воздушно-механической пены низкой кратности. Лафетные стволы подразделяются на стационарные, монтируемые на пожарном автомобиле; возимые, монтируемые на прицепе и переносные.

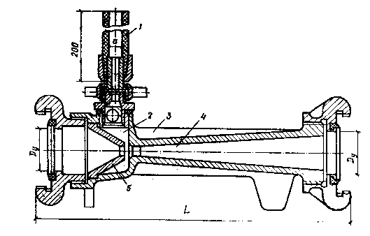
Переносные лафетные стволы входят в комплект пожарных автоцистерн и насосно-рукавных автомобилей. Переносной лафетный ствол ПЛС-П20 (рис.3.22) состоит из корпуса 1, напорных патрубков 3, приемного корпуса 4, фиксирующего устройства 5, рукоятки управления 6. В приемном корпусе имеется обратный шарнирный клапан, который позволяет присоединять и заменять рукавные линии к напорному патрубку без прекращения работы ствола. Внутри корпуса 1 трубы ствола установлен четырехлопастной успокоитель. Для подачи воздушно-механической пены водяной насадок на корпусе трубы заменяют на воздушно-пенный 2. Основные технические характеристики лафетного ствола ПЛС-П20 представлены в табл.3.9.

Таблица 3.9

Показатели Размерность Диаметр насадка, мм
     
Рабочее давление Расход воды Расход пены Длина струи - воды - пены МПа л/с м3/мин   м м   6, 0 -   - 6, 0   6, 0 -   -

 

32. Для получения из водного раствора пенообразователя воздушно-механической пены средней кратности и подачи ее в очаг пожара используются генераторы пены средней кратности.

В зависимости от производительности по пене выпускаются следующие типоразмеры генераторов: ГПС-200; ГПС-600; ГПС-2000. Их технические характеристики представлены в табл.3.11.

Таблица 3.11

Показатель Размерность Генератор пены средней кратности
ГПС-200 ГПС-600 ГПС-2000
Производительность по пене л/с      
Кратность пены   80 … 100
Давление перед распылителем МПа 0, 4 … 0, 6
Расход 4-6% раствора пенообразователя л/с 1, 6…2, 0 5, 0…6, 0 16, 0…20, 0
Дальность подачи пены м      
Соединительная головка   ГМ-5 ГМ-70 ГМ-80

 

Генераторы пены ГПС-200 и ГПС-600 по конструкции идентичны и отличаются только геометрическими размерами распылителя и корпуса. Генератор представляет собой водоструйный эжекторный аппарат переносного типа и состоит из следующих основных частей (рис.3.26): корпуса генератора 1 с направляющим устройством, пакета сеток 2, распылителя центробежного 3, насадка 4 и коллектора 5. К коллектору генератора при помощи трех стоек крепится корпус распылителя, в котором вмонтирован распылитель 3 и муфтовая головка ГМ-70. Пакет сеток 2 представляет собой кольцо, обтянутое по торцевым плоскостям металлической сеткой с размером ячейки 0, 8 мм. Распылитель вихревого типа 3 имеет шесть окон, расположенных по углом 120, что вызывает закручивание потока рабочей жидкости и обеспечивает получение на выходе распыленной струи. Насадок 4 предназначен для формирования пенного потока после пакета сеток в компактную струю и увеличения дальности полета пены. Воздушно-механическая пена получается в результате смешения в генераторе в определенной пропорции трех компонентов: воды, пенообразователя и воздуха. Поток раствора пенообразователя под давлением подается в распылитель. За счет эжекции при входе распыленной струи в коллектор происходит подсос воздуха и перемешивание его с раствором. Смесь капель пенообразующего раствора и воздуха попадает на пакет сеток. На сетках деформированные капли образуют систему растянутых пленок, которые, замыкаясь в ограниченных объемах, составляют сначала элементарную (отдельные пузырьки), а затем массовую пену. Энергией вновь поступающих капель и воздуха масса пены выталкивается из пеногенератора.

В качестве пенных пожарных стволов комбинированного типа (рис.3.27) рассмотрим установки комбинированного тушения пожаров (УКТП) «Пурга», которые могут быть ручного, стационарного и мобильного исполнения. Они предназначены для получения воздушно-механической пены низкой и средней кратности. Технические характеристики УКТП различного исполнения представлены в табл.3.12.

Показатель Размерность Установка комбинированного тушения пожара (УКТП) типа
Пурга Пурга Пурга Пурга 10.20.30 Пурга 20.60.80 Пурга 30.60.90 Пурга 200-240
Производительность по раствору пенообразователя л/с 5…6           200…240
Производительность по пене средней кратности л/с              
Дальность подачи струи пены средней кратности м   25…30   45…50     90…100
Рабочее давление перед стволом МПа 0, 8 0, 8 0, 8 0, 8 0, 8 0, 9…1, 2 1, 0…1, 4
Кратность пены       60…70 30…40      
Расход пенообразователя л/с 0, 36 0, 4 0, 8 1, 8 4, 8 5, 0 12, 0

33. Пенные вставки предназначены для введения пенообразователя в поток воды из цистерны пожарного автомобиля пенного пожаротушения. Дозирующие вставки устанавливают чаще всего в напорных рукавных линиях в тех случаях, когда необходимо обеспечить большие расходы пенообразующего раствора, например для питания пеноподъемников с 2 - 3 пеногенераторами ГПС-600 или одного ГПС-2000.

Рис. 2. Дозирующая вставка 1 - манометр, 2 – корпус, 3 – соединит.головки, 4 - приемный патрубок, 5 – дозирующая шайба

Дозирующая вставка (рис. 2) состоит из цилиндрического корпуса 2 с соединительными головками 3 для пожарных рукавов, по которым поступает вода. Пенообразователь во вставку поступает от насоса пожарного автомобиля пенного тушения по пожарному рукаву через дозирующую шайбу 5, расположенную в приемном патрубке 4. Площадь отверстия дозирующей шайбы определяют по формуле:

При подаче пенообразователя в дозирующую вставку насос, подающий пенообразователь, должен создавать напор от 2 до 30 м (в зависимости от числа подключенных пеногенераторов) и всегда должен быть выше напора в рукавной линии.

Дозирующие вставки можно устанавливать и на всасывающей линии. В этом случае они должны быть оборудованы соответствующими присоединительными головками.

В настоящее время промышленность выпускает переносные пеносмесители ПС-1, ПС-2, аналогичных по конструкции и различающихся только размерами и технической характеристикой.

Рис. 1. Пеносмеситель 1 – всасывающий шланг, 2 – рабочая камера, 3 – корпус, 4 – диффузор, 5 - сопло

Пеносмеситель (рис. 1) состоит из корпуса 3, в котором расположено сопло 5, направленное через рабочую камеру 2 на входное отверстие диффузора 4. Струя воды, проходя через сопло в диффузор, создает в рабочей камере 2 разрежение. Под действием разрежения во всасывающий шланг 1 из емкости (бочки, бака, цистерны) пенообразователь поступает в рабочую камеру, где и смешивается с водой, образуя пенообразующий раствор.

Испытания пеносмесителя на прочность материала и герметичность соединений производят гидравлическим давлением 1, 5 МПа (15 кгс/см2), при этом просачивание воды в течение 1 минуты не допускается.

Дозировку пеносмесителя проверяют водой при напоре перед пеносмесителем 0, 7 МПа (7 кгс/см2) и подпоре 0, 45 МПа (4, 5 кгс/см2). Подсасывание воды определяют по мерной емкости. Оно должно быть в пределах, указанных в таблице, при этом полученный расходподсасываемой воды умножают на 0, 86 - коэффициент разности вязкости воды и пенообразователя ПО-1 (при использовании пенообразователей иных типов коэффициент может быть другим, что требуется определить расчетом).

Для нормальной работы емкость с пенообразователей должна быть на уровне смесителя или несколько выше (но не превышать высоты 2 м).

 

ПОКАЗАТЕЛИ ПЕНОСМЕСИТЕЛИ
ПС - 1 ПС - 2
Давление перед пеносмесителем, МПа 0, 7…1, 0
Давление за пеносмесителем, МПа 0, 45…0, 70 (не менее)
Расход раствора пенообразователя, л/с 5, 0…6, 0 10, 0…12, 0
Количество подсасываемого пенообразователя при напоре перед смесителем 0, 8 МПа, л/с 0, 26   0, 52  
Дозировка пенообразователя ПО-1, % 4…6 (нерегулируемая)
Условный проход всасывающего рукава, мм    
Условный проход соединительных головок, мм    
Диапазон рабочих температур, ° С -40…+45
Масса, кг исполнение 1 3, 6 (не более) 5, 0 (не более)
исполнение 2 9, 0 (не более) 10, 0 (не более)
Длина, мм исполнение 1 395 (не более) 480 (не более)
исполнение 2 355 (не более) 440 (не более)
Срок службы, лет 8 (не менее)

 

34. Пеносмесители предназначены для получения водного раствора пенообразователя, применяемого для образования пены в генераторах пены средней кратности. Пеносмесители являются струйными насосами

На пожарных насосах устанавливают пеносмесители ПС-5. Дозатор ПС-5 имеет 5 радиальных отверстий диаметрами 7, 4; 11; 14, 1; 18, 2; 27, 1 мм, рассчитанных на дозировку пенообразователя при работе соответственно 1, 2, 3, 4, 5 генераторов ГПС-600 или стволов СВП.

Пеносмесительсостоитиз: корпуса 3, в котором расположено сопло 5, направленное через рабочую камеру 2 на входное отверстие диффузора 4. Струя воды, проходя через сопло в диффузор, создает в рабочей камере 2 разрежение. Под действием разрежения во всасывающий шланг 1 из емкости (бочки, бака, цистерны) пенообразователь поступает в рабочую камеру, где и смешивается с водой, образуя пенообразующий раствор

.

  Рисунок 1.Пеносмеситель: 1 – всасывающий шланг, 2 – рабочая камера, 3 – корпус, 4 – диффузор, 5 - сопло

Неисправности

1. Пеносмеситель не подает пенообразователь - 1)засорен трубопровод из бака к пеносмесителю. 2)Засорены отверстия дозатора. - 1.Разобрать, прочистить трубопровод. 2.Разобрать дозатор, прочистить его отверстия.

2. Уровень дозирования пенообразователя ниже нормы. - Засорение магистрали пенообразователя, в частности, проточной полости отсекающего клапана. - Разобрать и прочистить все элементы магистрали пенообразователя.

3. Не поворачивается рукоятка дозатора - Появление на поверхностях трения кристаллических отложений и продуктов коррозии в результате плохой промывки. - Разобрать дозатор, очистить сопрягаемые поверхности от налета.


Поделиться с друзьями:

mylektsii.su - Мои Лекции - 2015-2026 год. (1.217 сек.)Все материалы представленные на сайте исключительно с целью ознакомления читателями и не преследуют коммерческих целей или нарушение авторских прав Пожаловаться на материал