Студопедия

Главная страница Случайная страница

КАТЕГОРИИ:

АвтомобилиАстрономияБиологияГеографияДом и садДругие языкиДругоеИнформатикаИсторияКультураЛитератураЛогикаМатематикаМедицинаМеталлургияМеханикаОбразованиеОхрана трудаПедагогикаПолитикаПравоПсихологияРелигияРиторикаСоциологияСпортСтроительствоТехнологияТуризмФизикаФилософияФинансыХимияЧерчениеЭкологияЭкономикаЭлектроника






Приложение 2.1






к лабораторной работе № 2.

ВОЛЬТМЕТР УНИВЕРСАЛЬНЫЙ В7-16А

1. НАЗНАЧЕНИЕ

Рисунок 2.4 - Вольтметр универсальный В7-16А.

Вольтметр универсальный В7-16А предназначен для:

- измерения напряжения постоянного и переменного токов и активного сопротивления;

Вольтметр измеряет:

- напряжение постоянного тока в диапазоне от 0, 1мВ до 1000 В;

- напряжение переменного тока в диапазоне от 0, 1 мВ до 1000 В:

- активное сопротивление в диапазоне от 0, 1 Ом до 10 МоМ.

Прибор предназначен для эксплуатации в лабораторных и цеховых условиях, питание прибора может осуществляться только от сети переменного тока.

2. ТЕХНИЧЕСКИЕ ДАННЫЕ

2.1. Вольтметр В7-16А имеет четыре поддиапазона измерений;

Диапазон частот измеряемых напряжений может быть от 20 Гц до 100 кГц и от 100 кГц до 50 МГц.

Диапазоны измерений электрических величин соответствуют значениям, указанным в таблице 2.2.

таблица 2.2

2.2. При измерении напряжения переменного тока вольтметр должен градуироваться в среднеквадратических значениях синусоидального напряжения. Основная погрешность вольтметра должна обеспечиваться при измерении напряжения синусоидальной формы в диапазоне частот от 20 Гц до 100 кГц с содержанием гармоник не более 0, 1 % на пределе 1 В и не более 0, 2 % на остальных пределах.

2.3. Предел допускаемой относительной основной погрешности вольтметра в процентах при измерении напряжения переменного тока при времени преобразования 100 мс должен соответствовать таблице 2.2,

где:

Uk – конечное значение установленного поддиапазона измерений напряжений переменного тока, В;

Ux – показание вольтметра, В.

2.3. Предел допускаемой относительной погрешности в процентах при измерении активного сопротивления при времени преобразования 20 мс и 100 мс должен соответствовать таблице 2.2,

Где:

Rk – конечное значение установленного поддиапазона измерений сопротивлений, кОм;

Rx – показание вольтметра, кОм.

2.4. Предел допускаемой дополнительной погрешности от изменения температуры окружающей среды при всех видах измерений не должен превышать половины предела основной погрешности на каждые 10°С изменения температуры.

2.5. Входное сопротивление вольтметра составляет:

- не менее 10 Мом при измерении напряжения постоянного тока;

- не менее 1 Мом при измерении переменного тока вольтметром.

2.6. Входная емкость вольтметра при измерении напряжения переменного тока не превышает 100 пФ.

2.7. Питание вольтметра осуществляется от сети переменного тока напряжением (220±22) В частотой (50±05) Гц.


3. УСТРОЙСТВО И РАБОТА ИЗДЕЛИЯ

 

3.1. ПРИНЦИП ДЕЙСТВИЯ

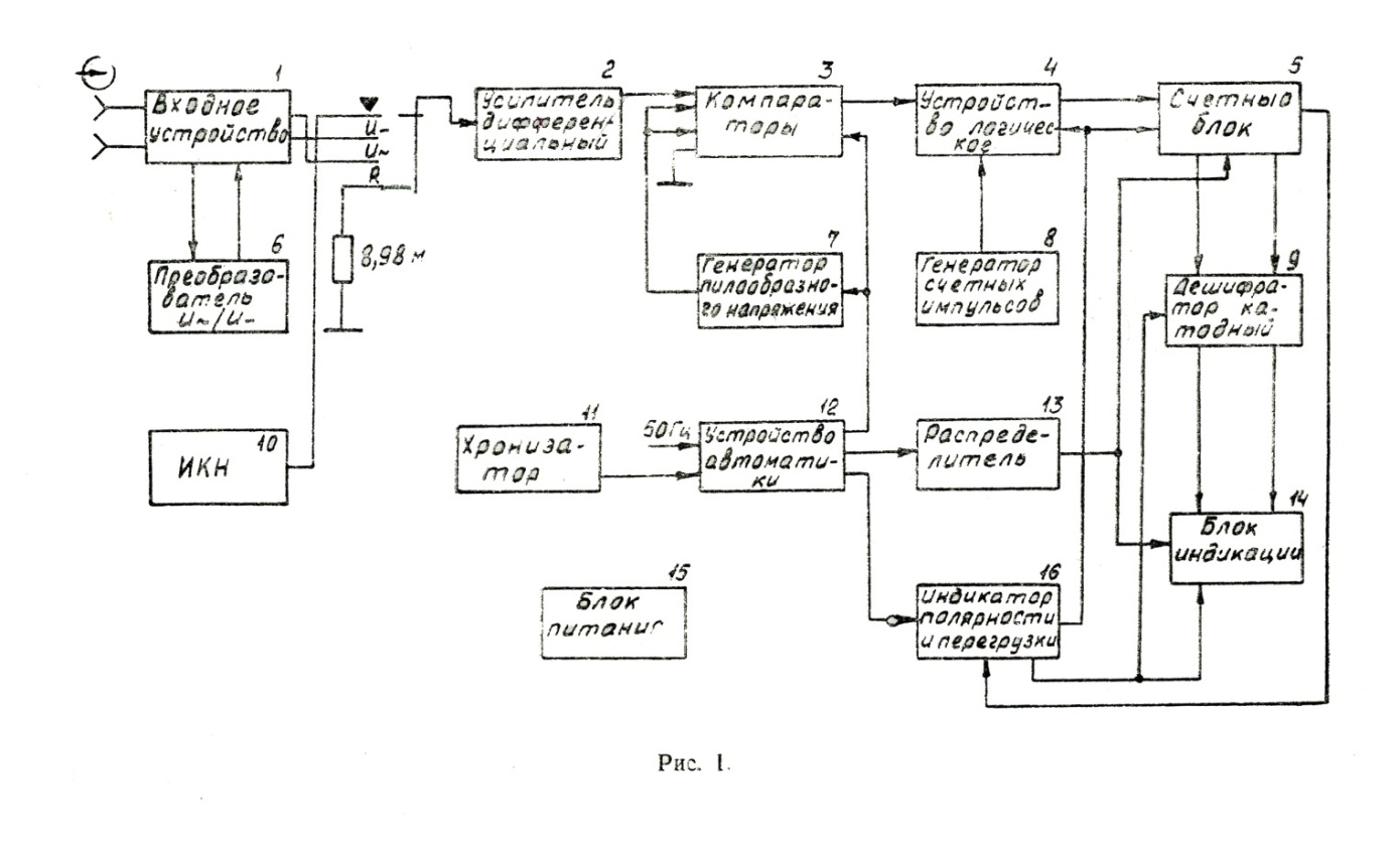
3.1.1. Структурная схема вольтметра изображена на рисунке 2.5.

Рисунок 2.5 - Структурная схема вольтметра.

Напряжение постоянного или переменного тока подается на входные гнезда. Во входном устройстве напряжения постоянного тока приводится с помощью делителя к номинальному пределу 1В и далее поступает на вход усилителя дифференциального. Напряжения переменного тока с частотой 20 Гц – 20 кГц дополнительно преобразуется в напряжение постоянного тока.

Напряжение постоянного тока, полученное во всех трех случаях, подается на блок компараторов.

Блок компараторов состоит из двух компараторов: сигнального и нулевого, каждый из которых имеет два входа. На первые входы компараторов подается пилообразное напряжение с генератора пилообразного напряжения. Второй вход нулевого компаратора заземлен. Нулевой компаратор срабатывает в момент равенства нулевого потенциала с пилообразным напряжением.

Входное напряжение подается на вход усилителя дифференциального, а за тем на вход сигнального компаратора. Сигнальный компаратор срабатывает в момент равенства измеряемого и пилообразного напряжения.

Интервал времени T между моментами срабатывания компараторов пропорционален измеряемому напряжению Uх.

Сигналы с выходов компараторов поступают на логическое устройство, на которое поступают импульсы от генератора счетных импульсов, и импульс цикла от устройства автоматики.

На выходе логического устройства формируется последовательность радиоимпульсов (сто, двадцать, или один в зависимости от времени преобразования) длительностью τ, заполненных счетными импульсами (пачки импульсов).

Радиоимпульсы поступают на счетный блок, включающий в себя четыре декадных делителя с памятью, где происходит подсчет количества импульсов заполнения. Количество импульсов подсчитанных счетчиком будет пропорционально измеряемому напряжению Ux.

После окончания импульса длительностью 100 мс (20 мс или 1 мс) в блоке автоматики формируется импульс памяти, предназначенный для переписки информации счетных триггеров в триггеры памяти и импульс сброса, предназначенный для установки схемы счетного блока в исходное состояние.

4. ПОДГОТОВКА К РАБОТЕ

4.1. РАСПОЛОЖЕНИЕ ОРГАНОВ УПРАВЛЕНИЯ

4.1.1. Все основные органы управления и присоединения расположены на передней панели вольтметра. Вспомогательные органы управления и при­соединения вынесены на заднюю стенку. Назначение органов управления

и присоединения разъясняют надписи и графические символы, помещенные возле них.

На передней панели расположены следующие основные органы управ­ления:

— переключатель «ПРЕДЕЛ ИЗМЕРЕНИЯ», которым производится вы­бор предела измерения напряжения постоянного, переменного токов и актив­ного сопротивления;

— переключатель «РОД РАБОТЫ», который обеспечивает взаимное соеди­нение блоков и узлов приборов при различных измерениях;

— гнездо « ≃ 100 VR» используется при измерении напряжений до

100 В и активных сопротивлений;

— гнезда «1000V», «~ 1000 V» используются при измерении напряжений от 100 В до 1000 В;

— потенциометр «ВР. ИНД.» используется для регулировки периода авто­матического запуска;

— кнопка «» (ручной пуск) служит для ручного запуска вольтметра;

— гнезда «89, 8 кΩ), 8, 98 МΩ» (контроль выхода эталонных сопротив­лений) используются для калибровки вольтметра при измерении активных сопротивлений;

— потенциометры «» (калибровка) и «» (установка нуля)

выведенные под шлиц «» и с ручкой «» служат для калибровки и уста­новки нуля вольтметра. Аналогичная маркировка органов установки нуля и калибровки нанесена на ВЧ преобразователе;

— тумблер «СЕТЬ» служит для включения и выключения прибора;

— зажим «О» — общий провод при измерениях;

— зажим «» соединенный с корпусом вольтметра, используется

для заземления вольтметра;

— гнездо «ПИТ. ВЧ ДЕТЕКТ.» служит для соединения с вилкой высоко­частотного преобразователя.

На задней панели:

переключатель «ВР. ПРЕОБРАЗ.» позволяет выбирать время преоб­разования 1. 20 или 100 мс;

разъем «ВЫХОД па ЦПМ» служит для подключения к вольтметру

цифропечатающей машины. Контакты 21, 22 используются при внешнем за­пуске вольтметра;

— тумблер «» (автоматический, внешний, ручной запуск) служит для переключения режима запуска.

4.2. ПОДГОТОВКА ВОЛЬТМЕТРА К РАБОТЕ

4.2.1. Установить тумблер «СЕТЬ» в верхнее положение.

При включении вольтметра должны индицироваться:

— один из символов «mV», «V», «Ω», «кΩ)», «П», «МΩ»;

— четырех- или трехразрядное число индикаторного табло.

4.2.2. Прогреть вольтметр в течение 1 часа.

4.2.3. Установить тумблер «_ _» в положение «_ _».

4.2.4. Установить потенциометр «ВР. ИНД.» в положение, обеспечиваю­щее удобное время индикации.

4.2.5. Установить переключатель «РОД РАБОТЫ» в положение «U-l S», а переключатель «ПРЕДЕЛ ИЗМЕРЕНИЯ» — в положение «10», Закоротить

вход «_ _≃ 100 VR» и ручкой «_ _» установить на индикаторном табло показания «0000» с равновесным изменением знака полярности.

Установить переключатель «РОД РАБОТЫ» в положение «▼» и ручкой «_ _» (установка калибровки) установить на индикаторном табло пока­зание, равное значению, указанному на шильдике вольтметра.

4.2.6. В случае невозможности осуществления установки нуля, установ­ку нуля необходимо производить в следующей последовательности:

— установить ручку «_ _ _» в среднее положение;

— установить ручку «_ _ _» в среднее положение;

установить переключатель «РОД РАБОТЫ» в положение «U-l S», а переключатель «ПРЕДЕЛ ИЗМЕРЕНИЯ» — в положение «1». Закоротить вход «_ __≃ 100 VR» с клеммой «0»:

— потенциометр «_ _ _» установить в крайнее положение, вращая его по часовой стрелке до упора;

— потенциометр «_ _ _» установить в крайнее положение, вращая его против часовой стрелки до упора, при этом на индикаторном табло индици­руется четырехзначное показание со знаком «минус» (около — 6000±1000);

— вращая потенциометр «_ _ _» по часовой стрелке, установить на индикаторном табло показание «0000».

Примечания.

1. Рекомендуется соблюдать плавность вращения, начиная с показаний «- 0050», с тем, чтобы не пропустить пока­зания «0000».

 

2. Не следует особо тщательно выставлять показание «0» в младшем разряде именно потенциометром «_ _ _»;

при необходимости это можно сделать ручкой «_ _ ___ »,

для чего она заранее была выставлена в среднее поло­жение.

— установить переключатель «РОД РАБОТЫ» в положение «_ _»;

— вращая потенциометр «_ _ _» против часовой стрелки, установить на индикаторном табло показание, равное значению, указанному на шильдике вольтметра.

Примечание.

Не следует особо тщательно выставлять показание младше­го разряда именно потенциометром «_ _ _»; при необ­ходимости это можно сделать ручкой «_ _ _», для чего она заранее была выставлена в среднее положение.

 

5 ПОРЯДОК РАБОТЫ

 

5.1. Измерение напряжения переменного тока частотой 20 Гц ÷ 100 кГц

- Установить переключатель «ПРЕДЕЛ ИЗМЕРЕНИЯ» в положение, соответствующее величине измеряемого напряжения.

- Установить переключатель «РОД РАБОТЫ» в положение «U ~», соответствующее частоте измеряемого напряжения 20 Гц ÷ 100 кГц.

- Подать измеряемое напряжение величиной до 100 В на гнездо

«_ __≃ 100 VR».

- Установить потенциометр «ВР. ИНД.» в положение, обеспечивающее удобное время индикации.

5.2. Приступить к проведению измерений.

 


Поделиться с друзьями:

mylektsii.su - Мои Лекции - 2015-2026 год. (2.848 сек.)Все материалы представленные на сайте исключительно с целью ознакомления читателями и не преследуют коммерческих целей или нарушение авторских прав Пожаловаться на материал