Студопедия

Главная страница Случайная страница

КАТЕГОРИИ:

АвтомобилиАстрономияБиологияГеографияДом и садДругие языкиДругоеИнформатикаИсторияКультураЛитератураЛогикаМатематикаМедицинаМеталлургияМеханикаОбразованиеОхрана трудаПедагогикаПолитикаПравоПсихологияРелигияРиторикаСоциологияСпортСтроительствоТехнологияТуризмФизикаФилософияФинансыХимияЧерчениеЭкологияЭкономикаЭлектроника






Пример энергокинематического расчета






мотор-редуктора МЦ2С- а w- i - m1/m2 -000

Исходные данные:

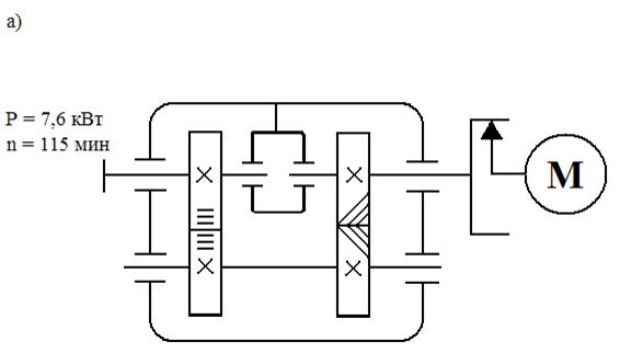
- кинематическая схема – редуктор цилиндрический двухступенчатый соосный РЦ-2С-аw-i- m1/m2 -000 (рисунок 1);

- выходная мощность Рвых = 7, 6 кВт;

- число оборотов выходного вала nвых = 115 мин-1;

- срок службы Т = 20000 часов;

- вид нагрузки – с незначительными динамическими колебаниями.

Расчет

1. Требуемая мощность Рд (кВт) силового привода определяется по формуле (1):

Рд = Кдин × ТН × wвых / η tot = Кдин × 7, 6 / η tot = 1, 2 × 7, 6 / 0, 95 = 9, 6 кВт.

2. Общий КПД привода определяется по формуле (4), значения их принимаются из таблицы 1.

η tot = η 1с × η 2с × η 3 × η пк = 0, 98 × 0, 98 × 0, 9953 = 0, 95

η = 0, 98 – КПД косозубой передачи (1-ая ступень редуктора);

η = 0, 98 – КПД прямозубой передачи (2-ая ступень редуктора);

η п = 0, 995 – КПД подшипников;

к = 3 – количество пар подшипников качения.

3. Передаточное отношение редуктора определяется по формуле (6), значения imax и imin принимаются из таблицы 2.

itot max = i1 max × i2 max = 4, 5 × 4, 5 = 20, 25;

itot min = i1 min × i2 min = 2, 5 × 2, 5 = 6, 25.

4. Определяется максимальная и минимальная частота вращения электродвигателя (мин-1) по формулам (7)

nд max = nвых × itot max = 115 × 20, 25 = 2329;

nд min = nвых × itot min = 115 × 6, 25 = 719.

5. Принимается марка двигателя 4А132М4УЗ, Рд = 11 кВт, nд = 1460 мин-1

6. Определяется фактическое передаточное отношение привода по формуле (8)

itot ф = nд / nвых = 1460 /115 = 12, 7.

7. Значение передаточного отношения принимается из стандартного ряда СТ 312-76, i = 4, тогда iс2 = 12, 7 / 4 = 3, 175 принимается iс2 = 3, 15. Пересчет привода не производится вследствие незначительных расхождений itot ф и itot расч.

8. Расчетные зависимости вычисления основных параметров привода (Р, Т, w, n, η, i) приведен в таблице 3.

9. Угловые скорости звеньев, с-1:

- двигателя: wд = π × nд / 30 = 3, 14 × 1460 / 30 = 152, 8

- редуктора:

· вал ведущий w1 = wд = 152, 8

· вал промежуточный w2 = w1 / i1 = 152, 8 / 4 = 38, 2

· вал ведомый wвых = w2 / i2 = 38, 2 / 3, 15 = 12, 127 ≈ 12, 13

10. Частота вращения, мин-1:

- двигателя: 1460 nд = 1460

- редуктора:

· вал ведущий n1 = nд = 1460

· вал промежуточный n2 = n1 / i1 = 1460 / 4 = 365

· вал ведомый n3 = n2 / i2 = 365 / 3, 14 = 115, 8

11. Вращающие моменты, Н × м:

- двигателя: Тд = Рд / wд = 11 × 103 / 152, 8 = 72

- редуктора:

· вал ведущий Т1д = Рд / wд = 11 × 103 / 152, 8 = 72

· вал промежуточный Т2 = Т1 × i1 = 72 × 4 = 288

· вал ведомый Тн = Тд × i2 = 288 × 3, 15 = 907, 2

12. Мощности, кВт:

- двигателя: Рд = 11 кВт

Силовые и кинематические характеристики привода сводятся в таблицу 4 и являются исходными данными для расчета передач других элементов привода.

Таблица 4 – Параметры привода

Наименование узла (сборочной единицы) привода, валы передач редуктора Параметры передач
Р, кВт Т, Н∙ м , с-1 n, мин-1 i
             

 

Ниже приведен пример энергокинематического расчета привода, состоящего из электродвигателя и цилиндрического двухступенчатого соосного редуктора РЦ-2С- - а w- i - m1/m2- -000

Р= кВт n= мин-1 Т= Н∙ м
i1= n1= Т1=
Рвых= nвых= Т2= i2=
Кинематическая схема

 

Рисунок 1 – Кинематическая схема мотор-редуктора

 

 


Узлы (сборочные единицы) привода, валы передач редуктора Параметры привода
Р, кВт Т, Н× м w, с-1 n, мин-1 η i
             
Двигатель 4А132М4УЗ     152, 8   η д -
Редуктор РЦ-2С-а- i-000 Вал ведущий Вал промежуточный Вал ведомый 10, 945 10, 62 10, 35 71, 63 286, 52 902, 54 152, 8 38, 2 12, 13 115, 8 η 1 = 0, 995 η 2 = 0, 97 η вых = 0, 95 3, 15
               

 

Таблица 5 – Параметры привода


- редуктора:

· вал ведущий Р1 = Рд × η п = 11 × 0, 995 = 10, 945

· вал промежуточный Р2 = Р1 × η 1 × η п2 = 10, 945 × 0, 98 × 0, 9952 = 10, 62

· вал ведомый Рвых = Р2 × η 2 × η п = 10, 35

13. КПД привода:

- двигателя: η д

- редуктора: η д

· вал ведущий η 1 = η п = 0, 995

· вал промежуточный η 2 = η × η п2 = 0, 98 × 0, 995 = 0, 97

· вал ведомый η вых = η × η × η п3 = 0, 98 × 0, 98 × 0, 9953 = 0, 95

Результаты расчетов сводятся в таблицу 5 и на кинематическую схему (рисунок 1), которые используются для дальнейших расчетов.

 

 

Тема 4, 5, 6 «Конструирование редукторов»


Поделиться с друзьями:

mylektsii.su - Мои Лекции - 2015-2026 год. (0.484 сек.)Все материалы представленные на сайте исключительно с целью ознакомления читателями и не преследуют коммерческих целей или нарушение авторских прав Пожаловаться на материал