Студопедия

Главная страница Случайная страница

КАТЕГОРИИ:

АвтомобилиАстрономияБиологияГеографияДом и садДругие языкиДругоеИнформатикаИсторияКультураЛитератураЛогикаМатематикаМедицинаМеталлургияМеханикаОбразованиеОхрана трудаПедагогикаПолитикаПравоПсихологияРелигияРиторикаСоциологияСпортСтроительствоТехнологияТуризмФизикаФилософияФинансыХимияЧерчениеЭкологияЭкономикаЭлектроника






Расчет требуемых сил зажима заготовки






 

Найдем величину сил зажима из условия, что заготовка сохраняет неподвижное состояние под действием сил зажима, резания и реакций опор во время обработки. Изобразим графическую модель равновесия заготовки (расчетную схему). Для этого мысленно освободим заготовку от всех элементов схемы, заменив их действие силами и реакциями связей.

 


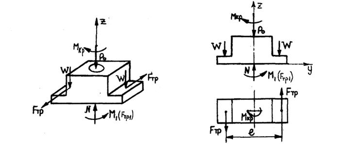
Рис. 1.12.. Графическая модель равновесия заготовки

 

На рисунке 1.12 действие сверла на заготовку заменяет усилие подачи Р0 которое прижимает деталь к опоре и вращающий момент Мкр от пары сил РZ, который стремиться провернуть заготовку относительно оси сверла по часовой стрелке.

Установочная плоскость приспособления действует на заготовку с силой нормального давления N, два зажимных механизма - с силой W каждое. Базовые поверхности, не воспринимающие силы зажима, при расчете разгружают от сил резания. Они не дают опорных реакций, так как не нагружены активными силами.

Графическая модель равновесия заготовки, позволяет составить систему уравнений равновесия и решить ее относительно сил зажима W.

Поскольку усилие подачи не сдвигает, а помогает удержать заготовку в равновесии, силу зажима следует искать из условия, что вращающий момент Мкр не провернет ее относительно оси сверления Z.

Неизвестных сил на схеме две - W и N, значит можно составить и решить систему из двух уравнений, вида:

SFiz = 0 (4)

SMZ(Fi) = 0 (5)

Сила и момент сил резания войдут в это уравнение с коэффициентом запаса К=2, 5.

Спроектируем все силы, действующие на заготовку на ось Z, то естъ составим уравнение (4) и выразим из него неизвестную силу N:

SFiz = 0 KP0 + 2W – N = 0

Отсюда N = KP0 + 2W (6)

Найдем сумму моментов всех сил относительно оси Z, то есть составим уравнение (5): SMZ(Fi) = 0

КМкр - М(Fтр) - М1(Fтр1) = 0 (7)

Где М(Fтр) - момент двух сил трения, возникающих между заготовкой и зажимным механизмом, который обеспечивает силу зажима W.

М(Fтр) = Fтр ´ L = W ´ m ´ L (8)

Где L- плечо пары сил Fтр, L = 80 мм =0, 08 м,

Fтр = W ´ m

Где m - коэффициент трения на площадке контакта между зажимным механизмом и заготовкой; примем m = 0, 1 для гладких поверхностей.

М1(Fтр1) - момент сил трения Fтр1 возникающих между опорой заготовки и приспособления.

М1(Fтр1) = Fтр1 ´ L1

Где L1 - среднее плечо элементарных пар сил трения. Примем L1 равным половине длины площадки трения:

 

L1 = L / 2 = 100 / 2 = 50 мм = 0, 05 м

Fтр1 = N ´ m

М1(Fтр1) = Fтр1 ´ L1 = N ´ m ´ L1

Заменим в последней формуле силу N через W из выражения (6):

М1(Fтр1) = (KP0 + 2W) ´ m ´ L1

Подставляя полученные выражения, выражение (8) в уравнение (7), определим силу зажима W:

КМкр - W ´ m ´ L - (KP0 + 2W) ´ m ´ L1= 0

После подстановки численных значений в полученную формулу, будем иметь:

Заключение. Чтобы обеспечить неподвижность заготовки на операции, ее нужно зажать двумя зажимами с усилиями W = 2091 Н на каждом зажиме.

 

 


Поделиться с друзьями:

mylektsii.su - Мои Лекции - 2015-2026 год. (2.264 сек.)Все материалы представленные на сайте исключительно с целью ознакомления читателями и не преследуют коммерческих целей или нарушение авторских прав Пожаловаться на материал