Студопедия

Главная страница Случайная страница

КАТЕГОРИИ:

АвтомобилиАстрономияБиологияГеографияДом и садДругие языкиДругоеИнформатикаИсторияКультураЛитератураЛогикаМатематикаМедицинаМеталлургияМеханикаОбразованиеОхрана трудаПедагогикаПолитикаПравоПсихологияРелигияРиторикаСоциологияСпортСтроительствоТехнологияТуризмФизикаФилософияФинансыХимияЧерчениеЭкологияЭкономикаЭлектроника






Электроустановок






 

Содержание работы:

1. Основные понятия об электроприводе.

2. Аппаратура управления электрических установок.

3. Аппаратура защиты.

4. Расчет и выбор аппаратуры управления и защиты.

 

Электроприводом называют машинное устройство, которое п р е д н а з н а ч е н о для преобразования электрической энергии в механическую. Он с о с т о и т из:

· электродвигателя;

· передаточного механизма;

· аппаратуры управления и защиты.

Электропривод, применяемый в производственных процессах делят на три основных типа:

· групповой – в нем от одного электродвигателя с помощью нескольких трансмиссий вращение передается группе рабочих машин;

· одиночный – с помощью одного электродвигателя приводится в движение одна машина или производственный механизм;

· многодвигательный – для привода рабочих органов одной рабочей машины используют несколько электродвигателей.

По способу управления электроприводы делятся на: автоматизированный, частично автоматизированный и неавтоматизированный.

По роду использованной электрической энергии: постоянного и переменного тока, одно- и трехфазный.

По числу скоростей: одно- и многоскоростные.

Достоинства электропривода:

· быстрый и простой пуск электродвигателя;

· возможность точного учета расхода электроэнергии на отдельные производственные операции;

· небольшие габаритные размеры и металлоемкость;

· простота обслуживания, надежность в эксплуатации и возможность автоматизации.

Аппаратура управления п р е д н а з н а ч е н а для пуска и остановки двигателя, изменения частоты и направления вращения вала двигателя, а также обеспечения работы электродвигателя в заданных режимах в соответствии с требованиями технологического процесса и т.д. Ее классифицируют по следующим признакам:

· способу управления – с ручным, автоматическим и дистанционным управлением;

· роду тока – для постоянного и переменного тока;

· исполнению – открытое, защищенное, пылебрызгонепроницаемое, тропическое и т.д.

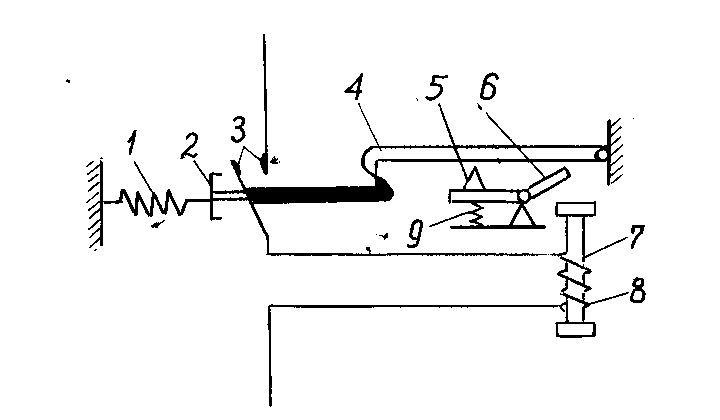
ас боковой рукояткой и дугогасительной камерой;

бс центральной рукояткой и моментным дугогасительным ножом

1 – изолирующая плита; 2 – контактный нож; 3 – дугогаситсльная камера;

4 – неподвижная контактная стойка; 5 – рукоятка; 6 – неподвижный контакт

 

Рисунок 102 – Рубильники

 

Аппаратура ручного управления приводится в действие обслуживающим персоналом. К ней относятся: выключатели и переключатели, рубильники, кнопочные станции, магнитные пускатели, автоматические выключатели.

Рубильники п р е д н а з н а ч е н ы для неавтоматического замыкания и размыкания цепей переменного тока напряжением до 500 В. Рубильники с о с т о я т (рис.102) из системы подвижных (ножи) 2 и неподвижных 6 контактов, смонтированных на плите 1 из нетокопроводящего материала. Конструктивно могут быть выполнены с центральной (рис. 102, б), боковой рукояткой (рис. 102, а) и рычажным приводом.

П р и н ц и п д е й с т в и я рубильников: поворотом рукоятки 5, соединенной с подвижными главными ножами, вводят их в зацепление с неподвижными контактами, вследствие чего происходит замыкание электрической цепи.

Пакетные выключатели и переключатели п р е д н а з н а ч е - н ы для тех же операций, что и рубильники, в электрических цепях небольшой мощности.

Пакетный выключатель с о с т о и т (рис. 103) из отдельных сложенных вместе пакетов 3 и приводного механизма 1. Каждый из пакетов образует полюс, включаемый в одну цепь выключателя. Неподвижные контакты каждого пакета занимают определенное положение, смещенное по отношению к контактам других пакетов. Неподвижные контакты 5 выполнены в виде массивных пластин из латуни, подвижные 6 – в виде двух пружинящих губок, которые посажены на квадратный изолированный вал 4 выключателя с рукояткой 2 и могут поворачиваться вместе с ним.

 

1 – приводной механизм; 2 – рукоятка выключателя; 3 – пакеты; 4 – изолированный вал; 5 – неподвижные контакты; 6 — подвижные контакты Рисунок 103 – Пакетный выключатель

 

П р и н ц и п д е й с т в и я: при вращении рукоятки 2 сначала заводится пружина, которая сообщает необходимую скорость подвижным контактам. Перемещение по окружности подвижных контактов приводит к их набеганию на неподвижные, вследствие чего происходит замыкание электрической цепи. Дальнейшее вращение рукоятки выключателя приводит к размыканию цепи.

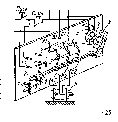
Контакторы переменного тока п р е д н а з н а ч е н ы для дистанционного включения и выключения электроустановок.

У с т р о й с т в о (рис. 104) на плите из нетокопроводящего материала смонтирована система неподвижных 4 и подвижных главных контактов 5, а также блокировочных контактов 1. За соединение подвижных и неподвижных контактов отвечает электромагнит, в состав которого входит сердечник 6, обмотка 7 и якорь 8, одним концом насаженный на вал 2. Главные неподвижные контакты А1, В1, С1 запитаны из трехфазной сети. К главным подвижным контактам А2, В2, С2 присоединяют статорную обмотку электродвигателя 9. Дистанционное управление электрической установкой осуществляют с помощью кнопок «Пуск» и «Стоп».

П р и н ц и п д е й с т в и я: при нажатии на кнопку «Пуск», катушка контактора 6, по которой протекает ток, втягивает якорь магнитной системы 8 и замыкает контакты силовой цепи и блокировочные, в результате чего на электрическую установку поступает ток из сети. Блокировочные контакты включены параллельно кнопке «Пуск» и оставляют цепь питания катушки замкнутой и после того, как кнопка «Пуск» будет отпущена.

  1 – блокировочные контакты; 2 – вал; 3 – траверса; 4 – неподвижные главные контакты; 5 – подвижные главные контакты; 6 – сердечник; 7 – обмотка электромагнита; 8 – якорь электромагнита; 9 – электродвигатель   Рисунок 104 – Схема контактора  

 

При нажатии на кнопку «Стоп» цепь катушки 7 размыкается и якорь магнитной системы под действием пружин разъединяет силовые и блокировочные контакты. Поступление электрической энергии из сети на электроустановку прекращается.

Магнитный пускатель п р е д н а з н а ч е н для местного, дистанционного и автоматического управления электроустановкой, а также для защиты электродвигателей от перегрузки (при наличии теплового реле) и нулевой защиты.

В настоящее время широко используют магнитные пускатели серии ПМЛ и ПМЕ.

У с т р о й с т в о: контакторы магнитных пускателей на токи до 63А имеют прямоходовую магнитную систему Ш-образного типа. Подвижная часть электромагнита составляет одно целое с траверсой, в которой предусмотрены подвижные контакты и их пружины. В общих чертах кинематика управления электрических установок с помощью контакторов и магнитных пускателей аналогична. Разница в их работе заключается в наличии теплового реле у магнитных пускателей, предназначенного обеспечивать защиту электродвигателей при длительных перегрузках. Выполняет эту функцию в магнитном пускателе серии ПМЛ тепловое реле типа РТЛ, который установлен непосредственно в корпусе пускателя.

Технические данные магнитных пускателей серии ПМЕ представлены в Приложении 31.

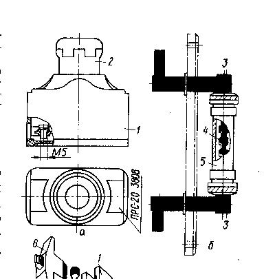
Тепловое реле п р е д н а з н а ч е н о для защиты электродвигателя от перегрузок.

У с т р о й с т в о (рис. 105): тепловое реле с о с т о и т из нагревательного элемента 1, биметаллической пластинки 2, контактов 5, пружины 3 и кнопки возврата 4.

Нагревательный элемент представляет собой спираль, свитую из провода с высоким удельным сопротивлением (нихром, манганин, фехраль). Его выбирают по номинальному току управляемого электродвигателя. Поэтому при протекании номинального тока электрического двигателя нагревательный элемент не нагревается.

Биметаллическая пластина представляет собой конструкцию, сваренную из двух разнородных металлических пластинок, имеющих разный коэффициент линейного расширения. Например, из меди и железа. При нагревании такой пластинки одна из сторон расширяется сильнее, чем другая, поэтому пластинка изгибается.

П р и н ц и п д е й с т в и я теплового реле: при перегрузках двигателя ток в его обмотке возрастает и нагревательный элемент 1 теплового реле нагревается. Излучаемое нагревательным элементом тепло нагревает биметаллическую пластину 2, которая, изгибаясь, разрывает контакты в цепи катушки магнитного пускателя 5, и электродвигатель отключается. Для приведения теплового реле в состояние готовности нужно после остывания биметаллической пластинки нажать на кнопку возврата 4.

  1 – нагревательный элемент; 2 – биметаллическая пластина; 3 – пружина; 4 – кнопка возврата; 5 – контакты цепи   Рисунок 105 – Кинематическая схема теплового реле

 

Расчет и выбор теплового реле магнитного пускателя

Нагревательные элементы теплового реле Iуст выбирают по расчетным (номинальным) токам электрических цепей Iрасч , в которых они будут работать, исходя из условий

Iуст ≥ Iрасч (19.1)

Пример 1. Выбрать тепловое реле для защиты асинхронного короткозамкнутого электродвигателя типоразмера 4А80В2У3 мощностью Рн = 2, 2 кВт для работы в сети с напряжением U = 380 В.

Р е ш е н и е:

1. Определяют величину номинального тока двигателя Iдв:

Iдв = Рн / U (19.2)

Iдв =2200/380 = 4, 8 А

2. Ток уставки теплового реле с учетом неравенства (19.1) составляет:

Iуст 4, 8 А

3. Выбирают по техническим данным Приложения 30, стандартный нагреватель на 5А, а тепловое реле ТРН-10 с номинальным током 10А.

Автоматические выключатели серии АП50 п р е д н а з н а ч е - н ы для защиты электрических установок от перегрузок и токов короткого замыкания, а также для нечастых оперативных отключений до 30 раз в час.

а б

а – общий вид:

1 – дугогасительная камера; 2 – электромагнитный расцепитель;

3 – главные контакты; 4, 5 – соответсвенно конопки «Пуск» и «Стоп»; 6 – основание

бкинематическая схема электромагнитного расцепителя:

1, 9 – пружины; 2 – перемычка; 3 – электрические контакты; 4 – защелка;

5 – толкатель; 6 – якорь; 7 – сердечник; 8 – катушка

 

Рисунок 106 – Автоматический выключатель АП50

 

У с т р о й с т в о (рис. 106, а) АП-50 с о с т о и т из контактной системы 3, дугогасительных камер 1 и механизма управления, смонтированных на общем основании из фибры 6, закрытом крышкой. Подвижные и неподвижные контакты каждого полюса автомата разделены пластмассовыми перегородками и заключены в съемные дугогасительные камеры 1, состоящими из нескольких металлических пластин. Их задача – дробить электрическую дугу, возникающую при размыкании контактов, на ряд более мелких дуг.

Автомат имеет рукоятку ручного управления, которая через пружинный механизм и систему рычагов связана с подвижными контактами, что позволяет включать и выключать электрическую установку вручную.

Автоматическое отключение АП-50 производят специальные устройства – расцепители. Они могут быть с тепловым элементом или электромагнитом, а также комбинированным, например у АП50-3МТ. Тепловые расцепители с л у ж а т для защиты электрической установки от токов перегрузки, то есть он выполняет те же функции, что и тепловое реле в магнитном пускателе. Принципы их действия аналогичны.

Электромагнитный расцепитель п р е д н а з н а ч е н для защиты электродвигателей от токов короткого замыкания. Кинематическая схема его представлена на рис. 106, б.

У с т р о й с т в о электромагнитного расцепителя (рис. 106, б): в его с о с т а в входит катушка 8 с небольшим числом витков, включенной так же, как и нагревательный элемент теплового расцепителя, последовательно с электроприемником (статорная обмотка электродвигателя). Внутри катушки расположен подвижный стальной сердечник 7. При протекании по катушке тока номинальной величины контакты 3 замкнуты. В случае возрастания тока до очень больших значений (короткое замыкание) к сердечнику притягивается якорь электромагнита 6, а толкатель 5 воздействует на защелку 4 и вызывает размыкание контактов 3 и отключение автоматического выключателя с электроприемником.

В сельскохозяйственном производстве получили распространение автоматические выключатели серий АП-50, АЗ100 и АЕ2000.

Расчет и выбор автоматических выключателей

 

Автоматические выключатели выбирают по номинальному напряжению (220, 380 В и т.д.), номинальному току, коммутационным элементам и номинальным токам и виду расцепителя (электромагнитный, тепловой, комбинированный) с учетом следующих рекомендаций:

· ток уставки теплового и комбинированного расцепителей для защиты участка электрической сети:

Iуст.т. = Iн, (19.3)

где Iн – номинальный ток электрической сети, А;

· для защиты одиночного электродвигателя с короткозамкнутым ротором ток уставки электромагнитного расцепителя определяют по условию:

Iуст.м. (1, 5…1, 8) Iпуск , (19.4)

где Iпуск – ток, потребляемый асинхронным короткозамкнутым

электродвигателем из сети в момент его пуска:

Iпуск = (5…7) Iн. (19.5)

· для защиты группы асинхронных двигателей с короткозамкнутым ротором:

, (19.6)

где – коэффициент одновременности для группы двигателей;

– коэффициент загрузки каждого двигателя;

– ток нагрузки электрической цепи, кроме тока нагрузки

того двигателя, который имеет наибольший пусковой

ток, А;

Iпуск – пусковой ток указанного выше двигателя, А.

Пример 2. Выбрать автоматический выключатель для защиты ответвления к электродвигателю типоразмера 4А80А2УЗ. Данные двигателя: Рн = 1, 5 кВт; Iн = 3, 5А; кратность пускового тока ki = 7.

 

Р е ш е н и е.

 

1. Определяют ток уставки теплового расцепителя с учетом формулы (19.3):

Iуст.т. = Iн = 3, 5А.

2. Определяют ток уставки электромагнитного расцепителя с учетом формулы (19.4):

Iуст.м. ≥ 1, 5 · ki · Iн

Iуст.м . ≥ 1, 5 ·7 · 3, 5 = 36, 75А

 

Затем регулируют электромагнитный расцепитель на ток 37А.

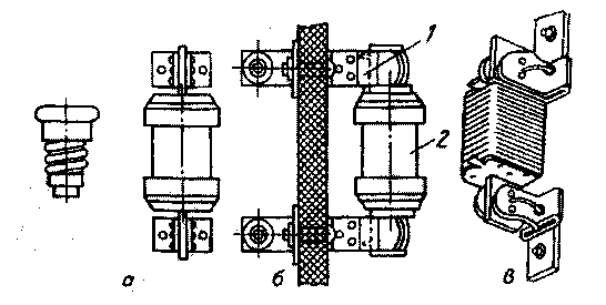
Плавкие предохранители п р е д н а з н а ч е н ыдля защиты электрических установок от токов коротких замыканий.

У с т р о й с т в о (рис. 107) во всех типах предохранителей отключающим элементом является плавкая вставка 4, расположенная внутри корпуса (патрона) 5, выполненного из нетокопроводящего материала.

Корпуса предохранителей классифицируют по следующим признакам:

· в зависимости от конструкции плавких вставок – разборные и неразборные. У разборных допускается замена плавких вставок на месте эксплуатации;

· по наличию наполнителя – с наполнителем и без него;

· по виду контактов плавкой вставки – с ножевыми и врубными контактами, вставляемыми в губки контактов основания.

апробочный предохранитель серии ПРС;

бтрубчатый предохранитель типа ПР-2;

впризматический предохранитель типа ПН-2

1 – основание предохранителя; 2 – ввертываемый цилиндрический корпус

с плавкой вставкой; 3 – контактные ножи; 4 – плавкая вставка; 5 – фибровый патрон

 

Рисунок 107 – Плавкие предохранители

 

Электрический контакт плавкой вставки с рубильником осуществляется при помощи ножевых или врубных контактов.

П р и н ц и п д е й с т в и я: плавкая вставка при протекании тока нагревается. При перегрузке или коротком замыкании плавкая вставка перегорает, поскольку она выполнена из легкоплавкого материала. Цепь тока при этом разрывается. При перегорании плавкой вставки может возникнуть опасная электрическая дуга, которая может повредить оборудование или представить опасность для обслуживаемого персонала. Поэтому трубки предохранителей на большие мощности отключения заполняют кварцевым песком. Некоторые предохранители выпускаются с фибровыми трубками. При перегорании плавкой вставки фибровая трубка выделяет газы, давление в трубке значительно увеличивается и дуга деионизирутся и гасится.

Для осветительной проводки и электроприемников, работающих с небольшими пусковыми токами, ток плавкой вставки предохранителя должен быть равным расчетному току нагрузки:

I вст = I нагр (19.7)

Для двигателей с короткозамкнутым током ток плавкой вставки определяют по формуле:

(19.8)

где – пусковой ток электродвигателя, см. формулу (19.5);

α – коэффициент, учитывающий условия пуска двигателя.

При редких пусках и продолжительности разбега не более 10с

α = 2, 5; при тяжелых условиях пуска α = 1, 6…1, 8.

 

Полученное расчетное значение тока предохранителя и вставки округляют до ближайшего большего по шкале вставок значения (Приложение 29).

Затем выбирают тип плавкого предохранителя, руководствуясь правилом:

Iпред > Iвст. (19.9)

Пример 3. Выбрать предохранитель и его плавкую вставку для защиты однофазной группы осветительной сети, содержащей лампы накаливания общей мощностью 1, 5 кВт. Напряжение сети 220 В.

Р е ш е н и е:

Рабочий ток группы:

I = 1500/220 = 6, 82 А

Выбирают плавкую вставку предохранителя на ближайшее большее значение тока I вст = 10 А. Она подходит к предохранителям ПР-2 и НПН-15 на 15 А.

Пример 4. Выбрать предохранитель для защиты ответвления к двигателю типоразмера 4А10052УЗ мощностью Рн = 4, 0 кВт для работы в сети с напряжением U = 380В. Условия пуска легкие (α = 2, 5) кратность пускового тока ki = 7.

 

Р е ш е н и е:

1. Определяют номинальный ток электродвигателя Iн:

Iн = Рн /U

Iн = 4000/380 ≈ 11А

2. Определяют пусковой ток, потребляемый электродвигателем из сети в момент его пуска:

Iпуск = ki ·Iн

Iпуск = 7 · 11 = 77А

3. Находят расчетный ток плавкой вставки:

Iвст ≥ Iпуск

Iвст = 77/2, 5 = 30, 8А

Из Приложения 29 выбирают предохранитель НПН-60 с номинальным током 60А и к нему сменную плавкую вставку на 35А.

Контрольные вопросы:

1. По каким признакам подразделяются электроприводы?

2. Какие функции выполняет аппаратура управления? По каким признакам подразделяется?

3. Назначение, устройство и принцип действия рубильника.

4. Как устроен и работает пакетный выключатель?

5. Назначение и принцип работы электромагнитного контактора.

6. Как устроено и работает тепловое реле?

7. Назначение автоматического выключателя.

8. Назначение, устройство и принцип действия электромагнитного расцептиеля.

9. Назначение аппаратуры защиты. Какие устройства к ней относятся?

10. Устройство и принцип действия плавкого предохранителя.

11. Правила расчета и выбора теплового реле магнитного пускателя.

12. Правила расчета и выбора автоматического выключателя.

13. Правила расчета и выбора плавкой вставки и предохранителя в электрических цепях.

 


Поделиться с друзьями:

mylektsii.su - Мои Лекции - 2015-2026 год. (0.713 сек.)Все материалы представленные на сайте исключительно с целью ознакомления читателями и не преследуют коммерческих целей или нарушение авторских прав Пожаловаться на материал