Студопедия

Главная страница Случайная страница

КАТЕГОРИИ:

АвтомобилиАстрономияБиологияГеографияДом и садДругие языкиДругоеИнформатикаИсторияКультураЛитератураЛогикаМатематикаМедицинаМеталлургияМеханикаОбразованиеОхрана трудаПедагогикаПолитикаПравоПсихологияРелигияРиторикаСоциологияСпортСтроительствоТехнологияТуризмФизикаФилософияФинансыХимияЧерчениеЭкологияЭкономикаЭлектроника






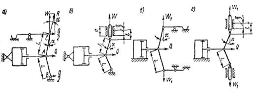
Двухрычажные шарнирные механизмы одностороннего действия






 

 

 

Рис. 33. Схемы двухрычажных шарнирных механизмов: а, б— одностороннего действия; в, г — двустороннего действия

 

Для реального механизма без плунжера (рис. 33, а)

где углом b как и ранее, учитываются потери на трение в шарнирах. В механизме с плунжером (рис. 33, б) кроме трения в шарнирах учитывается трение на плунжере, и формула принимает вид

где tgj2пр — приведенный коэффициент трения, которым учитываются потери на трение в консольном (перекошенном) плунжере,

где tgj2 — коэффициент трения скольжения в двухопорном (неперекошенном) плунжере; а — длина направляющей плунжера; l —расстояние от оси шарнира до середины направляющей плунжера.

Запас хода механизма в два раза больше, чем у однорычажного, и равен

S2 = 2L (1 — cosa).

Последнее объясняется тем, что точка С перемещается не только в результате спрямления рычагов, но и в результате смешения вверх точки А.

 

Двурычажные шарнирные механизмы двухстороннего действия

Эти механизмы можно рассматривать как спаренные однорычажные (рис. 33, ви г).


Поделиться с друзьями:

mylektsii.su - Мои Лекции - 2015-2026 год. (2.172 сек.)Все материалы представленные на сайте исключительно с целью ознакомления читателями и не преследуют коммерческих целей или нарушение авторских прав Пожаловаться на материал