Студопедия

Главная страница Случайная страница

КАТЕГОРИИ:

АвтомобилиАстрономияБиологияГеографияДом и садДругие языкиДругоеИнформатикаИсторияКультураЛитератураЛогикаМатематикаМедицинаМеталлургияМеханикаОбразованиеОхрана трудаПедагогикаПолитикаПравоПсихологияРелигияРиторикаСоциологияСпортСтроительствоТехнологияТуризмФизикаФилософияФинансыХимияЧерчениеЭкологияЭкономикаЭлектроника






Обратные гидроклапаны






Обратным гидроклапаном называется направляющий гидроаппарат, предназначенный для пропускания рабочей жидкости только в одном направлении. Они могут иметь различные запорно-регулирующие элементы: шариковый, конусный, тарельчатый или плунжерный.

В соответствии со своим назначением обратный клапан должен быть герметичным в закрытом положении, т.е. в исходном положении запорно-регулирующего элемента. Для достижения абсолютной герметичности в закрытом положении применяют обратные клапаны с двумя или тремя последовательно соединенными запорно-регулирующими элементами.

Пружина обратных клапанов нерегулируемая, ее сила натяжения должна обеспечивать лишь преодоление сил трения и инерцию, а также быстрое возвращение в исходное положение запорно-регулирующего элемента.

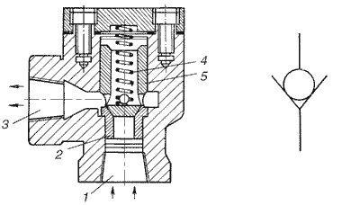
Рис.6.6. Обратный клапан типа Г51:
а - конструкция; б - условное обозначение

Обратный клапан Г51 (рис.6.6) имеет конусный запорно-регулирующий элемент 5. При подводе рабочей жидкости к отверстию 1 запорно-регулирующий элемент 5 поднимается над седлом 2, преодолевая силу натяжения пружины 4. Жидкость свободно проходит к отверстию 3. При изменении направления потока рабочей жидкости запорно- регулирующий элемент 5 прижат к седлу и блокирует отверстие 1.

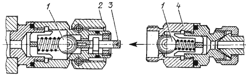
В гидросистемах многих мобильных машин обратные клапаны с шариковым рабочим органом применяют в блокировочном устройстве резиновых шлангов (рис.6.7).

Рис.6.7. Блокировочное устройство

Блокировочное устройство имеет подпружиненные шарики 1, которые при разъединении трубопроводов блокируют поток. При соединении труб путем навинчивания гайки 2 на штуцер 4 толкатель 3 отжимает шарики от их седел, позволяя жидкости свободно проходить через устройство.

В гидроприводе обратные клапаны применяют: как подпорные; для создания нерегулируемого противодавления в сливной магистрали гидродвигателя; для блокировки вертикально расположенного поршня от самопроизвольного опускания при выключенном приводе; для неуправляемого пропуска рабочей жидкости в одном направлении и управляемого в другом (совместно с дросселем); для исключения утечек жидкости из гидросистемы при демонтаже и т.д. Как конструктивный элемент обратный клапан включен в конструкцию разделительных панелей, напорных клапанов, дросселей и регуляторов потока, в золотники с гидравлическим управлением, в насосы и гидравлические двигатели, в гидрозамки и т.д.


Поделиться с друзьями:

mylektsii.su - Мои Лекции - 2015-2026 год. (0.997 сек.)Все материалы представленные на сайте исключительно с целью ознакомления читателями и не преследуют коммерческих целей или нарушение авторских прав Пожаловаться на материал