Студопедия

Главная страница Случайная страница

КАТЕГОРИИ:

АвтомобилиАстрономияБиологияГеографияДом и садДругие языкиДругоеИнформатикаИсторияКультураЛитератураЛогикаМатематикаМедицинаМеталлургияМеханикаОбразованиеОхрана трудаПедагогикаПолитикаПравоПсихологияРелигияРиторикаСоциологияСпортСтроительствоТехнологияТуризмФизикаФилософияФинансыХимияЧерчениеЭкологияЭкономикаЭлектроника






Дроссели и регуляторы расхода






Дроссели и регуляторы расхода предназначены для регулирования расхода рабочей жидкости в гидросистеме или на отдельных ее участках и связанного с этим регулирования скорости движения выходного звена гидродвигателя. Дроссели выполняются по двум принципиальным схемам.

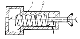
Рис.6.10. Линейный дроссель:
1 - корпус; 2 - винт

Линейные дроссели, в которых потери давления пропорциональны расходу жидкости. В таких дросселях потери давления определяются потерями давления по длине. Изменяя длину канала, по которому движется жидкость, можно изменить потери давления и расход через дроссель. Примером линейного дросселя служит гидроаппарат с дроссельным каналом (рис.6.10).

В этом дросселе жидкость движется по винтовой прямоугольной канавке, длину которой можно изменять поворотом винта. Площадь живого сечения и длину канала устанавливают из условия получения в дросселе требуемого перепада давлений и исключения засоряемости канала механическими примесями, содержащимися в рабочей жидкости. В таких дросселях за счет увеличения длины канала можно увеличить площадь его живого сечения, исключив тем самым засорения дросселя во время его работы.

Нелинейные дроссели характеризуются тем, что режим движения жидкости через них турбулентный, а перепад давлений практически пропорционален квадрату расхода жидкости, поэтому такие дроссели часто называют квадратичными. В них потери давления определяются деформацией потока жидкости и вихреобразованиями, вызванными местными сопротивлениями. Изменение перепада давления, а, следовательно, и изменение расхода жидкости через такие дроссели достигается изменением или площади проходного сечения, или числа местных сопротивлений.

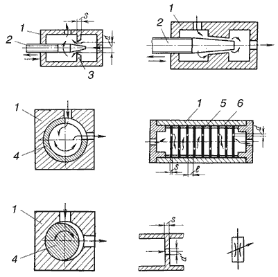
В регулируемых (рис.6.11, а, б, в, г) и нерегулируемых (рис.6.11, д, е) нелинейных дросселях длина пути движения жидкости сведена к минимуму, благодаря чему потери давления и расход практически не зависят от вязкости жидкости и изменяются только при изменении площади рабочего проходного сечения. Максимальную площадь устанавливают из условия пропуска заданного расхода жидкости через полностью открытый дроссель, минимальную - из условия исключения засоряемости рабочего окна.

В пластинчатых дросселях (рис.6.11, е) сопротивление зависит от диаметра отверстия, которое, однако, можно уменьшить лишь до определенного предела (dmin > 0, 5 мм), ограничиваемого засоряемости во время работы такого дросселя. Для получения большого сопротивления применяют пакетные дроссели с рядом последовательно соединенных пластин (рис.6.11, д). В таких дросселях расстояние между пластинами l должно быть не менее (3…5) d, а толщина пластин s не более (0, 4…0, 5) d.

Рис.6.11. Принципиальные схемы нелинейных дросселей:
а - игольчатого; б - комбинированного; в - пробкового щелевого;
г - пробкового эксцентричного; д - пластинчатого пакетного;
е - пластинчатого; ж - условное обозначение регулируемого дросселя;
1 - корпус; 2 - игла; 3 - диафрагма; 4 - пробка; 5 - пластина; 6 - втулка

Суммарное сопротивление пластинчатого дросселя регулируется подбором пластин, а перепад давления определяется по формуле

где γ - удельный вес жидкости; ζ - коэффициент местного сопротивления отверстия; n - число пластин; υ - средняя скорость потока жидкости в проходном отверстии пластины.

К нелинейным дросселям относятся также и комбинированные дроссели, в которых потери давления по длине и местные потери соизмеримы между собой по величине и в равной мере оказывают влияние на расход жидкости через дроссель (рис.6.11, б). На характеристику комбинированных дросселей влияет вязкость рабочих жидкостей. Поэтому такие дроссели целесообразно применять в гидросистемах, в которых температура рабочей жидкости изменяется в небольших пределах.

Для определения расхода жидкости через дроссель пользуются формулой

где ω - площадь проходного сечения дросселя; Δ P - перепад давлений у дросселя; μ - коэффициент расхода, зависящий от конструкции дросселя, числа Рейнольдса, формы и размеров отверстия [Лебедев, ГМЛП, стр.141-142, Навроцкий с.50].

Важной характеристикой дросселей является их равномерная и устойчивая работа при малых расходах. Однако устойчивая работа дросселя возможно при уменьшении площади до определенного предела, ниже которого расход становится нестабильным. Это объясняется облитерацией - заращиванием проходного отверстия.

Сущность облитерации заключается в том, что в микронеровностях узких каналов задерживаются и оседают твердые частицы, содержащиеся в рабочей жидкости. Если размеры частиц, загрязняющих жидкость, соизмеримы с размером рабочего окна, то может произойти полное его заращивание и прекращение расхода жидкости через дроссель. При увеличении площади рабочего окна расход жидкости восстанавливается.

Причиной облитерации рабочего окна может быть не только недостаточная очистка рабочей жидкости, но и адсорбция поляризованных молекул рабочей жидкости на стенках щели. Адсорбируемые молекулы образуют многорядный слой, толщина которого может достигать 10 мкм. Этот слой способен сопротивляться значительным нормальным и сдвигающим нагрузкам. В конечном итоге происходит постепенное уменьшение площади живого сечения рабочего окна, а при малых значениях и полное его заращивание. Соответственно уменьшается до нуля и расход жидкости через дроссель. При страгивании с места запорного элемента дросселя адсорбционный слой молекул разрушается, а первоначальный расход восстанавливается.

Поэтому, чтобы добиться малого расхода в ответственных гидросистемах, применяют специальные конструкции дросселей. В таких дросселях рабочему органу (игле, пробке, диафрагме и т.д.) сообщаются непрерывные вращательные или осциллирующие движения. Благодаря этим движениям на рабочей поверхности проходного окна дросселя не образуется слоя адсорбированных молекул и не происходит заращивание щели.

Рис.6.12. Проливочные характеристики
а - дросселя Г77-11; б - регулятора расхода Г55-21

Недостатком дросселей является неравномерность расхода, вызванная изменением перепада давлений у дросселя. На рис.6.12, а приведена проливочная характеристика дросселя Г77 11 Q = fP), из которой видно, что с изменением перепада давлений (вызванного, например, изменением нагрузки на гидродвигатель)

Рис.6.12. Проливочные характеристики
а - дросселя Г77-11; б - регулятора расхода Г55-21

Рис.6.12. Проливочные характеристики
а - дросселя Г77-11; б - регулятора расхода Г55-21

Для частичного или полного устранения неравномерности расхода применяют регуляторы расхода, в которых перепад давлений в дросселе Δ P во время его работы поддерживается примерно постоянным. Конструктивно этот аппарат состоит из последовательно включенных редукционного клапана и дросселя. Расход жидкости через регулятор устанавливается дросселем 1, а постоянство перепада давления на дросселе - редукционным клапаном 2 (рис.6.13). При увеличении расхода Q через дроссель увеличивается перепад давлений δ P=P1 - P2, который вызывает смещение вверх запорно-регулирующего элемента клапана. Проходное сечение уменьшается, и при этом расход на выходе из регулятора будет уменьшен.

Благодаря постоянству перепада давлений у дросселя расход жидкости через регулятор и скорость движения выходного звена гидродвигателя не изменяются при изменении нагрузки. Вид проливочной характеристики Q = fP) регулятора расхода Г55-21 приведен на рис.6.12, б, а его конструкция на рис.6.14.

При работе гидропривода вследствие изменения коэффициента расхода μ, вызванного колебаниями температры рабочей жидкости, расход через регулятор все же изменяется. Для серийных конструкций регуляторов это изменение составляет 10…12%.

 


Поделиться с друзьями:

mylektsii.su - Мои Лекции - 2015-2026 год. (8.598 сек.)Все материалы представленные на сайте исключительно с целью ознакомления читателями и не преследуют коммерческих целей или нарушение авторских прав Пожаловаться на материал