Студопедия

Главная страница Случайная страница

КАТЕГОРИИ:

АвтомобилиАстрономияБиологияГеографияДом и садДругие языкиДругоеИнформатикаИсторияКультураЛитератураЛогикаМатематикаМедицинаМеталлургияМеханикаОбразованиеОхрана трудаПедагогикаПолитикаПравоПсихологияРелигияРиторикаСоциологияСпортСтроительствоТехнологияТуризмФизикаФилософияФинансыХимияЧерчениеЭкологияЭкономикаЭлектроника






Обратная связь в усилителях.






Обратной связью в усилителях (ОС) называют передачу электрического сигнала с выхода усилителя на его вход (рис. 14).

Коэффициент передачи цепи обратной связи:

, (11)

который показывает, какая часть выходного сигнала передается на вход усилителя.

Рис. 14. Обратная связь в усилителях.

 

Коэффициент усиления по напряжению при отсутствии обратной связи:

(12)

Различают в усилителях положительную и отрицательную связь.

ОС называется положительной, если Uос совпадает по фазе с Uвх и суммируется с ним. Коэффициент усиления усилителя (13)

При ПОС коэффициент усиления увеличивается, но увеличиваются все виды искажений. ОС называется отрицательной, если Uос и Uвх находятся в противофазе и взаимно вычитаются.

(14)

При ОС коэффициент усиления уменьшается и уменьшает все виды искажений, увеличивает Rbx и стабилизирует работу схемы.

В зависимости от присоединение ОС к входу усилителя различают: ОС последовательную по напряжению (рис. 15А), последовательную по току (рис.15В), параллельную по напряжению (рис. 15Б), параллельную по току (рис.15Г) и последовательную комбинированную (рис.15д).

 

 

 

Рис. 15. Обратная связь в усилителях.

 

 

При проведении косвенных измерений для определения результирующей абсолютной погрешности необходимо пользоваться дифференциалами функций. Дифференциалы некоторых функций (< А) указаны в табл.1.

 

 

Таблица 1

Функция Δ А
y=x1+ x2 ±(Δ x1+ Δ x2)
y=x1- x2 ± (Δ x1+ Δ x2)
y=k* x ±k*Δ x
y=x1* x2 ± (x2*Δ x1+ x1*Δ x2)
y=x1/ x2 ± (x2*Δ x1+ x1*Δ x2)/ x22

 

 

При определении временных интервалов по оси абсцисс погрешность замеров на экране осциллографа составляет половину цены малого деления на координатной сетке.

 

4.Порядок выполнения работы 4.1. Моделирование

 

 

 

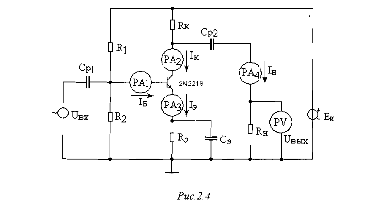
1. На экране дисплея с по помощью программы Multisim 10 cобрать схему ЭУ на БТ с ОЭ (рис.2.4).

 
 
Табл.2 2.1

Перевести все приборы в режим переменного тока.

 

 

2.Установить тип транзистора и значения всех элементов схемы, а также значе­ние и частоту входного сигнала в соответствии со своим вариантом (табл. 2). 3.Подключить к входу и выходу устройства электронный осциллограф.4.Включить программу Multisim 10, настроить осциллограф по значениям сигналов и их час­тоте и добиться нормальной работы устройства (появления усилительных свойств). 5.Провести измерение всех токов транзистора и напряжения на нагрузке на основной частоте (табл.2)и провести расчёт парам. согласно пунктам 6и7.

6.Найти коэффициент усиления, которые подразделяется на коэффициент усиления по на­пряжению , коэффициент усиления по току: и коэффициент усиления по мощности: 7.Определить в ходное и выходное сопротивления усилителя, которые соответственно равны: Rвх=Ubx/Ibx и Rвыx=Uвыx/lвыx.

8.Построить амплитудно-частотную характеристику(АХЧ).

Полученные данные занести в таблицу3.

Повторить аналогичные измерения при том же значении входного напряжения, изменяя подекадно его частоту.Все полученные данные занести в таблицу 4.

ПРИМЕР 1. Таблица3

Iвх mA Iб mA Iк mA Iэ mA Iн mA Uвых B Rвх э Rвых э Ku Ki Kp  
0, 147 0, 142 3, 88 3, 985 1, 94 1, 649 119, 7183 0, 425   13, 197 1280, 136  
                       
    ПРИМЕР2             Таблица 4.    
                     
частота сигнала кГц Uвх mB Iб mA Ik mA Iэ mA Iн mA Uвых B Iвх Ki Ku Kp
0, 045   0, 118 3, 877 3, 965 1, 939 1, 642 0, 184 10, 538 96, 58824 1017, 851
0, 45   0, 126 3, 896 3, 989 1, 948 1, 656 0, 131 14, 870 97, 41176 1448, 535
4, 5   0, 142 3, 88 3, 9855 1, 94 1, 649 0, 1477 13, 1977   1280, 1366
    0, 199 3, 79 3, 939 1, 895 1, 611 0, 205 9, 244 94, 76471 875, 9957
    0, 203 3, 789 3, 937 1, 894 1, 61 0, 209 9, 062 94, 70588 858, 2437
    0, 36 3, 736 3, 885 1, 868 1, 588 0, 365 5, 118 93, 41176 478, 0635
    1, 293 1, 859 2, 169 0, 929 0, 79 1, 299 0, 715 46, 47059 33, 23416
                           

 

 

ПРИМЕР 3.

Рис.2 Амплитудно-частотная характеристика усилителя(координаты графика-смотри в теоретической части рис.2)

 

ПРИМЕР 4.

Рис.3.ЭЛЕКТРИЧЕСКАЯ СХЕМА УСИЛИТЕЛЯ В СРЕДЕ EWB


Поделиться с друзьями:

mylektsii.su - Мои Лекции - 2015-2026 год. (2.187 сек.)Все материалы представленные на сайте исключительно с целью ознакомления читателями и не преследуют коммерческих целей или нарушение авторских прав Пожаловаться на материал