Студопедия

Главная страница Случайная страница

КАТЕГОРИИ:

АвтомобилиАстрономияБиологияГеографияДом и садДругие языкиДругоеИнформатикаИсторияКультураЛитератураЛогикаМатематикаМедицинаМеталлургияМеханикаОбразованиеОхрана трудаПедагогикаПолитикаПравоПсихологияРелигияРиторикаСоциологияСпортСтроительствоТехнологияТуризмФизикаФилософияФинансыХимияЧерчениеЭкологияЭкономикаЭлектроника






Определение вязкости рабочей жидкости, используемой для смазки компрессоров.






Для проведения испытаний применяют предварительно промытый и высушенный вискозиметр с пределами измерения, соответствующими ожидаемой вязкости масла. В лабораторной работе используется вискозиметр типа ВПЖ-2 (рис.1). Вискозиметр представляет собой U-образную трубку, в колено 1 которой впаян капиляр.

 

 

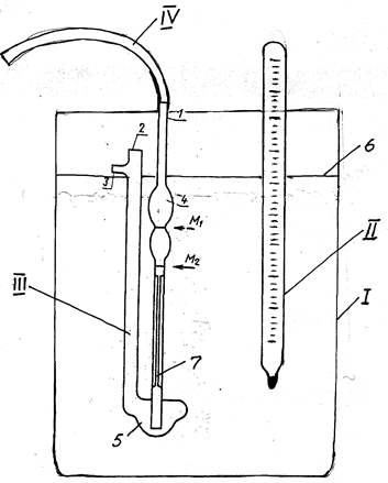
Рис.1. Вискозиметр типа ВПЖ-2.

 

Измерение вязкости основано на определении времени истечения через капиляр определённого объёма жидкости из измерительного резервуара.

При проведении испытаний при температурах выше температуры окружающей среды используются термостат или баня вискозиметра. В качестве бани используют любой прозрачный сосуд такой глубины, чтобы нефтепродукт, находящейся в вискозиметре, был погружен не менее чем на 20 мм ниже уровня жидкости в бане и не менее чем на 20 мм над дном бани. При температуре в бане от 0 до 1500С погрешность поддержания температуры составляет ï 0, 10С.

При определении кинематической вязкости вискозиметр заполняют испытуемым продуктом. Для этого на отводную трубку 3 надевают резиновую трубку. Далее, зажав пальцем колено 2 и перевернув вискозиметр, опускают колено 1 в сосуд с нефтепродуктом, который имеет требуемую температуру, и засасывают его (с помощью резиновой груши, водоструйного насоса или иным способом) до метки М2, следя за тем, чтобы в жидкости не образовались пузырьки воздуха. Вынимают вискозиметр из сосуда и быстро возвращают в нормальное положение. Снимают с внешней стороны конца колена 1 избыток жидкости и надевают на его конец резиновую трубку IV (рис. 2.) с грушей. Вискозиметр III устанавливают в термостат (баню) I, так чтобы расширение 4 было ниже уровня 6 жидкости. Требуемую температуру в термостате устанавливают, смешивая холодную и горячую воду, и замеряют термометром II. После выдержки вискозиметра

 

Рис.2. Схема прибора для определения кинематической вязкости жидкости.

 

в термостате не менее 15 мин засасывают жидкость из резервуара 5 через капиляр 7 примерно до 1/3 высоты расширения 4. Соединяют колено 1 с атмосферой и определяют время перемещения мениска жидкости от метки M1 до метки М2. Во время замера следят за постоянством температуры в термостате. Отсчёт времени записывают, а за-

меры повторяют не менее 4-х раз. Во внимание принимаются только те замеры, которые отличаются от среднего арифметического не более 0, 35% (для одного и того же вискозиметра, продукта и лаборанта).

Кинематическую вязкость n, мм2/с исследуемого продукта вычисляют по формуле

n=Кt,

где К -постоянная вискозиметра, мм22 (берётся из паспорта вискозиметра), t -время истечения продукта в вискозиметре, с.

 


Поделиться с друзьями:

mylektsii.su - Мои Лекции - 2015-2026 год. (2.218 сек.)Все материалы представленные на сайте исключительно с целью ознакомления читателями и не преследуют коммерческих целей или нарушение авторских прав Пожаловаться на материал