Студопедия

Главная страница Случайная страница

КАТЕГОРИИ:

АвтомобилиАстрономияБиологияГеографияДом и садДругие языкиДругоеИнформатикаИсторияКультураЛитератураЛогикаМатематикаМедицинаМеталлургияМеханикаОбразованиеОхрана трудаПедагогикаПолитикаПравоПсихологияРелигияРиторикаСоциологияСпортСтроительствоТехнологияТуризмФизикаФилософияФинансыХимияЧерчениеЭкологияЭкономикаЭлектроника






Типы электроприводов.






По конструктивному признаку можно выделить три основных типа Электропривод: одиночный, групповой и многодвигательный. Одиночный Электропривод применяют в ручных машинах, простых металлообрабатывающих и древообрабатывающих станках и приборах бытовой техники. Групповой, или трансмиссионный, Электропривод в современном производстве практически не применяется. Многодвигательные Электропривод - приводы многооперационных металлорежущих станков, мономоторный тяговый Электропривод рельсовых транспортных средств.

Электрический привод сменил паровую машину, которая приводила во вращение трансмиссию предприятия или отдельного цеха. Этот привод получил название группового.

 

Рис. 1.1. Групповой электропривод

 

Групповой электропривод применялся на первых этапах развития техники привода и обеспечивал движение исполнительных органов нескольких рабочих машин или нескольких исполнительных органов одной и той же машины. Передача механической энергии и ее распределение в этом случае осуществлялось от одного двигателя с помощью трансмиссий. Очевидные недостатки такого привода – громоздкость механических связей, сложность управления движением каждого исполнительного органа. Вследствие этого групповой электропривод в настоящее время почти не применяется.

 

 

Рис. 1.2. Групповой электропривод отдельных машин

 

Групповым электроприводом называется электропривод, при котором от одного электрического двигателя приводится в движение несколько рабочих машин или несколько исполнительных механизмов одной машины. Машины с групповым электроприводом до недавнего времени имели широкое распространение.

Управление законом движения исполнительных механизмов группового электропривода осуществляется механическими устройствами (управляемые муфты, коробки передач, фрикционы и т.д.). Последние имеют сложную кинематику, т.к. разработка, изготовление и обслуживание их требует больших затрат. Поэтому следующим шагом в развитии электропривода явилось создание индивидуального электропривода.

 

 

Рис. 1.3. Индивидуальный электропривод

 

В индивидуальном электроприводе управление движением каждого исполнительного органа обеспечивается отдельным двигателем, что упрощает механические передачи, облегчает управление движением, позволяет достичь более высоких энергетических показателей.

В последнем случае электропривод называется индивидуальным многодвигательным.

 

 

Рис. 1.4. Индивидуальный многодвигательный электропривод

В развитии электропривода переход к индивидуальному электроприводу означает качественный скачок, т.к. в этом случае кроме преобразования электрической энергии в механическую, электропривод осуществляет важную функцию управления технологическим процессом, приводимого в движение механизма.

Современный электропривод является индивидуальным автоматизированным электроприводом. Он включает в себя систему автоматического управления (САУ), которая в простейшем случае осуществляет пуск и останов электродвигателя, а в более сложных случаях управляет технологическим процессом приводимого в движение исполнительного механизма.

Мощность автоматизированного электропривода охватывает диапазон от нескольких долей ватта до десятков тысяч киловатт.

Автоматизированный электропривод делится на управляемый и неуправляемый, постоянного, переменного тока, транзисторный и тиристорный. В качестве регулируемого электропривода применялся электропривод постоянного тока. В последние годы значительные успехи в силовой преобразовательной технике привели к созданию надежных регулируемых транзисторных и тиристорных электроприводов переменного тока. Так как двигатели переменного тока имеют неоспоримые преимущества перед двигателями постоянного тока (они значительно дешевле, надежнее, имеют лучшие массогабаритные показатели и относительно простую конструкцию) в ближайшие годы ожидается бурное развитие управляемого электропривода переменного тока. Этому способствует широкое внедрение в управляемый электропривод микропроцессорной техники.

Стремление к упрощению кинематических цепей машин и механизмов привело к созданию безредукторных электроприводов, которые по сравнению с редукторными обладают большей надежностью и быстродействием, технологичнее в изготовлении. Предельно упрощает кинематику машин применение управляемого электропривода на базе линейных электрических машин постоянного и переменного тока. При этом создаются максимальные удобства для оптимального конструирования машин с поступательным движением рабочих органов.

 

 

Функциональные схемы управления электроприводами.

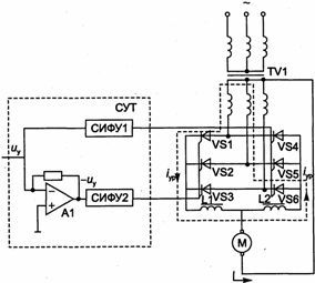
Функциональная схема электропривода с реверсивным выпрямителем с совместным управлением

 

 

Схема замещения силовой цепи электропривода с реверсивным выпрямителем с совместным управлением

 

 

Функциональная схема электропривода с реверсивным выпрямителем с раздельным управлением

 

 

Функциональная схема реверсивного электропривода с контактным реверсором в цепи якоря

 

 

Функциональная схема реверсивного электропривода с реверсивным выпрямителем в цепи возбуждения

 

 

 

Функциональная схема электропривода с двухзонным регулированием скорости

 

 

 

Силовая схема преобразователя с широтно-импульсным управлением

 

 

 

Функциональная схема реверсивного электропривода с мостовым ПШИУ

 


Поделиться с друзьями:

mylektsii.su - Мои Лекции - 2015-2026 год. (0.751 сек.)Все материалы представленные на сайте исключительно с целью ознакомления читателями и не преследуют коммерческих целей или нарушение авторских прав Пожаловаться на материал