Студопедия

Главная страница Случайная страница

КАТЕГОРИИ:

АвтомобилиАстрономияБиологияГеографияДом и садДругие языкиДругоеИнформатикаИсторияКультураЛитератураЛогикаМатематикаМедицинаМеталлургияМеханикаОбразованиеОхрана трудаПедагогикаПолитикаПравоПсихологияРелигияРиторикаСоциологияСпортСтроительствоТехнологияТуризмФизикаФилософияФинансыХимияЧерчениеЭкологияЭкономикаЭлектроника






Метод сравнения с частотой другого источника.






Основными методами измерения низких частот являются методы сравнения, заряда и разряда конденсатора, мостовые.

Методы сравнения. Простейшая схема для сравнения двух звуковых частот с помощью акустических биений показана на рис. 11.4. При частотах fx и f 0, значительно отличающихся одна от другой, в телефонах BF1 слышно два тона, звук изменяющейся интенсивности с частотой

fu = (fxf 0) при близких значениях fx и f 0 — биения, и звук одного тона при fx = f 0. Следовательно, измерения сводятся к получению сигнала биений, а затем устранению биений приближением f 0 к fx.

 
 

 


Нередко используются осциллографические методы сравнения частот (рис. 11.5). При выключенном напряжении развертки на вход вертикального усилителя осциллографа подают напряжение от образцового генератора G1, а на вход горизонтального отклонения — от генератора, частота колебаний которого измеряется. Возникающее на экране изображение носит название «фигуры Лиссажу» (рис. 11.6). Для определения соотношения между частотами мысленно пересекают получившуюся фигуру взаимно перпендикулярными прямыми и подсчитывают максимально возможное число пересечений фигуры с вертикальной осью пу и с горизонтальной осью пх. Из правила Лиссажу следует fxnx = fyny, где fx — частота сигнала, поданного на вход X, a fy — на вход У. Если fy известна, то fx легко определить из пропорции:

fX = f обр ny/nx.

Вид фигуры Лиссажу зависит не только от соотношения частот, но и от фазовых соотношений сигналов. Это затрудняет измерение изложенным методом при отношении частот более 5—7.

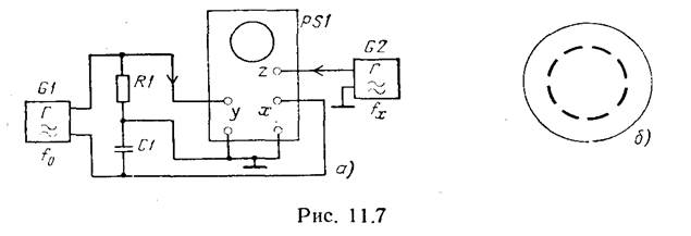
Более удобным вариантом осциллографического метода сравнения частот является метод модуляции яркости изображения с использованием круговой развертки (рис. 11.7). Напряжение образцовой частоты f 0 через фазосдвигающую цепь R1C1 поступает

 
 

 

 


на вертикальный и на горизонтальный входы осциллографа. Регулируя коэффициенты усиления усилителей осциллографа, получают на экране окружность — частный случай фигуры Лиссажу, так как частоты равны, а фазовый сдвиг постоянен и равен 90°.

Исследуемое напряжение подается на модулятор ЭЛТ (вход Z, рис. 11.7, а). При этом если частоты f 0 и fx относятся, как целые числа, то на экране получатся светящиеся дуги рис. 11.7, б. Число светящихся меток k = fx/f 0. Если fx < f 0, то источники этих частот следует поменять местами.

Погрешность измерения этими методами практически равна погрешности калибровки генератора, принятого за образцовый.

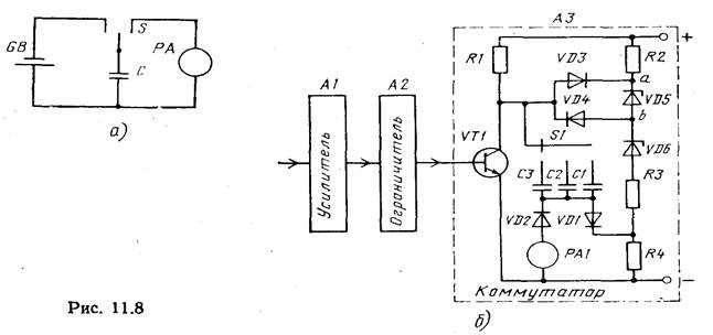
Метод заряда и разряда конденсатора. Принцип метода поясняется схемой, изображенной на рис. 11.8, а. Конденсатор С с помощью ключа S можно переключать на заряд от батареи или на разряд через магнитоэлектрический прибор РА. Если конденсатор заряжается до напряжения U1 а разряжается до U2 то заряд, получаемый конденсатором и соответственно отдаваемый в цепь гальванометра за один такт переключения

q = С (U1—U2) = CΔ U. Ток, протекающий через индикатор:

IСР = Δ q/Δ t = СΔ

где ƒ = 1/ Δ t — частота, с которой конденсатор переключается с заряда на разряд.

 
 

 


Таким образом, при заданных значениях С и Δ U ток, протекающий через прибор РА1 прямопропорционален частоте.

Измерительные приборы, основанные на рассмотренном принципе называются конденсаторными частотомерами. Упрощенная функциональная схема конденсаторного частотомера изображена на рис. 11.8, б. Входное устройство (А1) предназначено для согласования прибора с цепями, в которых производится измерение частоты. Первый каскад усилителя, как правило, —эмиттерный повторитель для обеспечения высокого входного сопротивления. Усилитель-ограничитель А2 формирует из измеряемого синусоидального сигнала напряжение, близкое к прямоугольному для обеспечения четкой работы транзистора коммутатора A3 в режиме ключа. Электронный коммутатор (A3) переключает выбранный конденсатор С1 ...СЗ с заряда на разряд. При закрытом транзисторе конденсатор заряжается от плюса источника через диод VD1, а разряжается через транзистор, VT1, диод VD2 и магнитоэлектрический прибор PA1 При заряде напряжение на конденсаторе не может быть больше, чем в точке а, так как если напряжение на конденсаторе превысит напряжение точки а, то откроется диод VD3 и потенциалы точек выравняются. При разряде напряжение на конденсаторе уменьшается, но не до нуля. Если напряжение на конденсаторе станет меньше напряжения в точке б, то откроется диод VD4 и потенциалы точек сравняются. Таким образом, изменение напряжения на конденсаторе Δ U стабильно и равно падению напряжения на стабилитроне VD5. Диод VD1 подключен к цепи резисторов R3R4 для компенсации начального тока диодов. Включение в схему нескольких конденсаторов разной емкости позволяет получить несколько поддиапазонов измерения.

Частотомеры этого типа используются на частотах от 10 Гц до 1 МГц, погрешность их 2...3 %. Для увеличения точности измерения частотомеры снабжаются внутренним калибровочным генератором образцовой частоты. Промышленным прообразом конденсаторного частотомера является прибор 43-7.

Мостовые методы. Если условие равновесия моста зависит от частоты приложенного напряжения, то такой мост можно применять в качестве частотомера. Одна из подобных схем (мост Вина) изображена на рис. 11.9.

Условие равновесия для нее имеет вид-

R1 1/[(1/R4) + jω C4] = R3[R2+(1/ jω C2)],

При R2 = R4 = R и С2 = С4 = С получим

(R1/R3) = (R2/R4) = (C4/C2) = 2 и

ω RC – (1/ ω RC) = 0, отсюда

ω = 1/RC – частота равновесия моста.

Шкала переменных резисторов, которыми добиваются баланса, может быть отградуирована непосредственно в единицах частоты. Погрешность измерения такими частотомерами достигает единиц процента.

Методы измерения высоких частот можно разделить на две основные группы: резонансные и сравнения.

Резонансные методы применяются практически на всех радиочастотах, отличаются простотой измерительных устройств, но характеризуются сравнительно невысокой точностью.

Метод сравнения радиочастот (метод нулевых биений) значительно точнее, но требует сложной измерительной аппаратуры. Используется в гетеродинных частотомерах.

 



Поделиться с друзьями:

mylektsii.su - Мои Лекции - 2015-2026 год. (1.301 сек.)Все материалы представленные на сайте исключительно с целью ознакомления читателями и не преследуют коммерческих целей или нарушение авторских прав Пожаловаться на материал