Главная страница
Случайная страница
КАТЕГОРИИ:
АвтомобилиАстрономияБиологияГеографияДом и садДругие языкиДругоеИнформатикаИсторияКультураЛитератураЛогикаМатематикаМедицинаМеталлургияМеханикаОбразованиеОхрана трудаПедагогикаПолитикаПравоПсихологияРелигияРиторикаСоциологияСпортСтроительствоТехнологияТуризмФизикаФилософияФинансыХимияЧерчениеЭкологияЭкономикаЭлектроника
|
В настоящем Каталоге приняты следующие
обозначения модификаций мотоблоков:
| Мотоблок «НЕВА»
| с двигателем
| | МБ-2-5, 5
| ДМ1Д
| | МБ-2К-6, 2
| ДМ1К
| | МБ-2К-7, 5
| ДМ1К-7, 5
| | МБ-2Б-5, 5
| INTEK 5, 5 HP OHV
| | МБ-2Б-6, 0
| I/C 6, 0
| | МБ-2Б-5, 5М
| I/С 5, 5
| | МБ-2Б-6, 5
| I/С 6, 5
| | МБ-2Т-6, 5
| GEO–TEС 65 OHV
| | МБ-2С-6, 0 PRO
| EX 17 Robin SUBARU
| | МБ-2С-7, 0 PRO
| EX 21 Robin SUBARU
| | МБ-2Б-6, 0 PRO
| VANGUARD 6, 0
| | МБ-2Б-6, 5 PRO
| VANGUARD 6, 5
| | МБ-2Б-7, 5 PRO
| VANGUARD 7, 5
| | МБ-2Н-5, 5
| HONDA GX200
|

Рис. 1
| Рис.№
| Поз.
| Наименование
| Обозначение/чертежный номер
| Кол.
| Примечание
| |
|
| Ограничитель
| 005.45.0116-01
|
|
| |
| Кронштейн
| 005.47.0165
|
|
| |
| Шкворень
| 005.47.0580
|
| доп. зам. на 005.47.1230
| |
| Стойка
| 005.47.0750
|
|
| |
| Шайба
| M10 DIN 127
|
| 10Т.65Г.016 ГОСТ 6402-70
| |
| Гайка
| М10 DIN 934
|
| М10-6Н.5.016 ГОСТ 5915-70
| |
| Крыло левое
| 005.47.0102-01
|
|
| |
| Гайка
| M6 DIN 934
|
| 6Ц ОСТ 133017-80
| |
| Шайба
| M6 DIN 9021
|
| А6.01.10.019ГОСТ 11371-78
| |
| Шайба
| M6 DIN 127
|
| 6.65Г.016 ГОСТ 6402-70
| |
| Болт
| M6× 16 DIN 933
|
| М6-6g× 16.58.016 ГОСТ 7798-70
| |
| Угольник левый
| 005.47.0210
|
|
| |
| Штырь
| 005.45.0380-01
|
|
| |
| Болт
| М8× 35 DIN 933
|
|
| | Болт
| М8× 40 DIN 933
|
| для МБ-2Б-7, 5 PRO; МБ-2К-6, 2; МБ-2К-7, 5
| | Болт
| М8× 45 DIN 933
|
| для МБ-2Н-5, 5
| |
| Шайба
| M8 DIN 125
|
|
| |
| для МБ-2Б-7, 5 PRO; МБ-2К-6, 2; МБ-2К-7, 5
| |
| Шайба
| M8 DIN 127
|
| для МБ-2Б-7, 5 PRO; МБ-2К-6, 2; МБ-2К-7, 5
| |
|
| |
| Гайка
| М8 DIN 934
|
| для МБ-2Б-7, 5 PRO; МБ-2К-6, 2; МБ-2К-7, 5
| |
|
| |
| Платформа
| 005.47.0055-01
|
| кроме МБ-2Б-7, 5 PRO; МБ-2К-6, 2; МБ-2К-7, 5
| |
| Болт
| М8× 20 DIN 933
|
| кроме МБ-2Б-7, 5 PRO; МБ-2К-6, 2; МБ-2К-7, 5
| |
| Болт
| М10× 75 DIN 933
|
| М10-6g× 75.58.016 ГОСТ 7798-70
| |
| Крыло правое
| 005.47.0102
|
|
| | Рис.№
| Поз.
| Наименование
| Обозначение/чертежный номер
| Кол.
| Примечание
| |
|
| Болт
| М10× 100 DIN 933
|
| М10-6g× 100.58.016 ГОСТ 7798-70
| |
| Угольник правый
| 005.47.0170
|
|
| |
| Шплинт
| HP 20044
|
|
| |
| Палец арт.260071 (ОСТ 37001163-75)
| 10× 65
|
|
| |
| Прокладка
| 005.47.0054
|
| для МБ-2Н-5, 5
| 
Рис. 2
| Рис.№
| № поз.
| Наименование
| Обозначение/чертежный номер
| Кол.
| Примечание
| |
|
| Руль правый
| 005.47.0430
|
| прим. с редуктором 005.47.0300-07 (005.47.0300-10)
| | 005.47.0430-01
|
| прим. с редуктором 005.47.0300-14
| |
| Провод
| 005.64.0040
|
| МБ-2Н-5, 5
| |
| Рукоятка
| LGP510.1321 (пластик)
|
| МБ-2Б-5, 5; МБ-2Б-5, 5М; МБ-2Б-6, 5; МБ-2Б-6, 0
| | LGAR070F.1321 (металл)
|
| др. модификации
| | 005.64.0030 (с остановом)
|
| МБ-2Н-5, 5
| |
| Болт
| из комп. пост. аксел.
|
| М6-6g× 50.58.016
| |
| Рукоятка
| 005.47.0127-02
|
|
| | 6**
| Рукоятка
| LASC55R00T
|
|
| | 7*
| Трос
| 005.81.0590-04
|
| прим. с редуктором 005.47.0300-14
| | 8*
| Рукоятка
| LABC7R00
|
| прим. с редуктором 005.47.0300-14
| |
| Руль левый
| 005.47.0460
|
|
| |
| Болт
| М8× 160 DIN 933
|
|
| |
| Хомут
| 005.47.0108
|
|
| | 14**
| Трос сцепления
| 005.47.1170-02
|
|
| |
| Болт
| М12× 80 DIN 931
|
| М12-6g× 80.58.016 ГОСТ 7798-70
| |
| Гайка
| М12 DIN 439
|
|
| |
| Шайба
| M12 DIN 127
|
| 12.65Г.016 ГОСТ 6402-70
| |
| Рулевая колонка
| 005.47.0610
|
|
| |
| Трос газа
| 005.47.1110
|
| МБ-2К-6, 2; МБ-2К-7, 5
| | 005.47.1110-02
|
| МБ-2Б-5, 5; МБ-2Б-5, 5М; МБ-2Б-6, 5; МБ-2Б-6, 0
| | 005.47.1120
|
| МБ-2Б-6, 0 PRO (дв-ль мод. 117); МБ-2Б-7, 5 PRO; МБ-2Н-5, 5
| | 005.47.1110-01
|
| МБ-2Б-6, 0 PRO(двигатель мод. 118); МБ-2Б-6, 5 PRO
| | 005.47.1120-01
|
| МБ-2С-6, 0 PRO; МБ-2С-7, 0 PRO
| |
| Ремешок крепежный jss 150× 3, 5
| 005.47.0134
|
|
| | Рис.№
| № поз.
| Наименование
| Обозначение/чертежный номер
| Кол.
| Примечание
| |
|
| Гайка крыльчатая
| WNM8 (King Exports)
|
| доп. зам. 005.50.0601
| |
| Гайка
| из комплекта поставки акселератора
|
| М6-6Н.58.016
| |
| Шайба
| из комплекта поставки акселератора
|
| А6.01.10.019
|
Примечание:
- *Для разобщения полуосей колес мотоблока с редуктором 005.47.0300-07 (005.47.0300-10) применяются детали:
– Рычаг управления 005.47.0107 – 1 шт;
– Болт М8× 45 DIN 933 (М8-6g× 45.58.016 ГОСТ 7798-70) – 1 шт;
– Гайка M8 DIN 934 (М8-6Н.5.016 ГОСТ 5915-70) – 1 шт;
– Крючок S-образный 005.47.0126 – 1 шт;
– Цепь 005.45.0140-01 – 1 шт;
– Пружина 005.47.0145 – 1 шт;
– Трос сцепления 005.47.0670-К (005.47.0670) – 1 шт.
- **В ранних модификациях мотоблоков МБ-2К-6, 2, МБ-2К-7, 5 и МБ-2Б-7, 5 PRO для сцепления применяются детали:
– Рычаг управления 005.47.0104 – 1 шт;
– Болт M8× 45 DIN 933 (М8-6g× 45.58.016 ГОСТ7798-70) – 1 шт;
– Гайка M8 DIN 934 (М8-6Н.5.016 ГОСТ 5915-70) – 1 шт;
– Крючок S-образный 005.47.0126 – 1 шт;
– Цепь 005.45.0140-01 – 1 шт;
– Направляющая 005.47.0182 – 1 шт;
– Трос сцепления 005.47.0101 – 1 шт.

Рис. 3
| Рис. №
| Поз.
| Наименование
| Обозначение/чертежный номер
| Кол.
| Примечание
| |
|
| Гайка
| М8 DIN 934
|
| М8-6Н.5.016 ГОСТ 5915-70
| |
| Шайба
| M8 DIN 127
|
| кроме МБ-2С-6, 0 PRO и МБ-2С-7, 0 PRO
| |
| др. модификации
| |
| Шайба
| M8 DIN 125
|
| А8.01.10.016 ГОСТ 11371-78
| |
| Планка
| 005.47.0144-02
|
|
| |
| Шайба стопорная
| А DIN 471 D20
|
|
| |
| Шайба (ОСТ 134506-80)
| 1-20-38Ц
|
|
| |
| Шкив ведомый
| 005.47.0760
|
|
| |
| Болт
| М8× 20 DIN 933
|
| МБ-2К-6, 2; МБ-2К-7, 5; МБ-2Б-5, 5; МБ-2Б-5, 5М; МБ-2Б-6, 5; МБ-2Б-6, 0 МБ-2С-6, 0 PRO; МБ-2С 7, 0 PRO
| |
| МБ-2Б-7, 5 PRO; МБ-2Б-6, 0 PRO; МБ-2Б-6, 5 PRO; МБ-2Н-5, 5
| |
| Шпонка
| 005.45.0209
|
|
| |
| Кожух ведомого шкива
| 005.45.0020
|
|
| |
| Логотип
| 005.47.0191
|
|
| |
| Щиток
| 005.47.1010-01
|
| 005.47.0990 щиток с логотипом
| |
| Болт
| М8× 16 DIN 933
|
| М8-6g× 16.58.016 ГОСТ 7798-70
| |
| Болт
| М8× 30 DIN 933
|
|
| |
| Шайба
| 005.45.0104
|
|
| |
| Шкив
| 005.47.0120
|
|
| |
| Болт
| DIN 933 5/16”× 7/8” UNF L=22 мм
|
| МБ-2Б-5, 5М; МБ-2Б-5, 5; МБ-2Б-6, 0; МБ-2Б-6, 5
| |
| МБ-2Б-6, 0 PRO; МБ-2Б-7, 5 PRO; МБ-2Н-5, 5; МБ-2Б-6, 5 PRO
| | из комплекта поставки двигателя
|
| МБ-2С-6, 0 PRO; МБ-2С-7, 0 PRO
| |
| Шайба
| DIN 440 М8 (Н=3 мм)
|
| МБ-2Б-5, 5; МБ-2Б-5, 5М; МБ-2Н-5, 5 МБ-2Б-7, 5 PRO; МБ-2Б-6, 0; МБ-2Б-6, 5; МБ-2Б-6, 0 PRO; МБ-2Б-6, 5 PRO
| | из комплекта поставки двигателя
|
| МБ-2С-6, 0 PRO; МБ-2С-7, 0 PRO
| | Рис. №
| Поз.
| Наименование
| Обозначение/чертежный номер
| Кол.
| Примечание
| |
|
| Шпонка
| 005.40.0414
|
| МБ-2К-6, 2; МБ-2Б-7, 5
| | 005.47.0147
|
| МБ-2Б-5, 5; МБ-2Б-5, 5М; МБ-2Б-6, 0 МБ-2Б-6, 0 PRO; МБ-2Б-6, 5; МБ-2Б-7, 5 PRO (Ø 19); МБ-2Н-5, 5; МБ-2Б-6, 5 PRO; МБ-2Б-6, 5
| | 005.47.0075
|
| МБ-2Б-7, 5 (Ø 25, 4)
| | из комплекта поставки двигателя
|
| МБ-2С-6, 0 PRO; МБ-2С-7, 0 PRO
| |
| Шкив
| 005.47.0514 или 005.47.0514-01
|
| МБ-2К-6, 2; МБ-2К-7, 5
| | 005.47.0514-04
|
| МБ-2Б-5, 5; МБ-2Б-5, 5М; МБ-2Б-6, 5; МБ-2Б-7, 5 PRO (Ø 19); МБ-2Б-6, 0; МБ-2С-6, 0 PRO (Ø 19); МБ-2Н-5, 5; МБ-2С-7, 0 PRO (Ø 19); МБ-2Б-6, 0 PRO; МБ-2Б-6, 5 PRO
| | 005.47.0514-05
|
| МБ-2С-6, 0 PRO (Ø 20); МБ-2С-7, 0 PRO (Ø 20)
| | 005.47.0514-07
|
| МБ-2Б-7, 5 PRO(Ø 25, 4)
| |
| Ремень
| А-45 13× 1143Li A1180Ld
|
| А1180
| |
| Пружина
| 005.47.0035-02
|
|
| |
| Стойка
| 005.47.0045-02
|
| МБ-2К-6, 2; МБ-2К-7, 5
| | 005.47.0045-03
|
| др. модификации
| |
| Ограничитель
| 005.47.0044
|
|
| | 28*
| Кронштейн
| 005.45.0070-03
|
|
| |
| Втулка
| 005.47.0061
|
|
| |
| Втулка
| 005.81.0196-01
|
| МБ-2Б-5, 5; МБ-2Б-5, 5М; МБ-2Б-6, 0; МБ-2Б-7, 5 PRO (Ø 19); МБ-2Б-6, 5; МБ-2С-6, 0 PRO (Ø 19); МБ-2Н-5, 5; МБ-2С-7, 0 PRO (Ø 19); МБ-2Б-6, 5 PRO; МБ-2Б-6, 0 PRO
| | 005.81.0142
|
| МБ-2Б-7, 5 PRO (Ø 25, 4)
| | 005.81.0196-04
|
| МБ-2С-6, 0 PRO(Ø 20); МБ-2С-7, 0 PRO(Ø 20)
| *В ранних модификациях мотоблоков МБ-2К-6, 2, МБ-2К-7, 5 и МБ-2Б-7, 5 PRO для сцепления применяются детали:
– Кронштейн 005.47.0070 – 1 шт;
– Пружина 005.45.0106 – 1 шт;

Рис. 4 (редуктор 005.47.0300-14 и 005.47.0300-15)
| Рис.№
| Поз.
| Наименование
| Обозначение/чертежный номер
| Кол.
| Примечание
| |
|
| Болт
| М8× 12 DIN 912
|
|
| |
| Прокладка
| 005.47.0227
|
|
| |
| Заглушка
| 005.47.0221
|
|
| |
| Штифт цилиндрический
| 8× 20 DIN 7
|
|
| |
| Плата
| 005.47.0345
|
|
| |
| Шайба
| M6 DIN 127
|
| 6Т.65Г.016 ГОСТ 6402-70
| |
| Болт
| М6× 10 DIN 933
|
| М6-6g× 10.58.016 ГОСТ 7798-70
| |
| Пружина
| 005.47.0332-02
|
| прим. с поз. 9
| |
| Пружина
| 005.47.0332
|
| прим. с поз. 8
| |
| Гайка
| M6 DIN 934
|
| 6-Ц ОСТ 133017-80
| |
| Рычаг
| 005.47.0337-01
|
| 005.47.0335-01
| |
| Ручка шаровая
| 005.47.0336
|
| Ручка шаровая, резьба М10× 1 ТУ 6-05-1538-77
| |
| Болт
| М8× 50 DIN 933
|
| М8-6g× 50.58.016 ГОСТ 7798-70
| |
| Гайка
| М8 DIN 985
|
|
| |
| Шайба
| М6× 18 DIN 9021
|
|
| |
| Гайка
| М6 DIN 985
|
|
| |
| Половина корпуса левая
| 005.47.0318-10
|
|
| |
| Половина корпуса правая
| 005.47.0317-10
|
|
| |
| Прокладка корпуса
| 005.47.0338
|
|
| |
| Болт
| М6× 30 DIN 933
|
| М6-6g× 30.58.05 ГОСТ 779870
| |
| Болт
| М8× 55 DIN 933
|
|
| |
| Кронштейн
| 005.47.0392-01
|
|
| |
| Винт
| М5× 10 DIN 7380
|
|
| |
| Рычаг
| 005.47.0379
|
|
| |
| Шайба
| М6 DIN 125
|
|
| |
| Болт
| М6× 30 DIN 933
|
|
| 
Рис. 5 (редуктор 005.47.0300-07 и 005.47.0300-10)
| Рис.№
| Поз.
| Наименование
| Обозначение/чертежный номер
| Кол.
| Примечание
| |
|
| Болт
| М8× 12 DIN 912
|
|
| |
| Прокладка
| 005.47.0227
|
|
| |
| Заглушка
| 005.47.0221
|
|
| |
| Штифт цилиндрический
| 8× 20 DIN 7
|
|
| |
| Плата
| 005.47.0345
|
|
| |
| Шайба
| M6 DIN 127
|
| 6Т.65Г.016 ГОСТ 6402-70
| |
| Болт
| М6× 10 DIN 933
|
| М6-6g× 10.58.016 ГОСТ 7798-70
| |
| Пружина
| 005.47.0332
|
|
| | 005.47.0332-02
|
|
| |
| Болт
| М6× 30 DIN 933
|
|
| |
| Гайка
| M6 DIN 934
|
| 6-Ц ОСТ 133017-80
| |
| Рычаг
| 005.47.0337-01
|
| 005.47.0335-01
| |
| Ручка шаровая
| 005.47.0336
|
| Ручка шаровая, резьба М10× 1 ТУ 6-05-1538-77
| |
| Болт
| М8× 50 DIN 933
|
| М8-6g× 50.58.016 ГОСТ 7798-70
| |
| Гайка
| М8 DIN 985
|
|
| |
| Шайба
| М6× 18 DIN 9021
|
|
| |
| Гайка
| М6 DIN 985
|
|
| |
| Половина корпуса левая
| 005.47.0318-01
|
| для ред. 005.47.0300-07
| | 005.47.0318-02
|
| для ред. 005.47.0300-10
| |
| Половина корпуса правая
| 005.47.0317-02
|
| для ред. 005.47.0300-07
| | 005.47.0317-03
|
| для ред. 005.47.0300-10
| |
| Прокладка корпуса
| 005.47.0338
|
|
| |
| Болт
| М6× 30 DIN 933
|
| М6-6g× 30.58.05 ГОСТ 779870
| 
Рис. 6 (редуктор 005.47.0300-14 и 005.47.0300-15)
| Рис.№
| Поз.
| Наименование
| Обозначение/чертежный номер
| Кол.
| Примечание
| |
|
| Блок-вал
| 005.47.0280
|
| Доп.зам. на 005.47.0280-06
| |
| Подшипник (ГОСТ 8338-75)
|
|
|
| |
| Блок-звездочки
| 005.47.0260
|
| Доп.зам. на 005.47.0260-05
| |
| Цепь 26 звеньев (ГОСТ 13568-75)
| Пр-12, 7-1820-2
|
|
| |
| Подшипник (ГОСТ 8338-75)
|
|
| 6-200
| |
| Звездочка
| 005.47.0229
|
|
| |
| Вал промежуточный
| 005.47.0309-03
|
|
| |
| Вал входной
| 005.47.0315-01
|
|
| |
| Вал переключения
| 005.47.0238
|
|
| |
| Колесо зубчатое
| 005.47.0228
|
|
| |
| Колесо зубчатое
| 005.47.0206
|
|
| |
| Вилка переключения
| 005.47.0246
|
| 005.47.0300-14
| | 005.47.0246-03
|
| 005.47.0300-15
| |
| Подшипник (ГОСТ 7242-81)
|
|
| 6-60204
| |
| Манжета
| 20× 35× 7
|
| II-1-20× 35-2 ГОСТ 8752-79
| |
| Палец (ОСТ 37.001.163-75)
| 8× 35
|
|
| |
| Пружина
| 005.47.0327
|
|
| |
| Вилка сцепления
| 005.47.0326-02
|
|
| |
| Кронштейн
| 005.47.0324
|
|
| |
| Болт
| М6× 14 DIN 933
|
| М6-6g× 14.58.016 ГОСТ 7798-70
| |
| Шайба
| М6 DIN 127
|
| 6.65Г.016 ГОСТ 6402-70
| |
| Подшипник (ГОСТ 7242-81)
|
|
| 6-60306
| |
| Ось левая
| 005.47.0293
|
|
| |
| Шплинт (ГОСТ 397-79)
| 2, 5× 20.019
|
|
| |
| Муфта сцепления
| 005.47.0298
|
|
| |
| Втулка
| 005.47.0308-01
|
| Доп.зам. на ПГГ.01.001.001
| |
| Ось правая
| 005.47.0270
|
| Доп. зам. 005.47.0270-01
| |
| Цепь 50 звеньев (ГОСТ 13568-75)
| 2Пр-15, 875-4540
|
|
| |
| Манжета
| 30× 52× 10
|
| II-1-30× 52-2 ГОСТ 8752-79
| | Рис.№
| Поз.
| Наименование
| Обозначение/чертежный номер
| Кол.
| Примечание
| |
|
| Кольцо (ГОСТ 288-72)
| СТ 41-29, 5-4
|
|
| |
| Тарелка
| 005.47.0217
|
|
| |
| Рычаг переключения передач
| 005.47.0390-01
|
| 005.47.0300-14
| | 005.47.0390-02
|
| 005.47.0300-15
| |
| Кольцо (ОСТ 100980-80)
| 017-020-10-2-013
|
|
| |
| Шайба
| 20-32-4 DIN 1440
|
|
| |
| Тяга
| 005.47.0375-01
|
|
| |
| Кольцо
| 8 DIN 471
|
| форма А – ЦКИ
| |
| Шайба
| 8× 16× 1, 6 DIN 125
|
|
| |
| Кольцо (ГОСТ 9833-73)
| 009-012-19
|
|
| |
| Вал
| 005.47.1970
|
|
| |
| Шайба
| М18 DIN 433
|
|
| 
Рис. 7 (редуктор 005.47.0300-07 и 005.47.0300-10)
| Рис.№
| Поз.
| Наименование
| Обозначение/чертежный номер
| Кол.
| Примечание
| |
|
| Блок-вал
| 005.47.0280
|
|
| |
| Подшипник (ГОСТ 8338-75)
|
|
|
| |
| Блок-звездочки
| 005.47.0260
|
|
| |
| Цепь 26 звеньев (ГОСТ 1356875)
| Пр-12, 7-1820-2
|
|
| |
| Подшипник (ГОСТ 8338-75)
|
|
| 6-200
| |
| Звездочка
| 005.47.0229
|
|
| |
| Вал промежуточный
| 005.47.0309-03
|
|
| |
| Вал входной
| 005.47.0315-01
|
|
| |
| Вал переключения
| 005.47.0238
|
|
| |
| Колесо зубчатое
| 005.47.0228
|
|
| |
| Колесо зубчатое
| 005.47.0206
|
|
| |
| Вилка переключения
| 005.47.0246
|
|
| |
| Подшипник (ГОСТ 7242-81)
|
|
| 6-60204
| |
| Манжета
| 20× 35× 7
|
| II-1-20× 35-2 ГОСТ 8752-79
| |
| Палец (ОСТ 37.001.163-75)
| 8× 35
|
|
| |
| Пружина
| 005.47.0327
|
|
| |
| Вилка сцепления
| 005.47.0326
|
|
| |
| Кронштейн
| 005.47.0324
|
|
| |
| Болт
| М6× 14 DIN 933
|
| М6-6g× 14.58.016 ГОСТ 7798-70
| |
| Шайба
| М6 DIN 127
|
| 6.65Г.016 ГОСТ 6402-70
| |
| Трос сцепления
| 005.47.0670-К
|
| 005.47.0670
| |
| Подшипник (ГОСТ 7242-81)
|
|
| 6-60306
| |
| Ось тяги
| 005.47.0209
|
| 005.47.0209-01
| |
| Ось левая
| 005.47.0293
|
|
| |
| Шплинт (ГОСТ 397-79)
| 2, 5× 20.019
|
|
| |
| Муфта сцепления
| 005.47.0298
|
|
| |
| Втулка
| 005.47.0308-01
|
|
| |
| Ось правая
| 005.47.0270
|
| 005.47.0270-01
| | Рис. №
| Поз.
| Наименование
| Обозначение/чертежный номер
| Кол.
| Примечание
| |
|
| Цепь 50 звеньев (ГОСТ 13568-75)
| 2Пр-15, 875-4540
|
|
| |
| Манжета
| 30× 52× 10
|
| II-1-30× 52-2 ГОСТ 8752-79
| |
| Кольцо (ГОСТ 288-72)
| СТ 41-29, 5-4
|
|
| |
| Тарелка
| 005.47.0217
|
|
| |
| Рычаг переключения передач
| 005.47.390-01
|
|
| |
| Кольцо (ОСТ 100980-80)
| 017-020-10-2-013
|
|
| |
| Шайба (ОСТ 1 34509-80)
| 2, 5-20-35Ан.Окс.
|
|
| 
Рис. 8
| Рис.№
| Поз.
| Наименование
| Обозначение/чертежный номер
| Кол.
| Примечание
| |
|
| Удлинитель
| 005.47.0560-03
|
| 005.47.0560-01; 005.47.0560-02; 005.47.0565
| |
| Колесо правое в сборе с шиной 4.00-10НС4 ГОСТ 7463-89
| 005.47.0130
|
| Взаимозаменяемо с поз.4, 6
| |
| Колесо левое в сборе с шиной 4.00-10НС4 ГОСТ 7463-89
| 005.47.0130-01
|
| Взаимозаменяемо с поз.5, 7
| |
| Колесо правое в сборе с шиной 4, 5× 10 ГОСТ 7463-89 или с шиной 4, 5× 10 мод.604В ТУ 05.01.050-2002
| 005.47.1240
|
| Взаимозаменяемо с поз.2, 6
| |
| Колесо левое в сборе с шиной 4, 5× 10 ГОСТ 7463-89 или с шиной 4, 5× 10 мод.604В ТУ 05.01.050-2002
| 005.47.1240-01
|
| Взаимозаменяемо с поз.3, 7
| |
| Колесо правое со ступицей 4, 5× 10
| 005.47.1290
|
| Взаимозаменяемо с поз.2, 4
| |
| Колесо левое со ступицей 4, 5× 10
| 00547.1290-01
|
| Взаимозаменяемо с поз.3, 5
| |
| Ступица
| 005.45.0430-01
|
| Взаим. с 005.45.0430
| |
| Болт
| M10× 25 DIN 933
|
| 10-22-Ц ОСТ 1.31102-80
| |
| Шайба
| M10 DIN 127
|
| 10Т.65Г.016 ГОСТ 6402-70
| |
| Гайка
| М10 DIN 934
|
| М10-6Н.5.016 ГОСТ 5915-70
| |
| Стопор
| SLPR 1038
|
| 005.45.0440
| |
| Диск правый
| 005.45.0422
|
|
| |
| Диск левый
| 005.45.0422-01
|
|
| 
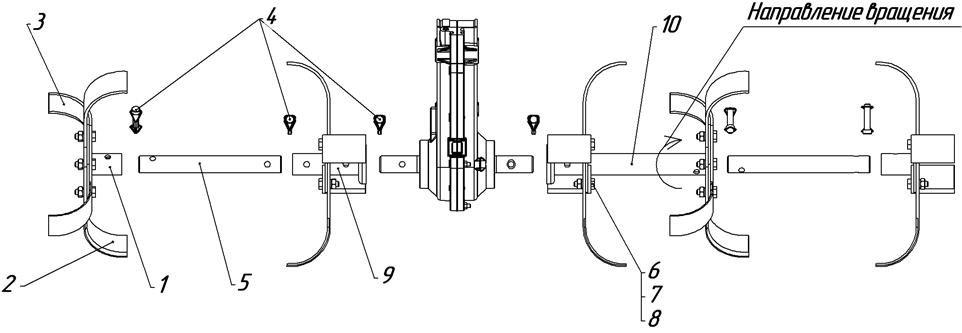
Рис. 9
| Рис.№
| Поз.
| Наименование
| Обозначение
| Кол.
| Примечание
| |
|
| Ступица
| 005.47.1810-01
| до 2
|
| |
| Нож левый
| 005.45.1402
| до 12
| Взаимозаменяем 005.45.1402-01
| |
| Нож правый
| 005.45.1403
| до 12
| Взаимозаменяем 005.45.1403-01
| |
| Стопор
| SLPR 1038
| до 10
| Взаимозаменяем 005.45.0440
| |
| Валик
| 005.47.1464
| до 4
|
| |
| Болт
| М10× 30 DIN 933
| до 24
| М10× 30 ГОСТ 7798-70
| |
| Гайка
| M10 DIN 934
| до 24
| 10Ц ОСТ 1.38017-80
| |
| Шайба
| M10 DIN 127
| до 24
| 10Т.65Г ГОСТ 6402-70
| |
| Ступица
| 005.45.1410-01
|
| Для редуктора 005.47.0300-10
| | Ступица
| 005.45.1410
|
| Для редуктора 005.47.0300-03
| |
| Ступица
| 005.47.0570-02
|
| Для редуктора 005.47.0300-10
| | Ступица
| 005.47.0570-01
|
| Для редуктора 005.47.0300-03
|
|