Студопедия

Главная страница Случайная страница

КАТЕГОРИИ:

АвтомобилиАстрономияБиологияГеографияДом и садДругие языкиДругоеИнформатикаИсторияКультураЛитератураЛогикаМатематикаМедицинаМеталлургияМеханикаОбразованиеОхрана трудаПедагогикаПолитикаПравоПсихологияРелигияРиторикаСоциологияСпортСтроительствоТехнологияТуризмФизикаФилософияФинансыХимияЧерчениеЭкологияЭкономикаЭлектроника






к курсовой работе






 

 

Студент гр. ____________ __________________________

/подпись/ /инициалы, фамилия/

 

Руководитель ……………………………………………

 

 

Тула 200 ___


Приложение В

(обязательное)

Таблица перечня элементов принципиальной

гидравлической схемы

 


Приложение Г

(обязательное)

Условные графические обозначения и соотношения размеров

элементов объемного гидропривода в гидравлических схемах

 

 

Линия связи: Условное обозначение
а) напора, слива, всасывания
б) управления
г) дренажные (отвод утечек)
Соединение линий связи
Перекрещивание линий связи (без соединения)
Подвод жидкости под давлением (без указания источника питания)
Слив жидкости из системы
Место сопротивления в линии связи с расходом:  
а) зависящим от вязкости рабочей жидкости
б) не зависящим от вязкости рабочей жидкости
Бак:  
а) под атмосферным давлением
б) с внутренним давлением выше атмосферного
в) с внутренним давлением ниже атмосферного давления (вакуумом)
Ячейка гидроаппаратуры

 

Продолжение приложения Г

Регулирующий орган: а) нормально закрытый б) нормально открытый
Клапан предохранительный а) с собственным управлением б) с внешним управлением
Фильтр для жидкости
Охладитель воздуха
Клапан обратный
Вентиль
Клапан обратный управляемый:  
а) односторонний
б) двусторонний
Насос с постоянной подачей: а) с постоянным направлением потока б) с реверсивным потоком

Продолжение приложения Г

Насос с регулируемой подачей: а) с постоянным направлением потока б) с реверсивным потоком
Гидромотор нерегулируемый: а) с постоянным направлением потока б) с реверсивным потоком
Гидромотор регулируемый: а) с постоянным направлением потока б) с реверсивным потоком
Цилиндр. Общее обозначение
Цилиндр одностороннего действия:  
а) без указания способа возврата штока
б) с возвратом штока пружиной
в) плунжерный
г) телескопический
Цилиндр двустороннего действия:  
а) с односторонним штоком
б) с двухсторонним штоком

 

Окончание приложения Г

в) телескопический
Цилиндр двухстороннего действия с подводом рабочей жидкости через шток
Цилиндр с постоянным торможением в конце хода:  
а) с одной стороны
б) с двух сторон
Измерительная аппаратура: а) манометр б) реле давления в) термометр г) термореле

 

Примечания:

1. Соотношение размеров условных обозначений ГОСТом не регламентируется.

2. Рекомендуется на схемах принимать размер а = 8 … 15 мм.


Приложение Д

(справочное)

 

Схемы исполнений реверсивных золотников с ручным управлением типа Г74-2

 

 

Схема исполнения Наименование схемы исполнения Типо-размер Условное обозначение
  Трехпозиционный реверсивный золотник с соединением на слив нагнетательной линии и обеих полостей цилиндра 14Г74-22; 14Г74-24; 14Г74-25
14БГ74-22; 14БГ74-24; 14БГ74-25
  Трехпозиционный реверсивный золотник с соединением нагнетательной линии с обеими полостями цилиндра и запертым сливом 24Г74-22; 24Г74-24; 24Г74-25
24БГ74-22; 24БГ74-24; 24БГ74-25
  Трехпозиционный реверсивный золотник с соединением нагнетательной линии с обеими полостями цилиндра и запертым сливом 34Г74-22; 34Г74-24; 34Г74-25
34БГ74-22; 34БГ74-24; 34БГ74-25
  Трехпозиционный реверсивный золотник с запертыми полостями цилиндра, нагнетательной линией и сливом 44Г74-22; 44Г74-24; 44Г74-25
44БГ74-22; 44БГ74-24; 44БГ74-25

 

Продолжение приложения Д

  Двухпозиционный реверсивный золотник 54Г74-22; 54Г74-24; 54Г74-25
54БГ74-22; 54БГ74-24; 54БГ74-25
  Трехпозиционный реверсивный золотник с соединением нагнетательной линии со сливом и запертыми полостями цилиндра 64Г74-22; 64Г74-24; 64Г74-25
64БГ74-22; 64БГ74-24; 64БГ74-25

 

При обозначении золотника указывается:

· на первом месте - цифра в соответствии со схемой исполнения;

· на втором месте - цифра, обозначающая число подключенных внешних линий;

· далее проставляются буквы в зависимости от присоединения и способа фиксации (Г - резьбовое присоединение трубопроводов и фиксированные позиции распределителя; БГ - резьбовое присоединение и автоматический возврат в нейтральное положение);

· последние четыре цифры указывают типоразмер золотника

 

 


Приложение Е

(справочное)

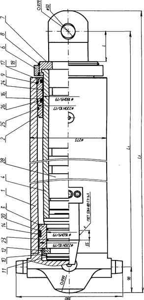
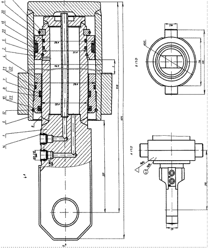
Примеры оформления чертежей гидроцилиндров

 

Двусторонний гидроцилиндр

с подводом рабочей жидкости через цилиндр


 

 

 

 

Двусторонний гидроцилиндр

с подводом жидкости через шток


 

Двусторонний гидроцилиндр с механическим удлинителем штока


 

 

Односторонний плунжерный гидроцилиндр

с сокращением штока внешней нагрузкой


 

Учебное издание

Беляев Владислав Владимирович

Голутвин Василий Андреевич

Подколзин Анатолий Алексеевич

Пискунов Олег Михайлович

 

Основы расчета и проектирования объемного
гидропривода поступательного действия

Учебное пособие

 

 

Подготовка оригинал макета - А.А. Подколзин

 

Изд. лиц. ЛР № 020300 от 12.02.97. Подписано в печать

Формат бумаги 60× 84 1/16. Бумага офсетная

Усл. печ. л. 4, 5. Уч.-изд. л. 4, 2.

Тираж экз. Заказ №

 

 

Тульский государственный университет

300600 г. Тула, просп. Ленина, 92

 

Отпечатано в редакционно-издательском центре

Тульского государственного университета.

300600, г. Тула, ул. Болдина, 151


* Здесь и ниже в обозначении распределителя в числителе дроби - число линий, в знаменателе - число позиций


Поделиться с друзьями:

mylektsii.su - Мои Лекции - 2015-2026 год. (1.349 сек.)Все материалы представленные на сайте исключительно с целью ознакомления читателями и не преследуют коммерческих целей или нарушение авторских прав Пожаловаться на материал