Студопедия

Главная страница Случайная страница

КАТЕГОРИИ:

АвтомобилиАстрономияБиологияГеографияДом и садДругие языкиДругоеИнформатикаИсторияКультураЛитератураЛогикаМатематикаМедицинаМеталлургияМеханикаОбразованиеОхрана трудаПедагогикаПолитикаПравоПсихологияРелигияРиторикаСоциологияСпортСтроительствоТехнологияТуризмФизикаФилософияФинансыХимияЧерчениеЭкологияЭкономикаЭлектроника






Фотодиоды. Фотодиодами называют полупроводниковые диоды, в которых осуществляется управление величиной обратного тока с помощью света






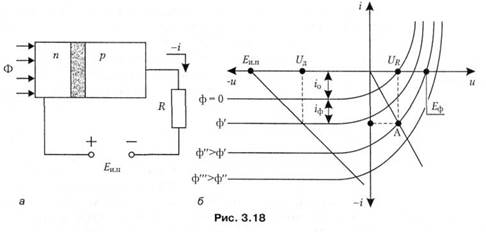
Фотодиодами называют полупроводниковые диоды, в которых осуществляется управление величиной обратного тока с помощью света. Фотодиод устроен так, что в нем обеспечивается доступ света к р-п -переходу. В отсутствие светового потока в фотодиоде при обратном напряжении существует небольшой обратный ток, называемый темновым током. При воздействии света в области р-п -перехода происходит генерация электронно-дырочных пар, и обратный ток возрастает. Если внешняя цепь разомкнута, то возникшие в результате генерации носители заряда накапливаются в п- и р- областях структуры, вследствие чего уменьшается ширина р-п -перехода и снижается высота потенциального барьера. В результате на зажимах фотодиода появляется фото-ЭДС, зависящая от величины светового потока. Устройство фотодиода и схема его включения показаны на рис. 3.18, а, а на рис. 3.18, б приведены его вольт-амперные характеристики. Фототок, возникающий в диоде под действием света, пропорционален величине светового потока:

Iф = SИНТ Ф.

Здесь SИНТ — интегральная чувствительность, характеризующая величину фототока, возникающего при облучении фотодиода потоком белого света яркостью в 1 лм.

 
 

Направление фототока совпадает с направлением теплового тока, то есть отрицательное.

Фотодиоды могут работать в одном из двух режимов: фотодиодном или фотогальваническом. В фотодиодном режиме на диод подают обратное напряжение. В этом режиме ток и напряжение определяются по пересечению нагрузочной линии с одной из вольт-амперных характеристик. При изменении светового потока изменяются ток в цепи и напряжение на диоде.

В фотогальваническом режиме внешний источник напряжения в цепи отсутствует. Режим работы определяется также по пересечению нагрузочной линии с соответствующей вольт-амперной характеристикой. В данном случае она проходит через начало координат. При R = 0 (короткое замыкание) нагрузочная линия совпадает с осью ординат, а при R = °° (обрыв цепи) она совпадает с осью абсцисс. По точкам пересечения вольт-амперных характеристик с осью напряжения можно определить фото-ЭДС при разных световых потоках. У кремниевых фотодиодов она составляет около 0, 5-0, 55 В.

Фотодиоды, работающие в фотогальваническом режиме, обычно называют полупроводниковыми фотоэлементами. Их используют для прямого преобразования световой энергии в электрическую. Оптимальным режимом для фотоэлементов является такой режим, когда в нагрузку передается наибольшая мощность. Такая мощность получается при условии, что площадь прямоугольника с вершиной в точке А, где пересекаются вольт-амперная характеристика и нагрузоч­ная линия, оказывается наибольшей. В этом случае напряжение на нагрузке составляет 0, 35-0, 4 В, а плотность тока — 15-20 мА/см2 при средней освещенности солнечным светом.

 


Поделиться с друзьями:

mylektsii.su - Мои Лекции - 2015-2026 год. (1.631 сек.)Все материалы представленные на сайте исключительно с целью ознакомления читателями и не преследуют коммерческих целей или нарушение авторских прав Пожаловаться на материал