Студопедия

Главная страница Случайная страница

КАТЕГОРИИ:

АвтомобилиАстрономияБиологияГеографияДом и садДругие языкиДругоеИнформатикаИсторияКультураЛитератураЛогикаМатематикаМедицинаМеталлургияМеханикаОбразованиеОхрана трудаПедагогикаПолитикаПравоПсихологияРелигияРиторикаСоциологияСпортСтроительствоТехнологияТуризмФизикаФилософияФинансыХимияЧерчениеЭкологияЭкономикаЭлектроника






Сечения по притворам окон и балконных дверей жилых зданий






1 - уплотняющая прокладка

Черт. 28

Сечение а б в Деталь
А1        
Б1        

Примечания:

1. Допускается размеры штапика уменьшать до 14´ 9 мм.

2. Толщину брусков внутренней коробки (кроме нижних) допускается уменьшать на 5 мм с соответствующим изменением габаритов коробки.

3. Ширину канавки в брусках наружной коробки допускается уменьшать до 8 мм.

1 - отверстие диаметром 10 мм для отвода воды

Черт. 29

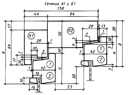
Сечение а б в Детали
А2          
Б2          

Черт. 30

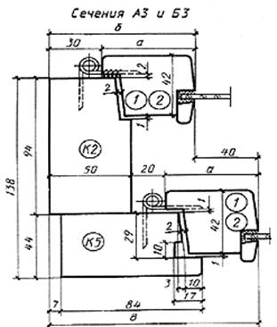
Сечение а б в Деталь
А3         К5
Б3         К5

1 - прорезь для отвода воды шириной 12 мм

Черт. 31

Сечение а б Деталь
А4            
Б4            

Черт. 32

Сечение а б в Деталь
А5        
Б5        

Черт. 33

1 - мягкая древесноволокнистая плита толщиной 12 мм по ГОСТ 4598-86; 2 - твердая древесноволокнистая плита марки Т группы А толщиной 3, 2-4 мм по ГОСТ 4598-86; 3 - шлифованная древесностружечная плита толщиной 16 мм по ГОСТ 10632-89; 4 - пергамин по ГОСТ 2697-83; 5 - обшивка типа О-2 по ГОСТ 8242-88; 6 - раскладка

Черт. 34

Черт. 35

Черт. 36


Поделиться с друзьями:

mylektsii.su - Мои Лекции - 2015-2026 год. (1.829 сек.)Все материалы представленные на сайте исключительно с целью ознакомления читателями и не преследуют коммерческих целей или нарушение авторских прав Пожаловаться на материал