Студопедия

Главная страница Случайная страница

КАТЕГОРИИ:

АвтомобилиАстрономияБиологияГеографияДом и садДругие языкиДругоеИнформатикаИсторияКультураЛитератураЛогикаМатематикаМедицинаМеталлургияМеханикаОбразованиеОхрана трудаПедагогикаПолитикаПравоПсихологияРелигияРиторикаСоциологияСпортСтроительствоТехнологияТуризмФизикаФилософияФинансыХимияЧерчениеЭкологияЭкономикаЭлектроника






Фундаменты (сооружения нулевого цикла)






 

Надежность и долговечность зданий и сооружений в первую очередь зависит от фундамента. Поэтому к фундаменту предъявляются повышенные требования по прочности, устойчивости, морозостойкости, а также он должен сопротивляться воздействию грунтовых вод. При этом фундамент должен быть экономичным и индустриальным, его стоимость не должна превышать 10% стоимости здания, вес – 20% общего веса конструкции, а трудоемкость – 15% полных трудовых затрат.

По роду материала фундаменты могут быть бутовыми, бутобетонными, бетонными, железобетонными. В редких случаях также применяют металлические и деревянные фундаменты (деревянные или металлические сваи).

Бутовые фундаменты представляют собой кладку из бутового камня на сложном или цементном растворе с обязательной перевязкой (несовпадением) вертикальных швов (промежутков между камнями, заполняемых раствором).

Бутобетонные фундаменты обычно выполняют в деревянном опалубке (форме) из бетона класса не ниже В7, 5 (с включением в его толщу в целях экономии бетона кусков бутового камня). Бутовые и бутобетонные фундаменты неиндустриальны, трудоемки и применяются в районах, где бутовый камень является местным материалом.

Бетонные и железобетонные фундаменты могут быть монолитными и сборными из элементов заводского изготовления. Последние в настоящее время имеют наибольшее распространение, так как себестоимость их даже с учетом затрат на заводское изготовление ниже монолитных бетонных, а особенно бутовых, фундаментов.

По характеру работы под нагрузкой фундаменты подразделяются на жесткие, способные воспринимать лишь сжимающие напряжения, и гибкие, работающие на сжатие, изгиб и скалывание. К жестким относят бутовые, бутобетонные и бетонные фундаменты, к гибким – железобетонные.

В зависимости от конструктивной схемы и передаваемой нагрузки фундаменты бывают: столбчатые, ленточные, сплошные, свайные (рис. 4.3).

Столбчатые фундаменты представляют собой системы столбов и фундаментных балок под отдельно стоящими опорами (колоннами, столбами), а иногда и под стенами. Столбчатые фундаментыобычно применяют при небольших нагрузках (малоэтажные дома без подвалов), для каркасных зданий, а также в зданиях большой этажности при значительной глубине заложения фундаментов (4–5 м), когда устройство ленточного фундамента нецелесообразно из-за большого расхода строительных материалов.

Рис. 4.3. Конструктивные схемы фундаментов: а – столбчатые; б – ленточные;

в – сплошные; г – свайные: 1 – стена; 2 – железобетонная фундаментная балка;

3 – столбчатый фундамент; 5 – отмостка; 6 – железобетонная фундаментная плита; 7 – ростверк; 8 – сваи

 

Фундаментные столбы могут быть бутовыми, бутобетонными, бетонными, железобетонными. В состав столбчатых фундаментов входят: плитная часть из одной или нескольких ступеней; подколонник с углублением (стаканом) для установки колонн (рис. 4.4).

Рис. 4.4. Столбчатые фундаменты: а – под наружные стены; б – монолитные под столбы; в, г – из железобетонного блока-подушки и блока плиты;

д – из железобетонного башмака стаканного типа; е – из железобетонного

блока-стакана и опорной плиты: 1 – железобетонная фундаментная балка;

2 – подсыпка; 3 – отмостка; 4 – гидроизоляция; 5 – кирпичный столб;

6 – блоки-подушки; 7 – железобетонная плита; 8 – железобетонная колонна;

9 – башмак стаканного типа; 10 – плита под башмак; 11 – блок-стакан

По конструктивному решению столбчатые фундаменты могут быть монолитными, возводимыми на месте строительства в опалубке, и сборными, изготовленными на заводе.

Под кирпичные столбы фундаменты выполняют из железобетонных плит, уложенных одна на другую, или в виде ступенчатых опор из природного камня.

Столбчатые фундаменты под несущими стенами здания устанавливают в углах, в местах примыкания и пересечения стен, а на протяженных участках – через 3–6 м.

Поверх опор столбчатых фундаментов укладывают железобетонные балки, передающие нагрузку от стен на фундаменты. Сборные фундаменты устанавливают на песчаную подушку толщиной 0, 1–0, 15 м. На пучинистых грунтах под фундаментную балку устраивают слой песка или сыпучего утеплителя (керамзита или шлака) толщиной 0, 5–0, 6 м.

Ленточные фундаменты представляют собой конструкцию, являющуюся продолжением несущих стен здания и располагаемых по всей длине наружных и внутренних несущих стен. В отдельных случаях такие фундаменты могут располагаться и под рядами колонн.

Ленточные фундаменты в поперечном сечении бывают прямоугольными, трапецеидальными, ступенчатыми, прямоугольными с подушкой (рис. 4.5). Ленточные фундаменты передают нагрузку на основание равномерно, что особенно важно при слабых и неоднородных по сжимаемости грунтах, а также просадочных макропористых грунтах. В Западной Сибири такой вид фундамента является наиболее широко применяемым для малоэтажных зданий.

Рис. 4.5. Ленточные фундаменты: а – бутобетонные прямоугольные;

б – бетонные трапецеидальной формы; в – бутовый ступенчатый;

г – сборный железобетонный из блоков; д – то же из крупных панелей:

1 – обрез; 2 – уступ; 3 – отмостка; 4 – гидроизоляция

Ширину подошвы фундамента определяют расчетом, ширина поверху должна быть больше ширины стены на 10–12 см, необходимо также с каждой стороны оставлять обрезы. Трапеция является оптимальной теоретической формой поперечного сечения фундамента с уширенной подошвой. При пологом наклоне граней в теле трапецеидального фундамента возникают большие растягивающие и скалывающие напряжения, которые приводят к образованию трещин. Поэтому при применении для фундамента бута, бутобетона и бетона – материалов, слабо сопротивляющихся изгибу, устраивают жесткие фундаменты, в которых соотношения Н: К для бутовой кладки и бутобетона должно составлять 1, 5–2, 0, для бетона 1, 35–1, 75. Если требуется заложить ленточный фундамент небольшой глубины с уширенной подошвой, применяют железобетонные гибкие фундаменты.

Железобетонные фундаменты могут быть как монолитного, так и сборного варианта. В обоих случаях производится расчет на прогиб подушки, в которой устраивается арматурная сетка.

Наиболее индустриальными и прогрессивными являются сборные фундаменты. Сборные ленточные фундаменты обычно выполняют из железобетонных блоков-подушек и вертикальных стенок заводского изготовления (рис. 4.6). Вертикальная стенка может быть выполнена из сплошных или пустотелых блоков, рам или панелей. При таком способе производства работ снижаются трудовые затраты, облегчается работа в зимнее время. Блоки-подушки укладываются непосредственно на выровненную поверхность грунта основания или на песчаную подготовку толщиной 100–150 мм. Фундаментные бетонные блоки укладываются на растворе с обязательной перевязкой вертикальных швов. Толщина швов принимается равной 20 мм, вертикальные колодцы, образующиеся торцами блоков, тщательно заполняются раствором. Связь между сборными фундаментами продольных и поперечных стен осуществляется перевязкой блоков и закладкой в горизонтальные швы арматурных стальных сеток.

Сборные ленточные фундаменты в соответствии с расчетом необходимой площади могут устраиваться непрерывными, прерывистыми и без подушек. Последние два варианта дают экономию в материалах за счет снижения затрат на блоки-подушки.

При необходимости обеспечить независимую осадку двух несмежных участков здания устраивают осадочные швы, т.е. сквозные зазоры. Для беспрепятственной осадки в зазоры вставляют доски, обернутые толем, заполняют битумом или другим органическим вяжущим.

Рис. 4.6. Сборные железобетонные ленточные фундаменты: а – из крупных блоков; б – то же с прерывистой подушкой; в – рамный; г – панельный;

д – схема соединения элементов: 1 – бетонные блоки; 2, 4 – фундаментные

подушки; 3 – рамы; 5 – панели; 6 – фундаментные ребристые плиты;

7 – соединения из монолитного бетона

 

Для отвода от фундамента и цоколя атмосферных осадков служат отмостки или тротуары (рис. 4.3, 4.5, 4.7). Для предохранения стен от капиллярной влаги, поднимающейся по порам в массиве фундамента и цоколя из влажного грунта, а также от затопления подвалов подземными водами применяют горизонтальную и вертикальную гидроизоляцию фундаментов и стен подвалов: обмазочную, оклеечную и жесткую (рис. 4.7).

Обмазочная изоляция представляет собой пленку битума или мастики (битумной, дегтевой, пластиковой и др.), наносимую на изолируемую поверхность кистью в расплавленном или холодном состоянии.

 

Рис. 4.7. Конструкции гидроизоляции стен подвалов: а – при напоре грунтовых вод менее 200 мм; б – при напоре 200–1000 мм; в – при напоре более 1000 мм:

1 – рулонная гидроизоляция; 2 – окрасочная гидроизоляция горячим битумом за два раза; 3 – оклеечная гидроизоляция; 4 – защитная стенка из кирпича;

5 – стеклоткань; 6 – деформационный шов; 7 – глина; 8 – пол подвала;

9 – стяжка; 10 – железобетонная плита; 11 – пригрузочный слой из бетона;

12 – подготовка; 13 – отмостка

 

Оклеечную изоляцию устраивают из гибких рулонных материалов (рубероид, пергамин, гидроизол, металлоизол, борулин, полиэтилен, полиакрил и т.д.), приклеиваемых к поверхности мастикой.

Жесткая изоляция выполняется из цементного раствора, который наносится на изолируемую поверхность под давлением (торкретированием).

Горизонтальную гидроизоляцию наружных стен при отсутствии подвала укладывают в цоколе на уровне бетонной подготовки под полы на 15–20 см выше отмостки или тротуара.

Конструкция гидроизоляции в подвальных помещениях зависит от уровня грунтовых вод. Если уровень грунтовых вод ниже пола подвала, то от капиллярной влаги (грунтовой сырости) применяют горизонтальную и вертикальную гидроизоляцию.

Горизонтальная гидроизоляция выполняется из двух слоев рубероида или толя, склеенных битумной или дегтевой мастикой, или из слоя цементного раствора (состав: 1 часть цемента к 2 частям песка, с добавкой церезита) толщиной 20–30 мм, укладываемого непрерывно по всей толщине наружных и внутренних стен на уровне пола подвала, который также делают из материала, не пропускающего влагу, – асфальта, бетона, глинобетона и др. Вертикальная гидроизоляция осуществляется тщательной окраской наружных поверхностей стен подвала, соприкасающихся с грунтом, горячим битумом. Рекомендуется также дополнительное устройство глиняного замка из слоя мягкой увлаженной глины.

Нижняя плоскость ленточного и столбчатого фундамента, опирающаяся на основание, называется подошвой фундамента. Расстояние от спланированной поверхности земли до уровня подошвы называется глубиной заложения фундамента. Последняя зависит от глубины залегания грунта, способного служить надежным основанием (но не менее 0, 5 м), наличия подвала, вида грунтов основания, глубины промерзания грунтов, температурного режима внутри здания, а также глубины залегания грунтовых вод. В зданиях с подвалом глубина заложения фундамента должна быть не выше уровня его пола. Размеры фундамента: площадь подошвы, глубину заложения – определяют по СНиП 2.02.01–83* «Основания зданий и сооружений».

Сплошные фундаменты в виде монолитных железобетонных ребристых или безбалочных плит устраивают под всей площадью здания в тех случаях, когда на фундамент действует значительная нагрузка, а грунты основания очень слабые, с неравномерной просадочностью, или когда необходимо защитить подвал от проникновения грунтовых вод при высоком их уровне (рис. 4.8).

Рис. 4.8. Сплошные фундаменты:

а – безбалочный; б – с ребристой плитой

 

Такой вид фундамента отличается высокой надежностью, поэтому, несмотря на высокую стоимость, в последние годы широко применяется для зданий повышенной этажности.

Свайный фундамент представляет собой конструкцию, состоящую из свай, погруженных в грунт и объединенных поверху плитой – ростверком (рис. 4.3, г). Иногда для объединения свай используют нижнюю часть стен (безростверковый фундамент).

Такие виды фундаментов применяются при необходимости передачи на слабый грунт значительных нагрузок, а также при стремлении сократить величину осадки и добиться ее равномерности даже при наличии грунтов с высокой несущей способностью.

Сваи различают:

- по характеру работы: сваи-стойки (материковые) и висячие сваи (рис. 4.9);

- материалу: деревянные, бетонные, железобетонные, металлические (рис. 4.10);

- способу изготовления и погружения их в грунт: забивные, погружаемые ударным способом или вибрированием; завинчивающиеся; набивные – бетонируемые на месте при заполнении специально подготовленных скважин.

Рис. 4.9. Схемы свайных фундаментов: а – сваи-стойки; б – висячие сваи;

в – свайный фундамент с наклонными боковыми сваями и надземным ростверком

 

Сваи-стойки опираются своими концами на прочный (материковый) грунт и передают на него большую часть нагрузки. Такие сваи целесообразны, когда глубина залегания прочного грунта не превышает возможной длины сваи (порядка 6–9 м). Фундаменты на сваях-стойках почти не дают осадки.

При значительной глубине залегания прочных грунтов применяют висячие сваи, которые оказывают сопротивление давлению от здания главным образом благодаря возникновению сил трения между боковой поверхностью сваи и окружающим ее грунтом.

Сваи под подошвой фундамента располагают обычно группами или рядами (под несущими стенами – в один или два ряда). Одиночными называют сваи, размещенные изолированно или на расстоянии более ¼ их длины.

 

Рис. 4.10. Виды свай: а – железобетонная сплошная прямоугольного сечения;

б – железобетонная свая-оболочка; в – набивная бетонная; г – металлическая завинчивающаяся: 1 – арматура; 2 – плотный грунт; 3 – стыковые крепления;

4 – лопасти

 

Группа свай под фундаментом называется свайным кустом, а сваи, расположенные в один или несколько рядов, образуют свайную полосу. Верхние концы свай объединяют в конструкцию при помощи бетонной или железобетонной плиты – ростверка.

При возведении бесподвальных зданий целесообразно применять свайные фундаменты вместо сборных из крупных блоков даже при благоприятных грунтовых условиях, позволяющих принять нормативное давление грунта до 0, 2 МПа. Применение свайных фундаментов позволяет значительно сократить объем земляных работ, уменьшить размеры фундамента и, следовательно, снизить стоимость их возведения. Глубину заложения, количество и конструкцию свайного фундамента назначают в соответствии со СНиП 2.02.03–85 «Свайные фундаменты».

Стены

4.3.1. Основные требования, предъявляемые к стенам

 

Архитектурная выраженность здания, его долговечность и комфортабельность внутренних помещений во многом зависят от конструкции стен. Стены зданий должны удовлетворять следующим основным требованиям:

статическим – быть прочными и устойчивыми;

противопожарным – в зависимости от степени огнестойкости здания иметь группу возгораемости и предел огнестойкости не ниже нормативных [4, 5];

теплотехническим – обеспечивать внутри помещений необходимый температурно-влажностный режим;

акустическим – обладать достаточными для ограждаемых помещений звукоизолирующими свойствами;

специальным, зависящим от назначения ограждаемых помещений;

экономическим – иметь конструкцию, допускающую возведение стен индустриальными методами при наименьших трудовых и денежных затратах; при удовлетворении всем техническим требованиям иметь на 1 м2 поверхности минимальные вес и стоимость. Толщина стен также должна быть по возможности меньшей, однако не менее некоторого предела, определяемого расчетами.

Стены классифицируют по условиям работы и материалу, применяемому для возведения. Оба этих показателя зависят от конструктивной и строительной систем и были рассмотрены ранее.

4.3.2. Архитектурно-конструктивные элементы и детали стен

Для придания фасадам зданий определенных пропорций, масштабности, а также архитектурной выразительности прибегают к горизонтальному (цоколь, пояски, карнизы) и вертикальному (пилястры, раскреповки) членению поверхностей стен. При этом выделяют следующие основные элементы стен: цоколь, карнизы, проемы, откосы, перемычки, пилястры, температурные и осадочные швы, парапет, контрфорс, фронтон, балкон, эркер и лоджии (рис. 4.11).

Рис. 4.11. Архитектурно-конструктивные элементы стен:

1 – цоколь; 2 – кордон; 3 – главный карниз; 4 – промежуточный карниз;

5 – подоконный поясок; 6 – сандрик; 7 – оконный проем; 8 – простенок

рядовой; 9 – простенок угловой; 10 – перемычка; 11 – ниша; 12 – обрез стены; 13 – раскреповка; 14 – пилястра; 15 – полуколонна; 16 – контрфорс;

17 – парапет; 18 – фронтон; 19 – горизонтальный карниз фронтона;

20 – деформационный шов; 21 – дверной проем

Цоколь – нижняя, обычно утолщенная, надземная часть наружной стены, защищающая ее от увлажнения и случайных механических повреждений. Цоколь является важным архитектурным элементом: образуя основу здания, придает ему зрительно и конструктивно большую устойчивость.

Карнизы – верхние горизонтальные профилированные выступы, предназначенные для предохранения стен от увлажнения стекающей с крыши дождевой или талой водой. Кроме венчающего, часто устраивают промежуточные карнизы, которые делят фасад по горизонтали. С той же целью над окнами устраивают небольшие карнизы, называемые сандриками, а по плоскости стены – пояски, напоминающие ленты, горизонтально вытянутые по стене.

Проемы – крупные отверстия, оставляемые при сооружении стен для окон, дверей или печей. Участки стен между проемами называют простенками. Различают простенки рядовые (между двумя проемами) и угловые (между углами здания и ближайшим проемом).

Откосы (притолоки) – верхние и боковые плоскости, ограничивающие проем. В проемах наружных стен откосы обычно делают с четвертями – прямоугольными выступами, закрывающими (для уменьшения продуваемости) щели между притолоками и устанавливаемыми в проем оконными или дверными коробками.

Перемычки – конструкции, перекрывающие проемы сверху. Различают перемычки несущие и ненесущие. Несущей называют перемычку, которая, кроме собственного веса и вышележащей кладки, несет нагрузку от элементов перекрытия или других конструкций. Ненесущая перемычка, кроме веса кладки и собственного, никаких нагрузок не несет.

Иногда согласно конструкции предусмотрено утолщение стен нижележащих этажей. Образовавшиеся горизонтальные уступы называют обрезами, вертикальные – раскреповками.

Пилястры – узкие вертикальные выступы стен прямоугольного сечения, служащие для местного их усиления, а также для придания устойчивости высоким и протяженным стенам. Выступы полукруглого сечения называются полуколоннами.

Важной конструктивной деталью являются деформационные швы (температурные и осадочные).

Температурные швы разрезают стену от верха до фундамента на отдельные участки. Швы необходимы в стенах большой длины для предотвращения появления трещин из-за деформации материала при колебании температуры.

Осадочные швы разрезают фундаменты, стены, перекрытия и покрытия. Устраивают их обычно на площадках с неоднородным грунтом, где возможна неравномерная осадка по периметру фундамента, а также при передаче на грунт неодинаковых нагрузок от отдельных частей здания.

Парапет – элемент, являющийся продолжением наружной стены и выступающий над свесом крыши. Парапет препятствует открытому сбросу талой и дождевой воды по поверхности стен, поэтому в здании должны быть предусмотрены дополнительные, внутренние водоотводы. Все это повышает стоимость строительства, поэтому часто парапеты заменяют более простыми и легкими металлическими ограждениями.

Кроме основных, стены выполняют ряд дополнительных функций. В частности, во внутренних стенах устраивают дымовые и вентиляционные каналы. Вентиляционные каналы размещают, как правило, рядом с дымовыми, так как подогрев их теплом дымовых газов способствует лучшей тяге. Для размещения приборов отопления и устройства стенных шкафов делают в стенах значительные углубления – ниши, а также малые углубления – гнезда.

Контрфорс – вертикальный выступ с наклонной внешней гранью, применяется для повышения устойчивости сооружения.

Фронтон – участок стены, ограниченный скатами крыши, ограждающий чердачное пространство двускатной крыши.

Балконы, эркеры, лоджии – элементы здания, создающие определенные эксплуатационные удобства. Их конструкции непосредственно связаны с конструкцией стен (рис. 4.12).

Рис. 4.12. Элементы здания: а – балкон; б – эркер; в – лоджия

Балкон – открытая площадка, выступающая за плоскость наружной стены и огражденная перилами. Основной частью балкона в современных зданиях является железобетонная плита, консольно заделанная и заанкерированная в стене.

Эркер – остекленный выступ в наружной стене здания. Он увеличивает площадь расположенного за ним помещения и улучшает доступ в него солнечным лучам, что особенно ценно при северной ориентации фасада. Делают эркеры обычно в несколько этажей и начинают со второго этажа.

Лоджия – помещение, открытое со стороны фасада, а с других сторон огражденное стенами и перекрытиями. Особое значение лоджии имеют на юге, где они большую часть года используются как крытые балконы и защищают помещения от перегрева солнечными лучами.

 

4.3.3. Деревянные стены

 

Древесина является древнейшим строительным материалом, применяемым при строительстве. По технологии изготовления различают традиционные (бревенчатые, брусчатые) и индустриальные (каркасные и щитовые стены) методы строительства (рис. 4.13).

Для бревенчатых стен применяют сосновые бревна диаметром 180–240 мм. Ряд бревен по периметру здания называют венцом. Венцы соединяют шипами через 2 м. При бревнах длиной более 6 м устраивают сжимы.

Брусчатые стены выполняют из опиленных на четыре канта бревен. Между бревнами и брусьями прокладывают паклю.

Деревянные каркасные здания, кроме каркаса, состоят из ограждающих элементов с утеплителем в виде шлака, керамзита; плит из фибролита, минеральной ваты и др. Щитовые стены выполняют из сборных щитов заводского изготовления, соединяемых между собой на болтах, скобах и др. Размеры щитов: ширина – 1200 и 600 мм, а высота – 2800–3000 мм (для одноэтажных зданий).

 

Рис. 4.13. Деревянные стены и их элементы: а – бревенчатые (рубленые);

б – брусчатые; в и г – каркасные; д – щитовые: 1 – верхняя обвязка;

2 – нижняя (цокольная) обвязка

 

4.3.4. Стены из кирпича, мелких блоков и природного камня

Кирпич и мелкие блоки являются одними из основных материалов, применяемых для возведения стен жилых зданий различной этажности, и за последнее время их доля даже возросла. Как правило, стены выполняют несущую роль, но в зданиях, где конструкции получают большие нагрузки, возможна установка каркаса. Примером каркасного каменного здания может служить новая библиотека Омского государственного аграрного университета.

Наиболее распространенными стенами из мелких камней являются кирпичные. По структуре они делятся на сплошные (однородные), выполняемые из полнотелого, пустотелого или легкого (пористого) кирпича (рис. 4.14), и облегченные (слоистые), включающие по толщине, кроме кирпичных, слои из других, менее теплопроводных материалов (рис. 4.15).

Рис. 4.14. Кирпичная сплошная кладка:

а – цепная (двухрядная); б – ложковая (шестирядная)

 

Рис. 4.15. Облегченные кирпичные стены:

а, в – с заполнением из легкого бетона; б – с термовкладышами; г – колодцевая кладка; д – стена с воздушными прослойками; е – с утеплителем

из теплоизоляционных плит; ж – то же, но на относе: 1 – воздушная прослойка;

2 – легкий бетон; 3 – теплоизоляционная плита

 

Недостатком сплошной кладки из полнотелого глиняного и силикатного кирпича является ее значительная теплопроводность, ввиду чего толщина кладки, определенная теплотехническим расчетом, часто является по условиям прочности излишней. Поэтому сплошная кладка наружных стен из полнотелого кирпича экономически, как правило, целесообразна только при условии полного использования ее прочности, т.е. в нижних этажах многоэтажных зданий.

В облегченных стенах материалом для термовкладышей служат легкий бетон, пенобетон, пеносиликат и др.

Практический интерес представляют облегченные наружные стены с облицовкой утеплителем стены сплошной кладки (рис. 4.15, е, г). Для утепления каменных стен со стороны улицы применяют жесткий плитный утеплитель из легких бетонов, пеностекла, фибролита в сочетании с атмосферостойкой и прочной облицовкой (листы асбестоцемента, доски и др.). Для утепления наружных стен со стороны помещения используют полужесткий плитный утеплитель (камышит, соломит, минераловата и др.).

В зависимости от наличия штукатурки с наружной стороны стены горизонтальные швы могут выполняться впустошовку (при наличии штукатурки) (рис. 4.16, а), вподрез (рис. 4.16, б), под расшивку с выпуклыми (рис. 4.16, в) или вогнутыми (рис. 4.16, г) швами.

а) б) в) г)

Рис. 4.16. Виды обработки швов кирпичной кладки:

а – кладка впустошовку; б – вподрез; в, г – под расшивку

 

Цоколи кирпичных стен (сплошных и облегченных) необходимо выполнять из хорошо обожженного глиняного полнотелого кирпича. Цоколь может быть облицован плитами из прочных пород камня (рис. 4.17).

Характерными элементами фасадных стен являются оконные и дверные проемы. Верхние и боковые поверхности, ограничивающие проем, называют откосами или притолоками. Эти проемы обычно делают с четвертями размером 75 х 120 мм для уменьшения продуваемости и облегчения установки оконных и дверных коробок.

Над проемами устраивают перемычки несущие и ненесущие. По конструкции перемычки бывают: рядовыми, армокирпичными, кирпичными арочными, кирпичными клинчатыми, железобетонными и стальными.

Рис. 4.17. Примеры конструкций цоколей и отмостки кирпичных стен

 

Рядовая перемычка перекрывает проем шириной до 2 м. Это обыкновенная кладка, сложенная на цементном растворе более высокой марки. При ее изготовлении под нижний ряд кладки помещают арматуру диаметром 5–6 мм или полосовую сталь 20 х 1 мм, по одному стержню или полосе на каждые 100 мм толщины стены. Их заделывают в кладку простенков на величину не менее 250 мм. Арматура укладывается на цементный раствор 1: 4 толщиной 20–30 мм, а цементный раствор расстилают по временной опалубке (настилу). Армокирпичные перемычки проектируют при проемах пролетом более 2, 0 м и больших нагрузках. Арматура определяется расчетом.

Арочные и клинчатые перемычки (рис. 4.18, а, б) трудоемки, требуют устройства опалубки. Кирпичи укладываются на ребро. Ряд в-в/ является замковым.

Рис. 4.18. Конструкции перемычек: а – арочная; б – клинчатая; в – сборная

железобетонная из брусков (несущая); г – то же с опорной полкой

Наиболее распространены сборные железобетонные перемычки. Принята следующая маркировка перемычек:

- ненесущие брусковые – Б;

- ненесущие плитные – БП;

- усиленные несущие – БУ;

- несущие с опорной полкой – БГ.

Цифры, стоящие за буквами, указывают на длину перемычки в дециметрах (рис. 4.19).

Рис. 4.19. Сборные железобетонные перемычки:

а – сечение брусков (в мм); б – ненесущие перемычки; в – несущие перемычки: 1 – железобетонные бруски типа Б; 2 – то же типа БП; 3 – то же типа БУ;

4 – плита междуэтажного перекрытия

 

Венчающие карнизы кирпичных стен могут иметь различное конструктивное решение (рис. 4.20). При вылете карниза до 300 мм и не более половины толщины стены карниз выполняют из полнотелого кирпича путем постепенного напуска рядов кладки на величину до 80 мм в каждом ряду. При вылетах более 300 мм применяют карнизные железобетонные плиты, консольно заделанные в стены с помощью различных анкеров.

Рис. 4.20. Конструкции венчающих карнизов: а – кирпичные; б, г – из железобетонных сборных плит; в – из плит по консольным балкам: 1 – железобетонные плиты; 2 – крепежные балочки; 3 – анкерные болты; 4 – железобетонные кронштейны; 5 – анкер; 6 – плита верхнего перекрытия; 7 – закладная деталь карниза; 8 – капельник; 9 – проволочная скрутка; 10 – ерш

 

В домах, имеющих отопительные печи, в стенах следует предусматривать дымовые каналы размером 0, 5 х 1, 0 кирпича (140 х 270 мм), вытяжные каналы от ванных колонок и вентиляционные каналы 0, 5 х 0, 5 кирпича (140 х 140 мм). Минимальная толщина стен, в которых устраивают эти каналы, должна быть не менее 1, 5 кирпича (380 мм).

Наряду с глиняным и силикатным кирпичом, применяют керамические камни (рис. 4.21, а, б, в), т.е. глиняные обожженные блоки с пустотами. Технические характеристики всех кладочных стеновых элементов приведены в ГОСТ 530–2007 «Кирпич и камень керамические. Общие технические условия».

Рис. 4.21. Виды камней из искусственных материалов:

а – кирпич сплошной; б – кирпич пустотный; в – керамические камни;

г – легкобетонные камни с щелевыми пустотами (целый и половинный);

д – то же с тремя пустотами

 

Кладка из легкобетонных трехпустотных камней и с щелевидными пустотами ограничена в применении из-за ее малой прочности, слабой устойчивости против атмосферных осадков и необходимости оштукатуривания поверхности стен.

В районах, имеющих в достаточном количестве местный строительный материал (известняк-ракушечник, туф), для возведения зданий используют камни правильной формы, полученные путем распиловки. Размеры камней: 390 х 190 х 188; 490 х 240 х 188 и 390 х 190 х 288 мм.

4.3.5. Стены из крупных блоков

 

Крупноблочная строительная система применяется для возведения жилых и массовых общественных зданий (школ, поликлиник и т.п.) высотой до 16 этажей. Крупноблочные дома могут выполняться как с бескаркасной, так и каркасной конструктивной системой. Широкое применение в строительстве панельной системы в последние годы привело к сокращению объемов крупноблочного строительства.

Крупными блоками называют искусственные (керамические, бетонные, шлакобетонные и др.) или природные камни большого размера массой до 3–5 т. Действующая номенклатура крупных блоков разработана применительно к конструктивной схеме здания с тремя продольными несущими стенами – двумя наружными и одной внутренней. Стены в пределах этажа при проектировании членят на ряды в зависимости от материала блоков, технических возможностей их изготовления и грузоподъемности монтажных кранов. Различают двух- и четырехрядную разрезку стен (рис. 4.22). Двухрядная наиболее распространена, так как значительно сокращает число монтажных единиц.

Рис. 4.22. Виды разрезки стен крупноблочных зданий:

а – двухрядная; б – четырехрядная; в – двухрядная для внутренних стен:

1 – простеночный блок; 2 – подоконный блок; 3 – блок-перемычка;

4 – вертикальный блок внутренней стены; 5 – перекрытие;

6 – горизонтальный блок внутренней стены

 

Плоскость стены может быть разбита на простеночные (рядовые и угловые), подоконные, перемычечные и поясные (рядовые и угловые) блоки. Кроме того, изготовляют специальные блоки: с дымовентиляционными каналами, санитарно-технические, электротехнические и др.

Различают крупные блоки сплошные, пустотелые, с отверстиями и гнездами (рис. 4.23).

Рис. 4.23. Крупные стеновые блоки: а – кирпичный сплошной; б – кирпичный облегченный; в – легкобетонный сплошной; г – легкобетонный облегченный;

д – силикатный; е – из природного камня, цельный; ж – то же, составной;

и – то же, комплексной конструкции: 1 – штучный камень; 2 – фактурный слой; 3 – бетонная обойма

 

Крупные искусственные блоки изготовляют на заводах из легких и ячеистых бетонов с объемным весом 1000–1600 кг/м3 (шлакобетона, керамзитобетона, термозитобетона, пенобетона, бетона на естественных пористых заполнителях, силикатного бетона, пеносиликата), кирпича, керамических камней и т.д.

Толщину блоков определяют в зависимости от климатических условий места строительства, нагрузок и этажности. Для кирпичных блоков толщину принимают аналогичной толщине кирпича: 25, 38, 51 и 64 см; для блоков, выпиленных из каменного массива и бетонных, – 30, 40, 50 и 60 см.

Блоки внутренних стен и стен подвалов изготовляют из тяжелого бетона.

Блоки укладывают на растворе с соблюдением перевязки швов. Вертикальные стыки между блоками являются наиболее ответственными в крупноблочных зданиях, так как от тщательности их заделки зависит тепло- и звукоизоляция.

Вертикальные стыки могут быть открытыми со стороны помещения или закрытыми (рис. 4.24), для чего блоки изготовляют с четвертями или пазами. Блоки с четвертями применяют в основном для наружных стен, так как четверти лучше обеспечивают непродуваемость стыка. Блоки с пазами применяют главным образом для внутренних стен. Закрытый вертикальный канал, образующийся после установки двух смежных блоков, заполняют бетоном или кладочным раствором. Швы вертикальных стыков проконопачивают паклей и зачеканивают жестким раствором на глубину 2–3 см или применяют жгуты из пороизола, приклеиваемый на мастике изол.

Рис. 4.24. Детали крупноблочных стен:

1 – открытый стык; 2 – вкладыш; 3 – закрытый стык; 4 – конопатка

 

Для повышения пространственной жесткости крупноблочных зданий углы и пересечения стен армируют в швах или устраивают горизонтальные армированные пояса. Важную роль в обеспечении жесткости крупноблочных зданий играет связь перекрытий со стенами, которую осуществляют с помощью стальных анкеров, привариваемых к стальным деталям перемычечных блоков, к монтажным петлям плит перекрытий.

 

4.3.6. Панельные и каркасно-панельные дома

Панельная система применяется в проектировании гражданских зданий высотой до 30 этажей в обычных условиях строительства и до 14 – в сейсмических. Панельные дома могут выполняться с продольными, поперечными и перекрестными несущими стенами (рис. 4.25, г, д, е).

Рис. 4.25. Конструктивные схемы крупнопанельных зданий:

а – с пространственным каркасом; б – с полным продольным каркасом;

в – с поперечным каркасом; г – бескаркасное с несущими наружными

и внутренними продольными стенами; д – то же с несущими поперечными

стенами; е – то же с несущими наружными и внутренними продольными

и поперечными стенами

Каркасно-панельная система применяется в строительстве общественных (преимущественно) и промышленных зданий высотой от 1 до 30 этажей. В жилищном строительстве эта система применяется редко, так как значительно уступает панельной по показателям затрат труда, сроков строительства и расхода стали. Однако каркасная система обеспечивает гибкость планировочных решений при проектировании и относительно недорогую модернизацию и даже перепрофилирование зданий в процессе их эксплуатации.

В каркасно-панельных домах каркас бывает пространственным, продольным или поперечным (рис. 4.25, а, б, в). Встречаются также каркасно-панельные здания с неполным внутренним каркасом и несущими наружными стенами. При укрупнении панелей перекрытий до размеров на комнату они могут выполнять несущую роль ригеля. Наружные стены в каркасно-панельных домах обычно ненесущие (навесные).

Стеновые панели изготовляются аналогично крупным блокам в промышленных условиях. Однако в крупнопанельных стенах отсутствует перевязка швов, толщина их сравнительно невелика, поэтому для большей устойчивости панелей требуется надежное взаимное крепление.

Среди различных схем членения стен на панели наибольшее распространение получили схемы с одноэтажными панелями размером с комнату (однорядная схема), высотой в этаж, протяженностью до 7, 2 м и массой до 10 т. Применяют также горизонтальные схемы с простеночными панелями на один или два этажа, междуоконными и угловыми вставками (вертикальная схема) и с поясными или полосовыми простеночными и угловыми панелями.

При выборе схемы разрезки стремятся к минимальному числу типоразмеров панелей, минимальной протяженности швов и максимальному укрупнению панелей с целью наиболее полного использования грузоподъемности кранов.

В зависимости от назначения и условий работы стеновые панели подразделяют на наружные, внутренние, вентиляционные, карнизные, цокольные и др. По своей конструкции панели бывают однослойные (из однородных материалов) и слоистые (рис. 4.26).

Рис. 4.26. Конструкции панелей наружных стен: а – однослойная;

б – двухслойная; в – трехслойная: 1 – конструктивно-теплоизоляционный

бетон; 2 – защитный отделочный слой; 3 – конструктивный бетон;

4 – утеплитель

Благодаря простоте и низкой стоимости производства однослойные панели получили наибольшее распространение и используются для сооружения как внутренних, так и наружных стен. Чаще всего их изготовляют из керамзитобетона класса В5–10 с объемным весом 800–1400 кг/м3 или из автоклавного ячеистого бетона класса В3, 5–7, 5 с объемным весом 600–900 кг/м3.

В двухслойных панелях применяют несущий (конструктивный) слой из железобетона, а второй слой – из теплоизоляционного легкого или ячеистого бетона.

В трехслойных панелях в качестве утеплителя применяют жесткие или полужесткие маты и плиты из стекло- и минераловаты, полистирольного пенопласта, пеностекла, фибролита и др. Наружный слой выполняют из железобетона толщиной не менее 65 мм, а внутренний – не менее 100 мм.

В последние годы в строительстве появились панели из небетонных материалов, которые применяют для сооружения легких стен. Такие стены проектируют с наружным (фасадным) слоем из металла, алюминиевых сплавов, стеклопластиков, закаленного стекла или асбестоцемента. Комплектацию облицовочных и утепляющих слоев в панель выполняют склеивая их между собой безусадочными клеями (изделия типа «сэндвич») либо путем крепления к внутреннему каркасу панели. Изделия типа «сэндвич» применяют преимущественно в малоэтажных общественных зданиях из легких металлических конструкций, а каркасные – в жилых и общественных зданиях средней и повышенной этажности. Для каркаса панелей обычно применяют сталь, алюминий или асбестоцемент. Эти теплопроводные материалы ухудшают теплотехнические свойства панелей, поэтому в отечественных климатических условиях наиболее пригодны деревянные каркасы. Внутреннюю обшивку выполняют из гипсокартона, гипсоопилочных и древесно-волокнистых плит. В таких панелях внешние листы изготовляются из асбестоцемента или полимеров (пластмасс). Внутреннее пространство заполняется минеральной ватой различного происхождения или изоляционными древесно-волокнистыми плитами в 2–3 слоя с воздушными прослойками. Используются такие панели в основном для ненесущих стен.

По температурно-влажностному режиму, от которого в большей степени зависят долговечность и теплозащитные свойства ограждения, различные виды слоистых панелей неравноценны. С точки зрения теплоизоляции, наилучшими являются панели, у которых теплоизолирующий слой находится ближе к внешней поверхности стены. Однако помещать его снаружи нецелесообразно, так как материалы, применяемые для теплоизоляции, очень подвержены атмосферным воздействиям.

Для вентиляции помещений крупнопанельных зданий, а также для отвода дыма от нагревательных приборов применяют специальные панели с дымовентиляционными каналами.

Стыки панелей. Конструкции стыков панелей стен являются одной из важнейших деталей крупнопанельных зданий, так как стыки в таких зданиях нередко выполняют роль осадочных и температурных швов, при этом они должны быть герметичными, создавать надежную связь между сопрягаемыми элементами и обеспечивать в помещениях необходимый температурно-влажностный режим.

В зависимости от направления стыков выделяют ряд конструктивных особенностей.

Вертикальные швы между стеновыми панелями делят на две группы: упругоподатливые и жесткие. Упругоподатливые стыки можно разделить на замоноличенные, полусухие и сухие (рис. 4.27).

Стыки, замоноличенные легким бетоном или раствором, слабоустойчивы к деформациям, в результате при неравномерной осадке здания или при перепадах температуры возможно появление трещин. Поэтому замоноличенные стыки не предохраняют металлические связи от коррозии.

В полусухих стыках часть полости заполняют сухими вкладышами из эффективного утеплителя, а остальную часть – тяжелым бетоном, защищающим стальные связи от коррозии. Для герметизации швов наклеивают на мастике полоски рубероида, вводят упругий шнур-герметик из пористой резины. Полусухой стык имеет высокое термическое сопротивление и малочувствителен к деформациям, в связи с чем широко применяется для самонесущих стен.

В сухих стыках полости заполняют вкладышами из пористой резины, а с внутренней стороны – минеральной ватой; снаружи швы чеканятся раствором. Жесткие стыки более надежны и прочны, лучше предохраняют от появления трещин, чем исключают опасность коррозии стальных связей. К числу таких стыков следует отнести монолитные армированные стыки.

 

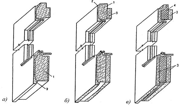
Рис. 4.27. Конструкции стыков наружных стеновых панелей:

а – замоноличенный; б – «полусухой»; в – жесткий, в стене из трехслойных

панелей; г – то же, в стене из керамзитобетонных однослойных панелей:

1 – прокладка из пороизола; 2 – бетон; 3 – конопатка; 4 – раствор; 5 – вкладыш из минераловатных плит, обернутый в пергамин; 6 – рубероид на битумной мастике; 7 – панель перекрытия; 8 – анкер, d = 12 мм; 9 – арматурные петли;

10 – скобы, d = 12 мм; 11 – тяжелый бетон

 

Жесткие стыки хорошо зарекомендовали себя, однако они не могут работать как температурные или осадочные швы, поэтому при большой протяженности стен или при неравномерной осадке основания их следует чередовать с упругоподатливыми.

Конструкция горизонтальных стыков зависит от условий работы стены. Во внешних стенах связь панелей между собой и с перекрытиями обеспечивают сваркой закладных деталей, которые подвергают антикоррозийной обработке, а затем замоноличивают.


Поделиться с друзьями:

mylektsii.su - Мои Лекции - 2015-2026 год. (1.452 сек.)Все материалы представленные на сайте исключительно с целью ознакомления читателями и не преследуют коммерческих целей или нарушение авторских прав Пожаловаться на материал