Студопедия

Главная страница Случайная страница

КАТЕГОРИИ:

АвтомобилиАстрономияБиологияГеографияДом и садДругие языкиДругоеИнформатикаИсторияКультураЛитератураЛогикаМатематикаМедицинаМеталлургияМеханикаОбразованиеОхрана трудаПедагогикаПолитикаПравоПсихологияРелигияРиторикаСоциологияСпортСтроительствоТехнологияТуризмФизикаФилософияФинансыХимияЧерчениеЭкологияЭкономикаЭлектроника






Продовження таблиці 1.1






     
Прорізний (канавковий) (ТУ2-035-558-77)      
А

Для точіння прямих канавок в отворах
Прорізний (канавковий) (ТУ2-035-558-77)    
А

Для точіння зовнішніх кутових канавок
Прорізний (канавковий) (ТУ2-035-558-77)    
А

Для точіння кутових канавок в отворах

 

1.5. Зони обробки

Кожна зона токарної обробки на верстатах з ЧПК зазвичай відповідає одному технологічному переходові і формується в залежності від конфігурації чорнового або чистового контурів деталі та технологічних можливостей різця, що використовується на цьому переході. Для різців ці технологічні можливості визначаються головним і допоміжним кутом у плані. В залежності від конфігурації ділянки чорнового або чистового контуру деталі, що формуються за технологічний перехід, зони обробки поділяють на відкриті, напіввідкриті, закриті та комбіновані.

Відкрита зона (рис. 1.1, а) формується для знімання припуску або напуску з циліндричної або конічної поверхні. Конфігурація цієї зони не впливає на вибір головного та допоміжного кутів у плані. Найтиповішою є напіввідкрита зона (рис. 1.1, б), конфігурацію якої регламентує головний кут в плані різця. Закриті зони (рис. 1.1, в), які зустрічаються переважно під час обробки додаткових поверхонь, накладають обмеження як на величини головного, так і допоміжного кутів в плані. Комбіновані зони (рис. 1.1, г) є поєднанням двох або трьох зон, що розглянуті вище.

Рисунок 1.3 – Типові схеми обробки простих канавок: а – прямокутної; б – з фасками; в – зі скругленнями
Рисунок 1.2 – Типові схеми руху інструмента: а – „петля”; б – „зигзаг”; в – „виток”; г – „спуск”
Рисунок 1.1. – Зони токарної обробки (заштриховані ділянки): а – відкрита; б – напіввідкрита; в – закрита; г – комбінована

1.6. Типові схеми токарної обробки

Розробляючи траєкторії руху різця для зон знімання напусків рекомендуються такі типові схеми (рис. 1.2).

Схема «петля» (рис. 1.2, а) застосовується для обробки відкритих та напіввідкритих зон заготовки. Характеризується ця схема тим, що різець виконує робочий хід тільки в одному напрямі. Після закінчення робочого ходу він відводиться на невелику відстань (близько 0, 5 мм) від обробленої поверхні і після цього повертається за час допоміжного ходу назад (для виконання наступного робочого ходу).

У схемі «зигзаг» (рис. 1.2, б) робочий хід здійснюється в обох напрямках, наприклад, під час обробки глибоких западин чашковими різцями.

Схема «виток» (рис. 1.2, в) мало відрізняється від схеми «зигзаг», але має перевагу під час обробки неглибоких та відносно пологих западин чашковими різцями.

Схема «спуск» (рис. 1.2, г) характерна тим, що напуск (чи припуск) знімається з радіальним переміщенням різця. Найчастіше цю схему використовують для чорнової обробки закритих зон (див. рис. 1.3).

Особливу увагу слід приділити вибору схем для напіввідкритих зон, оскільки вони найчастіше зустрічаються в токарній обробці.

«Чорнова схема з підборкою» характерна тим, що після прямолінійного робочого ходу різець рухається по чорновому контуру деталі до рівня попереднього робочого ходу. Таким чином, для наступної обробки забезпечується рівномірний припуск по всьому контуру. Цю схему можна застосовувати і як остаточну, і в поєднанні з подальшою чистовою обробкою. Вона дозволяє отримати поверхні із шорсткістю Ra = 6, 3 мкм. Під час роботи за цією схемою в точках кінця ходу різця на контурі деталі можуть залишатися риски. Їх можна зменшити, якщо вводити в кінці кожного ходу перебіг різця, який дорівнює половині радіуса вершини різця.

Схема «чорнова з напівчистовим (зачистним) робочим ходом» на відміну від попередньої схеми не передбачає зачистку матеріалу, що залишився на контурі після закінчення кожного ходу інструмента. Однак, після виконання останнього прямолінійного ходу інструмента задають робочий хід уздовж контуру деталі, під час якого на контурі зрізаються усі гребінці та інші залишки металу.

Перевага цієї схеми перед попередньою в тому, що вона дозволяє відмовитися від подальших чистових переходів, оскільки на оброблюваній поверхні не залишається рисок.

Для обробки фасонних поверхонь можна застосовувати схему, яка називається «еквідистантною». Назва її пояснюється тим, що робочі ходи інструмента еквідистантні контуру готової поверхні.

«Контурна» схема теж застосовується для чорнової обробки головних поверхонь деталі. Вона формується шляхом повторення робочих ходів інструмента вздовж контуру деталі, що обробляється. Кожний такий хід сумісно з допоміжним утворює траєкторію у вигляді замкнутого циклу, початкова точка якого зміщується вздовж деякої прямої, наближаючись до контуру заготовки.

«Контурна» схема досить просто програмується оскільки відповідає одному з постійних технологічних циклів.

Під час виконання чорнових переходів обробки відкритих та напіввідкритих зон інструмент після завершення кожного робочого ходу виводиться із зони та подається на глибину наступного ходу (допоміжний хід).

При обробці закритої зони інструмент не може вийти з неї під час виконання робочого ходу, тому під час використання для таких зон схем чорнової обробки з підборкою та з напівчистовим проходом їх треба дещо видозмінити, а саме після завершення кожного робочого ходу інструмент повинен повернутися до початкової точки цього ходу (допоміжний хід) і врізатися на глибину наступного ходу, рухаючись із швидкістю подачі врізання в радіальному напрямку.

Комбіновані зони доцільно розбивати на декілька ділянок. Коли комбінована зона складається з відкритої та напіввідкритої зон, то першу слід обробляти за схемою «петля», а другу – за «чорновою із зачистним переходом». під час наявності у складі комбінованої зони усіх трьох зон, перші дві доцільно об’єднати за схемою «петля», а зону закритого типу обробляти за схемою із зачистним переходом, продовживши цей хід для зачистки чорнового контуру, який входить у перші дві зони.

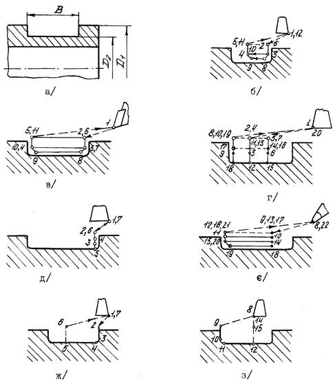
Канавки різної форми обробляють за типовими схемами за декілька переходів. Остаточний профіль деталі отримують під час чистового переходу. Критерієм для вибору схеми її обробки служить глибина канавки h = 0, 5(D2 – D1) та її ширина В (рис. 1.4, а). Якщо h < 5 мм та В < 30 мм, то попередню обробку проводять з поздовжньою подачею прорізним різцем (рис. 1.4, б), коли В > 30 мм – прохідним різцем (рис. 1.4, в). якщо h > 5 мм та В < 30 мм, то застосовують прорізні різці і спосіб ступінчастого врізання (рис. 1.4, г). Якщо В > 30 мм, то спочатку обробляють канавку шириною близько 10 мм, потім матеріал, що залишився підбирають підрізним різцем (рис. 1.4, д, є). Остаточну обробку у всіх випадках проводять прорізними різцями по контуру (рис. 1.4, ж, з).

Канавки на торцях заготовок (рис. 1.5, а) також обробляють прорізними різцями, але різальна частина цих різців відрізняється від різців для точіння канавок на зовнішніх циліндричних поверхнях.

Якщо ширина канавки В = 0, 5 (D2 – D1) 60 мм та глибині h < 3 мм обробку проводять за схемою, наведеною на рис. 1.5, б, коли h > 3 мм – за схемою на рис. 1.5, в, г. Остаточну обробку торцевих канавок виконують послідовно канавковими різцями (відрізняються тільки положенням формоутворюючої вершини) (рис. 1.5, д, є).

Для нарізання різей різцями існують дві головні схеми: застосування радіального та бокового врізання.

Під час радіального врізання інструмент працює в умовах закритого різання. Тому таку схему застосовують або під час нарізання дрібних різей з кроком до 2 мм включно, або для чистової обробки профілю різі.

Для чорнових ходів під час нарізання різей з кроком, більшим 2 мм застосовують бічне врізання. У цьому випадку стружка утворюється тільки одною різальною кромкою різця, що поліпшує стружковідведення. Поширеним є багатопрохідне нарізання різі з великою кількістю не тільки чорнових, але й чистових ходів. На рис. 1.6 показані технологічні схеми такої багатопрохідної обробки кріпильних різей, а в табл. 1.2 – рекомендації щодо вибору кількості ходів під час нарізання метричної трикутної різі.

На токарних верстатах з ЧПК можна нарізати циліндричні різі, конічні різі, а також різі, розташовані на торцях.

 

Рисунок 1.4 – Типові схеми обробки канавок

 

Рисунок 1.5 – Схеми обробки торцевих канавок

 

Таблиця 1.2 – Кількість робочих ходів під час нарізання метричної трикутної різі різцем (матеріал заготовки – сталь, чавун, бронза, латунь)

 

Крок різі, мм Кількість робочих ходів
Бокове врізання Радіальне врізання:
чорнові ходи чистові ходи
0, 75    
1, 00    
1, 25    
1, 50    
1, 75    
2, 00    
2, 50    
3, 00    
3, 50    
4, 00    
4, 50    
5, 00    
5, 50    

На прикладі ступінчастого вала (рис. 1.7, а) сформуємо зону чорнової обробки та розподілимо напуск між робочими ходами.

Послідовність розподілу така:

– визначаємо напуски на кожній з циліндричних поверхонь (t 1, t 2, t 3; t 1 = XW0 – XW1, t 2 = XW0 – XW2, t 3 = XW0 – XW3) (рис. 1.7, б);

– визначаємо найменшу кількість чорнових робочих ходів по кожній циліндричній поверхні. Для цього ділять напуски t 1, t 2, t 3 на граничну глибину різання t гр та округляють отримане число до більшого цілого. Величина t гр залежить від міцності пластини різця, потужностей приводів головного руху та подачі, швидкості різання верстата, подачі, заданої стійкості, жорсткості системи “верстат – пристрій – інструмент – деталь” (ВПІД) та інших факторів. Для цього прикладу приймемо, що прийнята величина t гр більша за t 3 , але менша за t 1 та t 2;

– визначаємо глибину різання для чорнових робочих ходів, вважаючи, що напуск на кожній поверхні розподілений рівномірно на визначену у попередньому пункті кількість робочих ходів. Для нашого прикладу під час обробки першого циліндра такою глибиною буде величина t ср.1, на ділянці другого циліндра – t ср.2 ; третього циліндра – t ср.3 (рис. 1.7, в);

– найбільша серед визначених у попередньому пункті глибин різання приймається єдиною (t р) для усієї зони чорнової обробки;

за прийнятою величиною t р послідовним відніманням від розміру заготовки визначають рівні робочих ходів по усьому напуску (рис. 1.7, г).

 

Рисунок 1.6 – Схеми обробки різі

 

Рисунок 1.7 – Формування зони чорнової обробки та розподіл напуску під час обробки ступінчастих валів

 

2. Характеристика верстата моделі 16К20Т1.02

2.1. Призначення та область застосування верстата

Токарний верстат з ЧПК моделі 16К20Т1.02 призначений для токарної обробки у замкненому напівавтоматичному циклі деталей типу тіл обертання зі ступінчастим та криволінійним профілями, включаючи нарізання різей. Такі верстати застосовуються в одиничному та дрібносерійному виробництві. Клас точності верстата – П (підвищений).

2.2. Загальне компонування та принцип роботи верстата

Основою верстата є монолітний виливок прямокутної форми. На основі встановлена станина, електродвигун головного руху, станція подачі масла для змащування, насос подачі ЗОР. У середині основи розташований резервуар для ЗОР.

Станина оснащена загартованими напрямними. На ній розміщують також шпиндельну бабку, каретку поздовжньої подачі, задню бабку. Привод головного руху – це електродвигун із безступінчастим регулюванням частоти обертання. У шпиндельній бабці розташована триступенева коробка швидкостей. Діапазони частот обертання шпинделя показані в п. 2.3.1.

Поздовжня та поперечна подача супорта здійснюється за допомогою стежних електромеханічних приводів.

На супорті закріпляється шестипозиційна револьверна головка з горизонтальною віссю обертання. У різцетримачі головки можна встановити шість різців або три інструментальних блоки для стержневих інструментів. Висока точність верстата забезпечується спеціальною конструкцією ходових гвинтів поздовжньої та поперечної подач та зв’язаних із ними гайок. У корпусі гайки по напівкруглих спіральних доріжках перекачуються точні загартовані кульки, спряжені з напівкруглим профілем різі гвинта. Гайка складається з двох напівгайок. Люфт вибирається за допомогою точного регульованого повороту однієї з напівгайок.

Верстат оснащений трикулачковим самоцентрувальним патроном з електромеханічним приводом затискання заготовки.

 

2.3. Склад верстата

Загальний вигляд верстата 16К20Т1.02 показаний на рис. 2.1. Найменування основних вузлів верстата з позиціями, що відповідають
рис 2.1., наведені в таблиці 2.1.

 


Таблиця 2.1 – Склад верстата моделі 16К20Т1.02

Позиція на рис. 2.1 Найменування Позиція на рис. 2.1 Найменування
  Основа   Різцетримач
  Станина   Лампочка місцевого освітлення
  Лінійка для поздовжньої подачі   Інструментальна головка
  Поперечний супорт   Блок відображення символьної інформації
  Маховичок ручного керування   Пульт керування
  Касета пам’яті   Мнемонічна рукоятка ручного керування
  Рухоме огородження   Гвинт поздовжньої подачі
  Ліва опора гвинта поздовжньої подачі   Пульт
  Шпиндельна бабка   Задня бабка
  Привод поздовжньої подачі   Права опора гвинта поздовжньої подачі
  Нерухоме огородження   Рукоятка пневмоопори задньої бабки
  Давач різенарізання   Електрообладнання
  Щиток патрона   Електромеханічний привод задньої бабки
  Механізований патрон з електромеханічним приводом   Комунікація між вузлами верстата
      Каретка

 

 

2.4. Технічна характеристика

Найбільший діаметр заготовки над станиною, мм................. 500

Найбільший діаметр заготовки над супортом, мм................. 220

Висота державки різця, мм..................................................... 25

Кількість координат переміщення супорта............................ 2

Найбільша довжина заготовки, мм......................................... 1000

Найбільша довжина обробки, мм........................................... 905

Межі діапазонів частот обертання шпинделя, об/хв.............. 22, 4 – 355

................................................................................................... 63 – 900

................................................................................................... 160 – 2240

Межі подач, мм/об

поздовжніх.................................................................. 0, 01 – 2, 8

поперечних.................................................................. 0, 005 – 1, 4

Максимальна швидкість робочої подачі, мм/хв (мм/ об):

поздовжньої................................................................ 2000 (2, 8)

поперечної................................................................... 1000 (1, 4)

Швидкість прискорених ходів, не менше, мм/хв

поздовжніх.................................................................. 7500

поперечних.................................................................. 5000

Межі кроків різей, мм.............................................................. 0, 01 – 40, 95

Дискретність, мм

поздовжня (по Z)......................................................... 0, 01

поперечна (по Х)......................................................... 0, 005

Кількість позицій револьверної головки................................ 6

Потужність електродвигуна головного руху, кВт................. 11

Габаритні розміри верстата, мм.................................. 3960 * 1700 * 1700

Маса верстата (без ПЧПК), кг................................................. 3800

 


3. Органи керування верстатом

Усі органи керування верстатом 16К20Т1.02 розміщені на передніх панелях таких пристроїв: ПЧПК, пристрою керування верстатом, пристрою керування, який розташований на каретці та пристрою керування приводами.

3.1. ПЧПК та пульт оператора

ПЧПК разом з пультом оператора розміщений на супорті. Пульт оператора складається з трьох цифрових індикаторів, трьох наборів клавіш та сигнальних лампочок (рис. 3.1).

Призначення клавіш описане в таблиці 3.1.

 

Таблиця 3.1 – Клавіатура панелі ПЧПК «Электроника НЦ–31»

Номер клавіші на рис.3.1   Призначення клавіші
   
Керування робочими переміщеннями супорта в ручному режимі (зона 1)
  Поперечне переміщення супорта й індикація його положення по осі Х; при натисканні на клавішу у випадку обертання ручного маховичка супорт переміщається в поперечному напрямку, а при натисканні на клавішу під час автоматичного відпрацювання програми на цифровому індикаторі видається інформація про положення супорта по осі Х
  Те ж, по осі Z; після першого натискання клавіші 1 і 2 залишаються включеними, горить відповідна сигнальна лампочка; клавіші і сигнальні лампочки виключаються після повторного натискання
Керування поштовховими переміщенням супорта в ручному режимі
  Переміщення на робочій подачі і швидкому ході по осях;
  - Х (до осі точіння)
  + Х (від осі точіння)
  - Z (до шпиндельної бабки)
  + Z (від шпиндельної бабки)
  Включення швидкого переміщення по напрямках – Х, + Х, - Z, +Z; клавіша діє тільки в тому випадку, якщо при натисканні на неї одночасно натискають на одну з чотирьох клавіш (3, 4, 5, 6) поштовхового переміщення
Продовження таблиці 3.1
   
Керування роботою системи (зона 2)
  Гасіння стану «Увага» і команд які не повинні відпрацьовуватися до кінця (клавіша без сигнальної лампочки)
  Задання режиму відпрацьовування програми без переміщення супорта для контролю на індикаторі ІІІ
  Задання режиму покадрового відпрацьовування КП
  Задання режиму роботи від маховичка
  Керування переміщеннями супорта в ручному режимі
  Задання автоматичного режиму
  Виведення на індикатор ІІІ введених у пам'ять кадрів КП і параметрів верстата
  Введення (запам'ятовування) кадрів КП і параметрів верстата в пристрій програмного керування
  Задання режиму розмірної прив'язки інструмента
  Зупинка виконання КП або окремого циклу
  Запуск КП або окремого циклу в автоматичному режимі і виконання технологічних команд у режимах «Ручний» і «Маховичок»
  Введення в пам'ять або виведення на індикацію кадрів або параметрів верстата в режимах, встановлених клавішами виведення на індикацію і введення кадрів КП (сигнальна лампочка використовується для індикації ознаки «зірочка» і вмикання подачі в ручному режимі
Задання технологічних команд, геометричної інформації і службових знаків в КП (зона 3)
  Введення ознаки відносної системи відліку (ознака діє до скасування, тобто до повторного натискання цієї клавіші). У режимі ручного керування клавіша викликає підрежим виходу у фіксовану точку)
  Введення ознаки швидкого ходу
  Деблокування пам'яті в режимі введення (із сигнальною лампочкою)
  Дозвіл на введення й індикацію параметрів системи (із сигнальною лампочкою)
24-32 Задання технологічних команд КП
  Введення ознаки зняття фаски під кутом «–» 45
  Введення ознаки зняття фаски під кутом «+» 45
Продовження табл. 3.1
   
  Введення ознаки «зірочка», що вказує на входження кадра в групу
  Задання числових значень технологічних команд і геометричної інформації КП
  Введення знака «мінус» перед числовою інформацією
  Відміна набраних на пульті буквених адрес, чисел або ознак до введення їх у пам'ять

 

Примітки: 1. Затемнені клавіші на рис. 3.1 в дійсності мають червоний колір.

2. Нумерація клавіш умовна.

 

Чотирирозрядний цифровий індикатор І призначений для відображення значень заданої подачі, трирозрядний індикатор ІІ – для індикації номера параметра верстата (у режимі введення або контролю параметрів) або номера кадра керувальної програми (КП); семирозрядний цифровий індикатор ІІІ (крайній лівий розряд – знак «+ «або «– «, кожний з наступних шести розрядів – цифри від 0 до 9) – для індикації числової частини буквених адрес, кадрів програми, параметрів, технологічних команд, положень супорта верстата та кодів аварійного стану. Над лампочками індикатора ІІІ розташовані вісім сигнальних ламп із буквеними позначеннями, які вказують адреси цифрової індикації на лампочках індикатора.

Набір клавіш на панелі IV складається з 28 клавіш для введення буквено–цифрової інформації програми, з яких 10, що призначені для введення цифр, мають гравірування 0, 1, 2, 3, 4, 5, 6, 7, 8, 9, а решта дев’ять, призначених для введення букв, – гравірування N, G, X, Z, M, S, T, F, P. Під час натискання клавіш для введення букв засвічуються відповідні сигнальні лампи над індикатором ІІІ.

Набір з 12 клавіш (панель V) призначений для вибору режимів роботи та керування роботою системи. Шість клавіш із сигнальними лампочками у середній частині панелі задають режим роботи, при цьому попередній режим анулюється. Три клавіші керування із сигнальними лампочками розташовані у нижній частині панелі, а три клавіші керування допоміжними підрежимами – у верхній частині.

Набір із семи клавіш (панель VI), який призначений для керування переміщеннями супорта в ручному режимі, розташований у лівій частині пульта.

Шість сигнальних лампочок, розташованих у верхній частині пульта, мають таке призначення: лампочка з написом «ВНИМАНИЕ» сигналізує про помилки та аварійні ситуації, з написом «БАТЕРЕЯ ЗАРЯЖЕНА» – про аварії живлення, в тому числі про розрядку акумулятора живлення оперативної пам’яті, лампа з символом – про перехід у відносну систему відліку, лампа з символом – про ознаку швидкого ходу (діє у режимах автоматичної обробки та введення КП), лампа з символом «+ 450 «– про ознаку переміщення під кутом + 450 (діє у режимах введення та індикації КП), лампа з символом «– 450» – про ознаку переміщення під кутом – 450 (діє у режимах введення та індикації КП).

 

3.2. Панелі керування верстатом

Загальний вид передньої панелі пристрою керування верстатом показаний на рис 3.2. Перелік і призначення цих органів наведений у
таблиці 3.2.

 

Таблиця 3.2

№ позиції на рис. 3.2. Органи керування та їх призначення. Способи застосування
  Рукоятка вхідного автомата У верхньому положенні рукоятки забезпечується робота електрообладнання верстата, у нижньому – відключення
  Валик вимикача вхідного автомата З витягуванням валика до себе – автомат блокується, з натисканням валика – розблоковується
  Кнопка «ПОДАЧА НАПРЯЖЕНИЯ» При натисканні на кнопку подається напруга на електроавтоматику верстата
  Лампа «НАЛИЧИЕ НАПРЯЖЕНИЯ» При вмиканні верстата засвічується сигнал на лампі наявності напруги
  Кнопка «ТОЛЧОК ШПИНДЕЛЯ» При натисканні кнопки відбувається обертання шпинделя до припинення натискання на кнопку
  Кнопка «СМАСКА НАПРАВЛЯЮЩИХ СТАНИН» При натисканні кнопки автоматично змащуються напрямні
  Лампа контролю змащення шпиндельної бабки Лампа світиться, якщо працює система змащення шпиндельної бабки

 



Рисунок 3.3 – Передня панель пристрою керування, розташованого на каретці
Рисунок 3.2 – Передня панель пристрою керування верстатом

 

Таблиця 3.2 – Органи пристрою керування, розташованого на каретці

 

Позиція на рис. 3.3. Органи керування, їх призначення Способи застосування
     
  Маховичок для ручних переміщень супорта Обертання маховичка визначає відповідну швидкість переміщення супорта  
Продовження таблиці 3.2
     
  Кнопка «СХОД С АВАРИЙНОГО КУЛАЧКА» При натисканні на кнопку та натисканні відповідної клавіші на пульті керування відбувається схід каретки або супорта з аварійного кулачка
  Лампочка Горіння лампочки сигналізує про наявність команди на обертання шпинделя
  Перемикач «БЛО –КИРОВКА ПУЛЬТА УПРАВЛЕНИЯ» У положенні «ВЫКЛЮЧЕНО» блокується можливість введення інформації з пульта керування (ключ знаходиться у вертикальному положенні
  Перемикач «ПУСК», «СТОП» шпинделя та подачі Перемикач на три положення: праве – дозвіл подачі та роботи шпинделя; середнє – робота шпинделя без подачі; ліве – зупинка подачі та шпинделя
  Перемикач охолод– ження Вмикання та вимикання подачі ЗОР

 

 

Таблиця 3.3 – Органи керування приводами

 

Пози-ція на рис. 3.4   Органи керу- вання, їх призначення Засоби застосування Примітка
       
  Сигналізатор заземлення Спрацьовує під час замикання ланцюга керування (110V) на ланцюг заземлення Свічення двох ламп – нормальний стан ланцюгів; свічення однієї – замикання проводу на землю  
Продовження таблиці 3.3
       
  Кнопка «ВКЛЮЧЕ-НИЕ ПРИВО-ДОВ ПОДАЧ» Умикання приводу подачі  
  Кнопка «ВЫКЛЮ- ЧЕНИЕ ПРИВОДОВ ПОДАЧ» Вимикання приводу подачі  
  Перемикач ре жимів роботи в залежності від виду затискного пристрою, яким оснащений верстат Перемикач на п’ять положень: перше (ліве) – робота з електромеханічним затискувачем по зовнішній поверхні та електромеханічним підведенням пінолі; друге – робота з ручним затискувачем патрона та електро–механічним підведенням пінолі; третє – робота з електромеханічним затискувачем у патроні по зовнішній поверхні без застосування пінолі; четверте – робота з електромеханічним затискувачем по внутрішній поверхні без застосування пінолі; п’яте (праве) – робота з ручним затискувачем патрона та підведенням пінолі    
  Лампа «ПРИ- ВОД ВКЛЮ- ЧЕН». При вмиканні приводу засвічується сигнальна лампа «ПРИВОД ВКЛЮЧЁН»    
  Лампа «ПЕРЕ ГРЕВ ДВИ-ГАТЕЛЯ» При перегріві двигуна засвічується сигнальна лампа «ПЕРЕГРЕВ ДВИГАТЕЛЯ»  
  Лампа «АВА- РИЙНОЕ ОТКЛЮЧЕНИЕ ПРИВОДА»   При аварійному відключенні приводу засвічується сигнальна лампа «АВАРИЙНОЕ ОТКЛЮЧЕНИЕ ПРИВОДА»  
Продовження таблиці 3.3
       
  Показник навантаження Показує навантаження по координаті X  
  Показник навантаження Показує навантаження по координаті Z.  
  Показник частоти Показує частоту обертання двигуна приводу головного руху.  
  Показник навантаження Показує навантаження двигуна обертання шпинделя  

 


4. Підготовка керувальної програми

У цьому розділі викладені особливості програмування для системи оперативного програмного керування (СОПК) типу «Электроника НЦ–31», якою оснащений верстат моделі 16К20Т1.02.

4.1. Загальні відомості

Керувальна програма (КП) – це сукупність кадрів, які виконуються у необхідному порядку, та визначають послідовність і зміст механічної обробки. Кожний кадр складається з двох слів і додаткових ознак. У свою чергу слово складається з:

– буквеної адреси (одна з G, F, X, Z, P, M, S, T);

– математичного знаку «–» (знак «+» в програмі не вказується);

– чисельного значення буквеної адреси.

Додатково можуть входити у склад кадрів такі ознаки:

– ознака системи відліку ;

– ознака модифікації (, +45о, –45о);

– ознака належності слова до команди .

 

4.2. Головне призначення буквених адрес. Формат адрес

 

Таблиця 4.1 – Призначення та формати буквених адрес

Бук-вена адреса Призначення Формат (у десяткових розрядах) Примітка
       
N Номер кадра   Може приймати значення від 0 до 999
G Підготовча функція    
X, Z Геометричні дані по осях X, Z у абсолютному заданні або у приростах    
S Частота обертання шпинделя або швидкість різання    
T Функція інструмента (номер інструмента)    
M Допоміжна функція      
       
Продовження таблиці 4.1
       
P   Параметри верстата й циклів обробки; команда переходу у групі команд передачі керування; витримка часу     Безумовний перехід (для зміни) порядку виконання КП).Одній дискреті відповідає витримка часу 0, 01с (максимальна величина задання – 32767 дискрет)
F Функція подачі; крок різі   При заданні подачі в одному кадрі При заданні подачі в групі кадрів

 

4.3 Підготовча функція G

Підготовчі функції, які реалізовані в системі «Электроника
НЦ–31», показані в табл. 4.2.

 

Таблиця 4.2

Підгото-вча фун-кція   Найменування   Час дії
     
G02 Кругова інтерполяція за годинниковою стрілкою (обробка дуги менше 90о) Діє в одному кадрі
G03 Кругова інтерполяція проти годинникової стрілки (обробка дуги менше 90о) –//–
G04 Витримка часу   –//–
G12 Обробка чверті кола за годинниковою стрілкою (галтель) –//–
G13 Обробка чверті кола проти годинникової стрілки (галтель) –//–
G31 Багатопрохідний цикл різенарізання –//–
G32 Однопрохідний цикл різенарізання –//–
G33 Цикл нарізання різі мітчиком або плашкою –//–
G70 Однопрохідний цикл поздовжньої обробки –//–
G73 Цикл глибокого свердління –//–
G74 Багатопрохідний цикл проточування торцевих канавок –//–
Продовження таблиці 4.2
     
G77 Багатопрохідний цикл поздовжньої чорнової обробки –//–
G78 Багатопрохідний цикл поперечної обробки –//–
G71 Однопрохідний поперечний цикл –//–
G85 Багатопрохідний цикл проточування канавок на циліндричній поверхні –//–
G92 Автоматичне зміщення нульової точки –//–
G96 Задання частоти обертання у режимі постійної швидкості різання, об/хв Діє до за-дання функції G97
G97 Функція задання швидкості різання, мм/хв Діє до за дання функції G96
G94 Програмування режиму хвилинної подачі, мм/хв Діє до за– дання функції G95
G95 Програмування режиму обертової подачі, мм/об Діє до за– дання функції G94

 

4.4. Допоміжна функція М

В системі «Электроника НЦ–31» реалізований ряд М–функцій, при значення яких описане в табл. 4.3.

 

Таблиця 4.3

Допо- міжна функція   Найменування   Час дії
     
М 00 Програмована зупинка Діє тільки у тому кадрі, де записана
М 01 Зупинка з підтвердженням   Те ж
М 3 Праве обертання шпинделя (проти годинни-кової стрілки)   Діє до заміни відповідною допоміжною функцією  
Продовження таблиці 4.3
     
М 4 Ліве обертання шпинделя (за годинниковою стрілкою) –//–
М 5 Зупинка шпинделя –//–
М 8 Вмикання подачі ЗОР –//–
М 9 Вимикання подачі ЗОР –//–
М 19 Фіксована зупинка шпинделя Діє тільки у тому кадрі, де записана
М 30 Кінець керувальної програми Те ж
М 38 Вмикання І діапазону обертання шпинделя Діє до заміни відповідною функцією
М 39 Вмикання діапазону ІІ обертання шпинделя –//–
М 40 Вмикання діапазону ІІІ обертання шпинделя –//–

 

4.5 Програмування режимів обробки

4.5.1 Програмування швидкості головного руху

Під час програмування верстата 16К20Т1.02 є можливість задання одного з двох режимів частоти обертання шпинделя:

– за допомогою підготовчої функції G96;

– за допомогою підготовчої функції G97.

Програмування швидкості різання виконують у форматі S04.

У разі застосування функції G96 цей режим називається режимом задання постійної швидкості різання і під адресою «S» у ньому програмується швидкість різання в м/хв у форматі:

G96, Р1..., Р2..., S...,

де Р1 – обмеження максимальної частоти обертання шпинделя (об/хв);

Р2 – обмеження мінімальної частоти обертання шпинделя (об/хв);

S –величина швидкості різання (м/хв).

Значення Р1 та Р2 зберігаються в пам’яті до повторного програмування функції G96 з новими значеннями Р1 та Р2.

Для програмування цього режиму вихідними даними є мінімальний та максимальний діаметри обробки, а також значення швидкості різання, з якою буде виконуватись обробка в заданому інтервалі діаметрів.

При застосуванні функції G97, цей режим задає під адресою «S» у форматі S04 швидкість шпинделя в об/хв. Цей режим встановлюється автоматично під час умикання ПЧПК, або, за необхідністю, задається у відповідному кадрі КП. Формат цього режиму такий:

G97, S...,

де S –частота обертання шпинделя (об/хв).

Під час складання КП, швидкість головного руху програмується у такій послідовності:

– задається напрям обертання приводу головного руху (М3 або М4);

– задається діапазон швидкостей (М38, або М39, або М40);

– за допомогою функцій G96 або G97 і відповідної групи слів задається швидкість різання або частота обертання шпинделя.

4.5.2. Програмування робочої подачі

В розгляданій системі ЧПК задаються контурні (хвилинна або обертова) подачі. Під контурною подачею слід розуміти швидкість переміщення інструмента, яка направлена по дотичній до запрограмованої траєкторії руху.

Для задання робочої подачі застосовують підготовчі функції G94 (режим хвилинної подачі, у мм/хв) та G95 (режим обертової подачі, у мм/об). Задання подачі відбувається за допомогою адреси «F». Формат адреси «F» залежить від того, яким чином задана подача: окремим кадром чи у групі кадрів (див. табл.4.1). Так, під час задання подачі по двох координатах число після адресного символу F дорівнює величині подачі у мм/хв., помноженої на 100 (дискрета 0, 01 мм); у випадках лінійної інтерполяції одночасно по двох осях та кругової інтерполяції величина подачі домножується на 10000 (дискрета 0, 0001 мм); під час задання подачі у мм/об або в мм/хв по одній осі величина подачі множиться на 100 або залишається без змін відповідно. Тобто, під час задання подачі в одному кадрі формат адреси «F» має вигляд: F04; під час заданні подачі в групі кадрів формат адреси «F» буде F06.

4.6 Програмування номера інструмента

Револьверна головка верстата моделі 16К20Т1.02 має шість позицій (номера позицій написані на лицьовій площині головки). Поворот головки для встановлення необхідного інструмента в робочу позицію відбувається за функцією «Т» з одночасним числом (наприклад, Т1, Т3, Т6). Число означає номер позиції.

Після установки інструмента в робочу позицію за функцією «Т» відбувається автоматичний перерахунок координат вершини інструмента у відповідності з вильотом даного інструмента, визначеного в режимі «РОЗМІРНА ПРИВ’ЯЗКА ІНСТРУМЕНТА».

4.7 Програмування переміщень

4.7.1 Системи відліку

Система ЧПК «Электроника НЦ–31», як і більшість сучасних СЧПК, дає можливість задавати переміщення інструмента як в абсолютній, так і у відносній системах відліку.

В абсолютній системі відліку (АСВ) переміщення відбуваються відносно нульової точки системи координат деталі, розташування якої попередньо вибирається виходячи з умови зручності розробки КП. У відносній системі відліку (ВСВ) переміщення виконуються відносно кінцевої точки попереднього кадра.

Задання розмірів по осях X та Z у АСВ та ВСВ визначається наявністю ознаки у відповідній адресі (X або Z). Наявність ознаки визначає відносний спосіб відліку переміщень; відсутність цієї ознаки – абсолютний.

 

4.7.2 Позиціювання (швидкий рух)

Задання переміщення вздовж осі X або осі Z забезпечується відповідно, командами з буквеними адресами «X» або «Z». Формат адрес відповідно X7 та Z7. Одній дискреті по осі Z відповідає переміщення 0, 01 мм, а по осі X – 0, 005 мм. Необхідно враховувати, що значення X задається не на радіус, а на діаметр.

При позиціюванні крім буквених адрес X та Z повинна задаватись ознака швидкого руху .

 

4.7.3 Переміщення з робочою подачею

Переміщення вздовж осей X або Z із робочою подачею забезпечується кадрами з буквеними адресами «X» або «Z» виду: X (Z)... (дискретність переміщення по осі «X «складає 0, 005 мм).

 

4.7.4 Позиціювання по двох осях

Допоміжне переміщення інструмента одночасно по двох осях задається командою вигляду: X...*; Z....

Траєкторія руху та значення кута нахилу залежать від значення подач швидкого руху по кожній з осей.

 

4.7.5 Обробка фасок

Частковим випадком переміщень по двох осях є обробка фасок під кутом 45о. Завдання на обробку фаски під кутом +45о задається командою з буквенною адресою «X «або «Z «з ознакою «+45о» або «– 45о». під час програмування обробки фаски необхідно вказати в команді ознаку +45о або – 45о. Знак в ознаці відповідає знаку напрямку руху по координаті, адреса якої відсутня в команді.

Типові випадки обробки фасок показані в табл. 4.5:

 

Таблиця 4.5

Рух різання Способи задання
  Задано X Задано Z
+Z +X   + 45о X...   – 45о Z...
+Z     +X   – 45о X   + 45о Z...
+Z     +X   + 45о X...   + 45о Z...
+Z     +X   – 45о X...   – 45о Z...

 

4.7.6. Кругова інтерполяція

Для обробки поверхонь по дузі кола з довільним кутом, використовують команди G2 та G3.

G2 забезпечує рух по колу за годинниковою стрілкою, G3 – проти годинникової стрілки. У даній системі ЧПК за допомогою цих функцій можна запрограмувати рух інструмента по дузі кола, не більшій 90о. Рух по дузі кола, яка належить одразу двом квадрантам, не може бути запрограмований в одному кадрі. У такому випадку потрібно розділити цю дугу на дві дуги, що межують між собою.

Формат команд G2 та G3 має вигляд:

 

G2 (G3), X ()..., Z ()..., P1 ...,

де X() – величина приросту по осі X або ж кінцева точка дуги під час роботі у абсолютній системі відліку;

Z () – те ж саме, але по осі Z;

Р1 – проекція від початкової точки дуги до центру дуги по осі X;

Р2 – те ж саме, але по осі Z.

 


4.7.8. Обробка галтелей та скруглень

В системі «Электроника НЦ–31» передбачено спрощене задання обробки дуг кіл із кутом 90о за допомогою функцій G12 та G13 (G12 – округлення за годинниковою стрілкою, G13 – те ж саме, але проти годинникової стрілки).

Формат команд G12 та G13 має вигляд:

 

G12 (G13), X ()..., Z ()...,

 

де X () величина прирощення по осі X або кінцева точка дуги під час роботі в абсолютній системі відліку;

Z () – те жсаме, але по осі Z.

 

4.8. Повторення частини програми за функцією G25

Для зручності програмування, скорочення тексту КП, спрощення її налагодження є можливість звертатися до будь – якої частини КП з різних місць за функцією G25, яка маєтакий формат:


Поделиться с друзьями:

mylektsii.su - Мои Лекции - 2015-2026 год. (3.432 сек.)Все материалы представленные на сайте исключительно с целью ознакомления читателями и не преследуют коммерческих целей или нарушение авторских прав Пожаловаться на материал