Студопедия

Главная страница Случайная страница

КАТЕГОРИИ:

АвтомобилиАстрономияБиологияГеографияДом и садДругие языкиДругоеИнформатикаИсторияКультураЛитератураЛогикаМатематикаМедицинаМеталлургияМеханикаОбразованиеОхрана трудаПедагогикаПолитикаПравоПсихологияРелигияРиторикаСоциологияСпортСтроительствоТехнологияТуризмФизикаФилософияФинансыХимияЧерчениеЭкологияЭкономикаЭлектроника






Местные установки и устройства систем внутренней канализации






В состав систем внутренней канализации зданий в ряде случаев могут входить установки для перекачки сточных вод, для предварительной очистки, нейтрализации и усреднения стоков, для очистки сточных вод отдельно стоящих зданий и др.

Установки для перекачки сточных вод. Перекачка сточных вод из сети внутренней канализации в наружную канализационную сеть необходима в тех случаях, когда приемники сточных вод расположены ниже отметки заложения труб сети наружной канализации.

Сточные воды направляют в резервуары, расположенные, как правило, вне здания или в исключительных случаях (с разрешения санитарных органов) внутри здания. В резервуаре, оборудованном приточно-вытяжным вентиляционным устройством и сигнализацией уровня, должны быть установлены решетки для задержания крупных загрязнений и устройство для взмучивания осадка, а также устроен приямок для размещения всасывающего клапана водоподъемника. Объем резервуара рассчитывают с учетом графика часового притока сточных вод и режима работы насосов. При автоматической работе насосов объем резервуара определяют из условия включения насосов не более 6 раз за 1 ч. При отсутствии графика притока сточных вод объем резервуара можно принимать равным 5-10% максимального часового притока сточных вод. Резервуары выполняют из бетона, железобетона или кирпича с надежной гидроизоляцией. Из резервуаров сточные воды перекачивают водоподъемниками в наружную сеть. Водоподъемниками обычно служат насосные или пневматические установки.

 

 

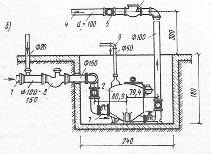
Пневматическая установка для перекачки сточных

Пневматическая установка для перекачки сточных вод представляет собой герметически закрытый резервуар объемом, куда сточная жидкость поступает самотеком по подающему трубопроводу. На подающем трубопроводе устанавливаются обратный клапан, задвижка и гидравлический затвор. На напорном трубопроводе, присоединенном к нижней части резервуара, также устанавливаются обратный клапан и задвижка. К верхней части резервуара присоединяют трубопровод, по которому при срабатывании реле уровня подается сжатый воздух от компрессора. Для обеспечения бесперебойной работы канализационной системы часто применяют пневматическую установку с двумя приемными резервуарами.

Пневматические установки расходуют около 3 м3 воздуха на 1 м3 сточных вод. Размещают их в помещениях, оборудованных приточно-вытяжной вентиляцией. Расчет объема резервуаров проводят аналогичного расчету объема приемных резервуаров насосной установки для перекачки сточных вод.

 


Поделиться с друзьями:

mylektsii.su - Мои Лекции - 2015-2026 год. (1.458 сек.)Все материалы представленные на сайте исключительно с целью ознакомления читателями и не преследуют коммерческих целей или нарушение авторских прав Пожаловаться на материал