Студопедия

Главная страница Случайная страница

КАТЕГОРИИ:

АвтомобилиАстрономияБиологияГеографияДом и садДругие языкиДругоеИнформатикаИсторияКультураЛитератураЛогикаМатематикаМедицинаМеталлургияМеханикаОбразованиеОхрана трудаПедагогикаПолитикаПравоПсихологияРелигияРиторикаСоциологияСпортСтроительствоТехнологияТуризмФизикаФилософияФинансыХимияЧерчениеЭкологияЭкономикаЭлектроника






Сооружения механической очистки сточных вод






Решетки предназначены для задержания крупных загрязнений. Устанавливают их в приемных резервуарах насосных станций перекачки на очистных станциях или на канале, подводящем сточные воды на очистные сооружения. Эффективнее устанавливать решетки и в приемном резервуаре, и на канале.

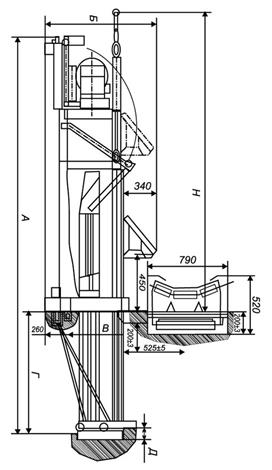
Различают также решетки с ручной и механизированной очисткой от отбросов. Механизированная очистка решеток обязательна при количестве отбросов более 0, 1 м3/сут. На рис. К-23 приведена схема установки неподвижной решетки с механизированной очисткой.

 

Рис. К-23. Решетки с механизированной очисткой

Решетка очищается движущимися граблями, зубцы которых входят в прозоры между ее стержнями, и снимает отбросы. Снятые отбросы поступают на конвейер и направляются в дробилку для размельчения. При количестве отбросов более 1 т/сут кроме рабочей дробилки устанавливается резервная. Измельченные отбросы сбрасываются в сточную жидкость перед решетками или перекачиваются в метантенки. Применяются и другие типы решеток.

Ширину прозоров решеток на очистных станциях следует принимать равной 16 мм. Число прозоров в решетке и основные ее размеры принимают с таким расчетом, чтобы скорость движения сточной жидкости в прозорах при максимальном притоке составляла 0, 8-1 м/с.

Количество снимаемых с решеток отбросов составляет 8 л/год на одного человека.

 

В отечественной практике получают распространение решетки-дробилки, которые задерживают отбросы и дробят их под водой.

 

 

Рис. К-24. Решетки-дробилки

Преимущество решеток-дробилок заключается в том, что для них не требуется устраивать специальные помещения. Кроме этого на насосных станциях перекачки могут применяться насосы, оборудованные режущими устройствами.

Песколовки предназначены для задержания загрязнений минерального происхождения, главным образом песка с крупностью частиц более 0, 2-0, 25 мм, В результате задержания песка в песколовках облегчаются условия эксплуатации последующих сооружений. Легкие частицы органического происхождения должны выноситься из песколовок. Принцип работы песколовки основан на том, что частицы, плотность которых больше плотности воды, по мере движения вместе с водой выпадают на дно песколовки под действием силы тяжести. Песколовки бывают горизонтальные и с вращательным движением воды (тангенциальные и аэрируемые).

Горизонтальные песколовки могут быть с прямолинейным и круговым движением воды. Скорость движения воды в них при максимальном расходе принимают равной 0, 3 м/с, а при минимальном - не менее 0, 15 м/с.

 

 

Рис. К-25. Горизонтальная песколовка с прямолинейным движением воды и механизированным удалением осадка

 

Выпавший песок сгребается к приямку скребковым механизмом 1. Из приямка песок удаляется гидроэлеватором 2 (или песковым насосом).

Песчаная, пульпа подается в гидроциклон, где песок отделяется и направляется в песковый бункер. Там же одновременно осуществляется отмывка органических веществ.

 

Рис. К-26. Горизонтальная песколовка с круговым движением воды

Кольцевой лоток, по которому проходит сточная жидкость, работает как обычная горизонтальная песколовка. Выпадающий песок скапливается в конической части песколовки, откуда его удаляют гидроэлеватором, расположенным в центре песколовки.

 

Отстойники (первичные) служат для задержания нерастворенных загрязнений, находящихся в сточной жидкости. Эти загрязнения выпадают на дно отстойников или всплывают на поверхность жидкости в них вследствие малой скорости ее протекания. В зависимости от направления потока различают горизонтальные, вертикальные и радиальные отстойники. Разновидностью отстойников являются также отстойники-перегниватели, в которых происходит осветление сточной жидкости и одновременно перегнивание выпавшего осадка, К ним относятся двухъярусные отстойники и осветлители-перегниватели.

Первичные отстойники применяют как сооружения предварительной очистки сточных вод перед сооружениями биологической очистки. Если по санитарным условиям достаточно только механической очистки сточных вод, то осветленные в отстойнике воды после дезинфекции сбрасываются в водоем.

При очистке бытовых сточных вод принимают не менее двух отстойников, при этом каждый из них является рабочим.

Горизонтальный отстойник представляет собой прямоугольный в плане резервуар, разделенный на несколько отделений. Сточная жидкость поступает в отстойник с торцевой стороны, с малой скоростью проходит через него, а затем осветленная попадает в отводной канал.

 

Рис. К-27. Горизонтальный отстойник со скребковой тележкой

В первичных отстойниках образуется плотный малотекучий осадок. Для сгребания его к приямку отстойники оборудуются скребковыми цепными механизмами (рис. К-28) или скребковыми тележками (рис. К-27 и К-29).

 

Рис. К-28. Горизонтальный отстойник с цепным скребковым механизмам

Горизонтальные отстойники обычно применяют на очистных станциях пропускной способностью более 15000 м3/сут.

Вертикальный отстойник представляет собой круглый, квадратный или прямоугольный в плане резервуар с конусным или пирамидальным днищем.

Вертикальные отстойники обычно применяют на очистных станциях пропускной способностью до 15 000 м3/сут, располагающихся на плотных грунтах с низким уровнем подземных вод.

 

Рис. К-30. Вертикальный отстойник

Сточная жидкость по центральной трубе (рис. К-30) поступает в низ цилиндрической части отстойника, где меняет направление, относительно равномерно распределяясь по всему его поперечному сечению. Затем сточная жидкость поднимается вверх, и сливается через кольцевой водослив в сборный лоток. Во время отстаивания из сточной жидкости выпадают те взвешенные частицы, у которых скорость осаждения больше скорости восходящего потока.

Диаметр вертикальных отстойников принимают от 4 до 9 м, высоту отстойной части - от 2, 7 до 3, 8 м. Длина центральной трубы должна равняться расчетной высоте отстойной части. Уклон стенок осадочной части должен быть не менее 50º.

Радиальный отстойник (рис. К-31) представляет собой круглый в плане резервуар малой глубины, в котором поток движется от центра к периферии. Сточные воды поступают в отстойник по центральной трубе, а осветленные отводятся по кольцевому лотку. Осадок сгребается к центру отстойника скребками, подвешенными к ферме. В центре отстойника устраивается приямок для сбора осадка. Осадок удаляют с помощью насосов.

Радиальные отстойники применяют для очистных станций с пропускной способностью более 20 000 м3/сут.

 

Рис. К-31. Радиальный первичный отстойник

 

 

Рис. К-32. Блок из четырех радиальных отстойников


Поделиться с друзьями:

mylektsii.su - Мои Лекции - 2015-2026 год. (0.346 сек.)Все материалы представленные на сайте исключительно с целью ознакомления читателями и не преследуют коммерческих целей или нарушение авторских прав Пожаловаться на материал