Студопедия

Главная страница Случайная страница

КАТЕГОРИИ:

АвтомобилиАстрономияБиологияГеографияДом и садДругие языкиДругоеИнформатикаИсторияКультураЛитератураЛогикаМатематикаМедицинаМеталлургияМеханикаОбразованиеОхрана трудаПедагогикаПолитикаПравоПсихологияРелигияРиторикаСоциологияСпортСтроительствоТехнологияТуризмФизикаФилософияФинансыХимияЧерчениеЭкологияЭкономикаЭлектроника






Золотниковые гидрораспределители






Запорно-регулирующим элементом золотниковых гидрораспределителей является цилиндрический золотник 1, который в зависимости от числа каналов (подводов) 3 в корпусе 2 может иметь один, два и более поясков (рис.5.1, а). На схемах гидрораспределители обозначают в виде подвижного элемента, на котором указываются линии связи, проходы и элементы управления. Рабочую позицию подвижного элемента изображают квадратом (прямоугольником), число позиций соответствует числу квадратов (рис.5.1, б).

Рис.5.1. Схема (а) и обозначение (б) гидрораспределителя

Рассмотрим принцип работы распределителя (рис.5.2). В первой (исходной) позиции все линии А, В, Р и Т, подходящие к распределителю разобщены, т.е. перекрыты (рис.5.2, а). При смещении золотника влево распределитель переходит во вторую позицию, в которой попарно соединены линии Р и А, В и Т (рис.5.2, б). При смещении золотника вправо - в третью, где соединяются линии Р и В, А и Т (рис.5.2, в). Такой распределитель часто называют реверсивным, так как он используется для остановки и изменения направления движения исполнительных органов.

Рис.5.2. Схема работы золотникового гидрораспределителя

В зависимости от числа подводов (линий, ходов) распределители могут быть двухходовые (двухлинейные); трехходовые (трехлинейные), четырех- и многоходовые. В соответствии с этим в обозначениях гидрораспределителей первая цифра говорит о числе подводов. Например, из обозначения гидрораспределителя " 4/2" можно понять, что он имеет 4 подвода, т.е. он четырехходовой (четырехлинейный).

Вторая цифра в обозначении говорит о числе позиций. То же обозначение распределителя " 4/2" говорит, что у него две позиции.

Примеры обозначения распределителей приведены на рис.5.3.

Рис.5.3. Примеры обозначения типов распределителей

Управление положением золотника распределителя может быть нескольких типов. Подробные способы управления представлены в табл.5.1.

Таблица 5.1

Виды управления распределителями

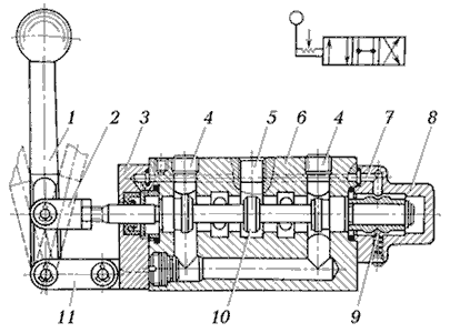
Устройство ручного гидрораспределителя 4/3 и его условного обозначения представлено на рис.5.4. Переключение позиций распределителя осуществляется рукояткой 1, которая при помощи серьги 2 шарнирно присоединяется к золотнику 10. С корпусом 6 рукоятка шарнирно соединена с ушком 11. Для фиксации каждого положения золотника служит шариковый фиксатор 9, помещенный в задней крышке 8. Утечки жидкости по золотнику со стороны передней крышки 3 исключаются манжетным уплотнением. Рабочая жидкость подводится к отверстию 5, а отводится через отверстие 4. Канал 7 дренажный, служит для отвода утечек.

На рис.5.5 изображен гидрораспределитель с электрогидравлическим управлением и его уловное обозначение. Он состоит из основного гидрораспределителя 2 с гидравлическим управлением и вспомогательного гидрораспределителя 1 с электромагнитным управлением. Основной гидрораспределитель управляет потоком рабочей жидкости гидросистемы, а вспомогательный регулирует поток управления. Такие гидрораспределители применяют в гидроприводах с дистанционным и автоматическим управлением при больших расходах и высоком давлении в гидросистеме, когда применение гидрораспределителей с электромагнитным управлением невозможно.

Рис.5.4. Гидрораспределитель с ручным управлением

Рис.5.5. Гидрораспределитель с электрогидравлическим управлением

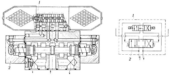
В зависимости от числа золотников гидрораспределители подразделяют на распределители с одним и несколькими золотниками. В последнем случае распределители могту быть моноблочными или секционными. Секции распределителя соединяют между собой болтами. На рис.5.6 представлен моноблочный гидрораспределитель.

Рис.5.6. Общий вид (а) и продольный разрез (б) моноблочного
четырехзолотникового гидрораспределителя

Золотники гидрораспределителя могут выполняться в трех исполнениях (рис.5.7).

Золотники с положительным осевым перекрытием (рис.5.7, а) имеют ширину поясков b больше, чем ширину проточки c или диаметр рабочих окон в корпусе. При нейтральном положении золотника такого гидрорапределителя напорная гидролиния отделена от линий, соединяющих полости гидродвигателя и слива. Величина перекрытия П = (b - c) / 2 зависит от диаметра золотника: при d = 10…12 мм перекрытие принимают равным 1…2 мм; при d до 25 мм - 3…5 мм; при d до 50 мм - 6…8 мм. Золотники с положительным осевым перекрытием позволяют фиксировать положение исполнительного механизма. Недостатком является наличие у них зоны нечувствительности, определяемой величиной осевого перекрытия: в пределах этой зоны при перемещении золотника расход жидкости через гидрораспределитель равен нулю, а исполнительный механизм не движется, несмотря на подаваемый к золотнику сигнал управления.

Рис.5.7. Конструктивные исполнения золотников

Золотники с нулевым осевым перекрытием (рис.5.7, б) имеют ширину пояска b равную ширине проточки c или диаметру рабочих окон, а осевое перекрытие П = 0. Такие золотники не имеют зоны нечувствительности и наилучшим образом удовлетворяют требованиям следящих гидросистем. Однако изготовление таких золотников связано со значительными технологическими трудностями.

Золотники с отрицательным осевым перекрытием (рис.5.7, в), у которых b < c; при нейтральном положении их напорная гидролиния соединена со сливом и с обеими полостями гидродвигателя. При этом жидкость через зазоры непрерывно поступает на слив, а в обеих полостях гидродвигателя устанавливается одинаковое давление. В гидрораспределителях с таким золотником зона нечувствительности сводится к минимуму, но из-за слива рабочей жидкости часть мощности теряется. Кроме этого, гидросистема с таким золотником будет иметь меньшую жесткость, так как из-за перетекания жидкости через начальные зазоры в золотнике будет переходить смещение исполнительного механизма при изменении преодолеваемой нагрузки.


Поделиться с друзьями:

mylektsii.su - Мои Лекции - 2015-2026 год. (1.046 сек.)Все материалы представленные на сайте исключительно с целью ознакомления читателями и не преследуют коммерческих целей или нарушение авторских прав Пожаловаться на материал