Студопедия

Главная страница Случайная страница

КАТЕГОРИИ:

АвтомобилиАстрономияБиологияГеографияДом и садДругие языкиДругоеИнформатикаИсторияКультураЛитератураЛогикаМатематикаМедицинаМеталлургияМеханикаОбразованиеОхрана трудаПедагогикаПолитикаПравоПсихологияРелигияРиторикаСоциологияСпортСтроительствоТехнологияТуризмФизикаФилософияФинансыХимияЧерчениеЭкологияЭкономикаЭлектроника






Напорные гидроклапаны






Напорные гидроклапаны предназначены для ограничения давления в подводимых к ним потоках рабочей жидкости. На рис.6.1 приведены принципиальные схемы напорных клапанов прямого действия с шариковым, конусным, плунжерным и тарельчатым запорно-регулирующими элементами.

Рис.6.1. Принципиальные схемы напорных клапанов с запорно-регулирующими элементами:
а - с шариковым; б - с конусным; в - с золотниковым; г - с тарельчатым

Клапан состоит из запорно-регулирующего элемента 1 (шарика, конуса и т.д.), пружины 2, натяжение которой можно изменять регулировочным винтом 3. Отверстие 5 корпуса 4 соединяется с линией высокого давления, а отверстие 6 - со сливной линией. Часть корпуса, с которой запорно-регулирующий элемент клапана приходит в соприкосновение, называется седлом (посадочным местом).

При установке клапана в гидросистему пружина 2 настраивается так, чтобы создаваемое ею давление было больше рабочего, тогда запорно-регулирующий элемент будет прижат к седлу, а линия слива будет отделена от линии высоко давления. При повышении давления в подводимом потоке сверх регламентированного запорно-регулирующий элемент клапана перемещается вверх, преодолевая усилие пружины, рабочее проходное сечение клапана открывается, и гидролиния высокого давления соединяется со сливной. Вся рабочая жидкость идет через клапан на слив. Как только давление в напорной гидролинии упадет, клапан закроется, и если причина, вызвавшая повышение давления не будет устранена, процесс повторится.

Возникает вибрация запорно-регулирующего элемента, сопровождаемая ударами о седло и колебаниями давления в системе. Вибрация и удары могут служить причиной износа и потери герметичности клапанов.

Для уменьшения силы удара и частоты колебаний клапана о седло применяют специальные гидравлические демпферы (рис.6.1, б, г). Устройство состоит из камеры 7, в которой перемещается плунжер 8. Камера заполнена жидкостью. С линией слива эта камера соединяется тонким калибровочным отверстием 9 диаметром 0, 8…1 мм. При открывании клапана плунжер вытесняет жидкость из камеры демпфера. Создаваемое при этом гидравлическое сопротивление, пропорциональное скорости движения плунжера, уменьшает частоту колебаний, силу удара запорно- регулирующего элемента и частично устраняет его вибрацию.

Достоинство клапанов прямого действия - высокое быстродействие. Недостаток - увеличение размеров при повышении рабочего давления, а также нестабильность работы.

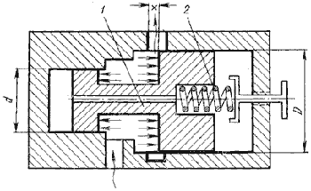
При конструировании напорных клапанов их габарит и массу можно уменьшить, если применить дифференциальные клапаны или клапаны непрямого действия.

Дифференциальный клапан (рис.6.2) состоит из плунжера 1, который имеет два пояска диаметрами D и d, на которые воздействует жидкость.

Рис.6.2. Принципиальная схема дифференциального клапана

Благодаря наличию поясков с разными диаметрами уменьшается активная площадь запорно-регулирующего элемента клапана, на которую воздействует жидкость, и он оказывается частично разгруженным. Это позволяет уменьшить размеры пружины и всего клапана в целом. Начальная сила натяжения пружины 2 определяется из уравнения

С уменьшением разности площадей поясков хотя и уменьшается усилие пружины, но одновременно уменьшается и соотношение действующих на запорно-регулирующий элемент клапана сил давления жидкости и сил трения этого элемента о корпус клапана. При определенных соотношениях D и d эти силы могут оказаться несоизмеримы между собой и клапан перестанет работать. Поэтому в реальных конструкциях дифференциальных клапанов принимают следующее соотношение:

Недостатком дифференциальных клапанов является скачкообразное изменение давления и расхода через клапан в момент его открытия. Поэтому величину хода запорно-регулирующего элемента клапана ограничивают величиной

Еще большего уменьшения размеров пружины и всего клапан в целом при одновременном повышении его герметичности можно достигнуть в клапанах непрямого действия (рис.6.3).

Рис.6.3. Напорный клапан непрямого действия:
а - принципиальная схема; б - условное обозначение

Клапан состоит из основного запорно-регулирующего элемента - золотника 1 ступенчатой формы; нерегулируемой пружины 2 и вспомогательного запорно-регулирующего элемента 3 в виде шарикового клапана прямого действия. Усилие пружины 4 шарикового клапана регулируется винтом 5. Каналами в корпусе клапана полости 7 и 8 соединены с гидролинией 10 высокого давления. Полость 6 соединена с полостью 8 капиллярным каналом 9 в золотнике. Пружины шарикового клапана 3 настраивается на давление PК (на 10…20% больше максимального рабочего в гидросистеме).

Если при работе машины давление в гидросистеме PН < PК, шариковый клапан закрыт, в полостях 6, 7, 8 устанавливается одинаковое давление PН, золотник 1 под воздействием пружины 2 занимает крайнее нижнее положение, а гидролиния высокого давления 10 отделена от гидролинии слива 11 (положение клапана соответствует изображенному на рис.6.3). Изменение давление в гидросистеме вызывает изменения давления в полостях 6, 7, 8 клапана. В тот момент, когда давление P Н превысит PК, шариковый клапан 3 откроется и через него жидкость в небольшом количестве начнет поступать на слив. В капиллярном канале золотника создается течение жидкости с потерей давления на преодоление гидравлических сопротивлений. Вследствие этого давление жидкости в полости 6 станет меньше давления в полостях 7 и 8. Под действием образовавшегося перепада давлений золотник 1 переместится вверх, сжимая пружину и соединяя линию 10 с линией 11. Рабочая жидкость будет поступать на слив, и перегрузки гидросистемы не произойдет. Однако как только линия высокого давления соединится со сливом, давление жидкости в гидросистеме уменьшится до PН < PК, шариковый клапан закроется и течение жидкости по капиллярному каналу прекратится. Давление в полостях 6, 7 и 8 выровняется и под воздействием пружины 2 золотник возвратится в исходное положение, снова отделив линию высокого давления от слива. Если причина, вызвавшая повышение давления в гидросистеме, не будет устранена, процесс повторится и золотник в конечном итоге установится на определенной высоте, при которой давление в гидросистеме будет поддерживаться постоянным.

Когда клапан находится в работе, золотник совершает колебательные движения. Уменьшению колебаний золотника способствует полость 7, оказывающая на него демпфирующее влияние.

Для разгрузки системы или какого-либо ее учатка клапаны непрямого действия могут управляться дистанционно. Для этого полость 6 посредством канала 12 и крана 13 необходимо соединить со сливом. В результате давление в полости 6 резко упадет, золотник 1 поднимется вверх, а линия высокого давления 10 соединится со сливом 11.

По сравнению с клапанами прямого действия клапаны непрямого действия обладают рядом преимуществ:
1. Плавность и бесшумность работы.
2. Повышенная чувствительность.
3. Давление на входе в клапан поддерживается постоянным и не зависит от расхода рабочей жидкости через клапан.


Поделиться с друзьями:

mylektsii.su - Мои Лекции - 2015-2026 год. (0.999 сек.)Все материалы представленные на сайте исключительно с целью ознакомления читателями и не преследуют коммерческих целей или нарушение авторских прав Пожаловаться на материал