Студопедия

Главная страница Случайная страница

КАТЕГОРИИ:

АвтомобилиАстрономияБиологияГеографияДом и садДругие языкиДругоеИнформатикаИсторияКультураЛитератураЛогикаМатематикаМедицинаМеталлургияМеханикаОбразованиеОхрана трудаПедагогикаПолитикаПравоПсихологияРелигияРиторикаСоциологияСпортСтроительствоТехнологияТуризмФизикаФилософияФинансыХимияЧерчениеЭкологияЭкономикаЭлектроника






Делители (сумматоры) потока






Делителем потока называется клапан соотношения расходов, предназначенный для разделения одного потока рабочей жидкости на два и более равных потока независимо от величины противодавления в каждом из них. Делители потока применяют в гидроприводах машин, в которых требуется обеспечить синхронизацию движения выходных звеньев параллельно работающих гидродвигателей, преодолевающих неодинаковую нагрузку.

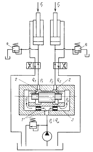
Рис.6.9. Делитель потока:
а - принципиальная схема; б - условное обозначение;
в - условное обозначение сумматора потока

Делитель потока (рис.6.9) состоит из двух нерегулируемых дросселей 1 и двух дросселей 2, проходные сечения которых могут автоматически изменяться благодаря перемещению плунжера 3. При равенстве нагрузок (F1 = F2) и площадей поршней гидроцилиндров давление P1 = P2, перепад давлений Δ P = (P3 - P4) = 0, плунжер 3 делителя занимает среднее положение, а расходы в обеих линиях одинаковые. Если нагрузка на один из любых гидродвигателей изменится, то под действием возникшего перепада давлений у плунжера делителя он начнет смещаться из среднего положения, изменяя одновременно проходные сечения дросселей 2. Перемещение прекратится, когда давления P3 и P4 выровняются. В этом положении плунжера расходы в обеих ветвях будут одинаковыми. Таким образом, поддержание равенства расходов в обеих ветвях осуществляется за счет дросселирования потока в той ветви, где гидродвигатель нагружен меньше.

Делитель потока может также быть и сумматором потока (рис.6.9, в). В этом случае в подводимых к нему двух трубопроводах поддерживается постоянный расход рабочей жидкости.


Поделиться с друзьями:

mylektsii.su - Мои Лекции - 2015-2026 год. (0.983 сек.)Все материалы представленные на сайте исключительно с целью ознакомления читателями и не преследуют коммерческих целей или нарушение авторских прав Пожаловаться на материал