Студопедия

Главная страница Случайная страница

КАТЕГОРИИ:

АвтомобилиАстрономияБиологияГеографияДом и садДругие языкиДругоеИнформатикаИсторияКультураЛитератураЛогикаМатематикаМедицинаМеталлургияМеханикаОбразованиеОхрана трудаПедагогикаПолитикаПравоПсихологияРелигияРиторикаСоциологияСпортСтроительствоТехнологияТуризмФизикаФилософияФинансыХимияЧерчениеЭкологияЭкономикаЭлектроника






Блок сотового увлажнения






Блок сотового увлажнения по принципу действия относится к кон-

тактным аппаратам с орошаемой насадкой, когда контакт между воздухом

и жидкостью достигается смачиванием развитой поверхности гигроско-

пичной насадки при ее орошении. Воздух, проходя через «соты», контак-

тирует с влагой, которая пропитывает пористую поверхность насадки. Яв-

ная теплота, содержащаяся в воздухе, затрачивается на испарение влаги с

поверхности насадки и переходит в скрытую теплоту, процесс идет без

подвода и отвода теплоты извне и его можно считать изоэнтальпийным.

Применение гигроскопического материала для насадки в орошаемых

слоях позволяет получить высокую эффективность процессов адиабатного увлажнения (Еа = 0, 8) при малых значениях коэффициента орошения (m = 0, 1 – 0, 2) и сравнительно небольшом аэродинамическом сопротивлении.

Блок сотового увлажнения не используется для осушки и охлажде-

ния воздуха, так как при работе в этом режиме необходимы более высокие значения коэффициентов орошения (m = 1, 5 – 2, 5), которые достигаются в контактных аппаратах с насадкой

при полном покрытии поверхности

насадки пленкой орошающей воды

и значительной площади поверхно-

сти насадки.

В составе практически всех

центральных кондиционеров ис-

пользуются блоки сотового увлаж-

нения компании «Munters». В качестве насадки используется кассета

в защитном кожухе из нержавеющей стали, заполненная стеклово-

локнистым материалом GLASdek3, содержащим также целлюлозу. В блоке сотового увлажнения (рис. 7.4) может быть несколько кассет, их количество зависит от производительности блока и определяется его типоразмером. Под кассетами устанавливается поддон из нержавеющей стали, над кассетами установлены коллекторы с форсунками для распределения орошающей воды, соединенные гибкими трубопроводами с распределительным коллектором.

Система водоснабжения может быть оборотная с циркуляционным

насосом или с непосредственной подачей воды из водопровода. Первая ис-

пользуется чаще благодаря малому потреблению воды. Вторая обычно ис-

пользуется в случаях, когда вода имеет низкое качество, а также при крат-

ковременном использовании блока увлажнения.

В системе циркуляционного водоснабжения поддон заполняется хо-

лодной водой из водопровода, постоянный уровень воды в поддоне под-

держивается с помощью поплавкового клапана (рис. 7.5). Из поддона вода

забирается циркуляционным насосом и подается в распределительные

коллекторы и дальше – к форсункам на орошение насадки. В процессе ув-

лажнения воздуха количество циркулирующей воды уменьшается и воз-

растает концентрация минеральных веществ и солей, содержащихся в во-

де. Для поддержания постоянного расхода циркулирующей воды и предот-

вращения отложения минералов и солей в поддоне и на поверхности тру-

бопроводов производится постоянная подпитка воды из водопровода.

В конструкции системы оборотного водоснабжения предусмотрен обвод-

ной сливной трубопровод с клапаном регулирования расхода воды. Расход

сливного потока поддерживается на уровне, который обеспечивает задан-

ное значение концентрации минеральных веществ в оборотной воде.

Рис. 7.5. Система оборотного водоснабжения блока сотового увлажнения:

1 – кассета увлажнителя;

2 – коллекторы с форсунками;

3 – водораспределительный шланг;

4 – поплавок;

5 – поплавковый клапан;

6 – клапан слива из поддона;

7 – отводной слив;

8 – распределительный коллектор;

9 – клапан регулирования

расхода воды;

10 – насос;

11 – сливной трубопровод;

12 – перелив;

13 – сброс давления;

А – подаваемый воздух;

В – увлажненный воздух; С – холодная вода из магистрального трубопровода; D – сливаемая вода

В системе с непосредственной подачей вода из водопровода посту-

пает через клапаны постоянного расхода прямо в распределительный кол-

лектор (рис. 7.6). Клапаны постоянного расхода воды обеспечивают тре-

буемые значения расхода воды и давления, необходимые для ее распреде-

ления. Избыток воды, не расходуемой на испарение, промывает кассеты и

сбрасывается через дренажные трубопроводы в канализацию.

 

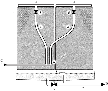
Рис. 7.6. Система прямого водоснабжения блока сотового увлажнения:

1 – кассета увлажнителя;

2 – коллекторы с форсунками;

3 – водораспред-льный шланг;

4 – подвод воды из магистрального трубопровода;

5 – клапан регулирования расхода воды;

6 –водораспределительный

коллектор;

7 – сливной трубопровод;

8 – перелив;

9 – клапан слива из поддона;

А – подаваемый воздух;

В – увлажненный воздух;

С – вода из магистрального трубопровода;

D – сливаемая вода

Кассеты сотового увлажнителя выпускаются с тремя размерами по

глубине – 100 мм (FA6 65), 200 мм (FA6 85) и 300 мм (FA6 95), которым

соответствуют значения коэффициента эффективности процесса адиабат-

ного увлажнения 0, 65, 0, 85 и 0, 95.

Преимущества блоков сотового увлажнения:

- малое аэродинамическое сопротивление и, как следствие, малое

энергопотребление по сравнению с другими блоками увлажнения;

- высокие значения коэффициента эффективности процесса тепло-

массообмена за счет прямого контакта воздуха и воды, возможность изме-

нения коэффициента эффективности за счет применения насадок разной

глубины;

- компактная конструкция и малые размеры, так как отсутствуют

капли воды и нет необходимости в длине, требуемой для испарения капель;

- очистка воздуха от пыли, содержащей бактерии и микроорганиз-

мы, и минеральных солей, которые остаются на поверхности материала

насадки и смываются вытекающей водой в дренаж;

- более высокие допустимые скорости воздуха.

Недостатки блоков сотового увлажнения:

- возможность образования в поддоне микроорганизмов и грибков,

которые могут стать источником загрязнения приточного воздуха;

- значительный расход воды в системах прямого водоснабжения;

- невозможность реализации управляемых процессов, обеспечи-

вающих снижение энергопотребления в процессе эксплуатации;

- регулирование путем отключения системы орошения отдельных

кассет (внутреннее байпасирование по воздуху) обеспечивает невысокую

точность поддержания заданного значения относительной влажности воз-

духа в помещении.

 


Поделиться с друзьями:

mylektsii.su - Мои Лекции - 2015-2026 год. (2.088 сек.)Все материалы представленные на сайте исключительно с целью ознакомления читателями и не преследуют коммерческих целей или нарушение авторских прав Пожаловаться на материал