Студопедия

Главная страница Случайная страница

КАТЕГОРИИ:

АвтомобилиАстрономияБиологияГеографияДом и садДругие языкиДругоеИнформатикаИсторияКультураЛитератураЛогикаМатематикаМедицинаМеталлургияМеханикаОбразованиеОхрана трудаПедагогикаПолитикаПравоПсихологияРелигияРиторикаСоциологияСпортСтроительствоТехнологияТуризмФизикаФилософияФинансыХимияЧерчениеЭкологияЭкономикаЭлектроника






Состав систем технического водоснабжения промышленного предприятия.






 

Системы технического водоснабжения – это комплекс сооружений, предназначенный для забора воды из природных источников, повышение ее качества до необходимого уровня, транспортировки потребителю, обеспечение у потребителей необходимого давления, а также для очистки сточных и сбрасываемых вод.

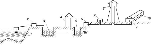
Рисунок 11.4 – Схема водоснабжения промышленного предприятия.

 

В состав схемы водоснабжения входят следующие элементы:

1. Водозаборное сооружение (предназначено для отбора воды из природного источника.

2. Насосная станция первого подъема (предназначена для подачи воды в пруд-отстойник или непосредственно в систему водоснабжения).

3. Пруд-отстойник (служит для предварительной очистки воды; в случае необходимости дополняется установками для осветления воды и т.д.).

4. Резервуар чистой воды (предназначен для хранения определенного количества воды и создания напора у ряда потребителей в случае отключения системы).

5. Пруд-накопитель (предназначен для накопления и хранения воды).

6. Насосная станция второго подъема (предназначена для создания дополнительного напора).

7. Насосная станция третьего подъема (предназначена для подъема воды в бак-накопитель водонапорной башни).

8. Водонапорная башня (назначение – обеспечение необходимого напора у потребителей).

9. Установка ХВО (химводоочистки).

10. Водоводы промышленного предприятия.

Кроме того, в состав системы водоснабжения могут входить:

- водопроводы и транспортные сети, предназначенные для передачи воды на большие расстояния;

- запорная и регулирующая аппаратура, предназначенная для обеспечения переключений в сети, регулирования давлений и проведения измерений параметров;

- аккумулирующие сооружения (резервуары, емкости, аккумулирующие баки и пруды-накопители).

Расположение элементов системы водоснабжения на схеме, варианты их конструктивного исполнения, а также мощность зависят от характеристик предприятия и природного источника. Идеальным вариантом организации водоснабжения промышленного предприятия является внедрение бессточных схем (работа по замкнутому циклу) с минимальным потреблением внешних ресурсов и максимальным использованием ВЭРов и отходов производства.

 


Поделиться с друзьями:

mylektsii.su - Мои Лекции - 2015-2026 год. (0.442 сек.)Все материалы представленные на сайте исключительно с целью ознакомления читателями и не преследуют коммерческих целей или нарушение авторских прав Пожаловаться на материал