Студопедия

Главная страница Случайная страница

КАТЕГОРИИ:

АвтомобилиАстрономияБиологияГеографияДом и садДругие языкиДругоеИнформатикаИсторияКультураЛитератураЛогикаМатематикаМедицинаМеталлургияМеханикаОбразованиеОхрана трудаПедагогикаПолитикаПравоПсихологияРелигияРиторикаСоциологияСпортСтроительствоТехнологияТуризмФизикаФилософияФинансыХимияЧерчениеЭкологияЭкономикаЭлектроника






Методика технического выбора монтажных стреловых кранов.






В настоящее время при возведении зданий и сооруже­ний наряду с другими машинами широко применяются пе­редвижные стреловые краны. Основное достоинство стре­ловых передвижных кранов - их способность быстро пере­базироваться с одного объекта на другой и приступать к ра­боте немедленно после прибытия на объект строительства.

Обычно передвижные стреловые краны применяются для возведения малоэтажных зданий (высотой до трех эта­жей), подземных сооружений и подземной части зданий и сооружений.

Выбор крана для возможности возведения конкретного здания или сооружения основан на определении соответст­вия монтажно-конструктивных характеристик возводимого объекта параметрам крана.

Исходными данными для выбора крана являются:

1) габариты, объемно-планировочное и конструктив­ное решение объекта строительства;

2) параметры и рабочие положения монтируемых конструкций и подаваемых грузов;

3) технология возведения объекта.

При подборе кранов для строительства конкретного объекта требуется определить технологические параметры кранов.

Основными технологическими параметрами кранов яв­ляются:

Q - грузоподъемность;

Lстр - длина стрелы;

Lгус - длина гуська;

Нкр - высота подъема крюка;

Iкр - вылет крюка.

Обычно при возведении большинства зданий и соору­жений определяющими параметрами, по которым будет на­значаться кран, являются параметры, требуемые для монта­жа сборных железобетонных конструкций, в частности эле­ментов покрытия.

Передвижные стреловые краны в большинстве случаев могут быть оснащены стрелой или стрелой и гуськом. Ис­ключение составляют краны в башенно-стреловом исполне­нии.

При возведении большинства зданий и сооружений очевидно выгоднее применять краны, оборудованные стре­лой с гуськом; при этом увеличивается обслуживаемое кра­ном подстреловое пространство (иногда гусек называют второй стрелой).

Для выбора кранов в общем случае следует выполнить строительно-технологический анализ подлежащего возве­дению строительного объекта и решить следующие техно­логические задачи:

1) определить методы монтажа объекта;

2) установить последовательность монтажа элементов;

3) определить пути движения монтажных машин и их стоянки для установки монтируемых элементов в проектное положение;

4) определить способы строповки каждого элемента;

5) определить высоту строповки каждого элемента;

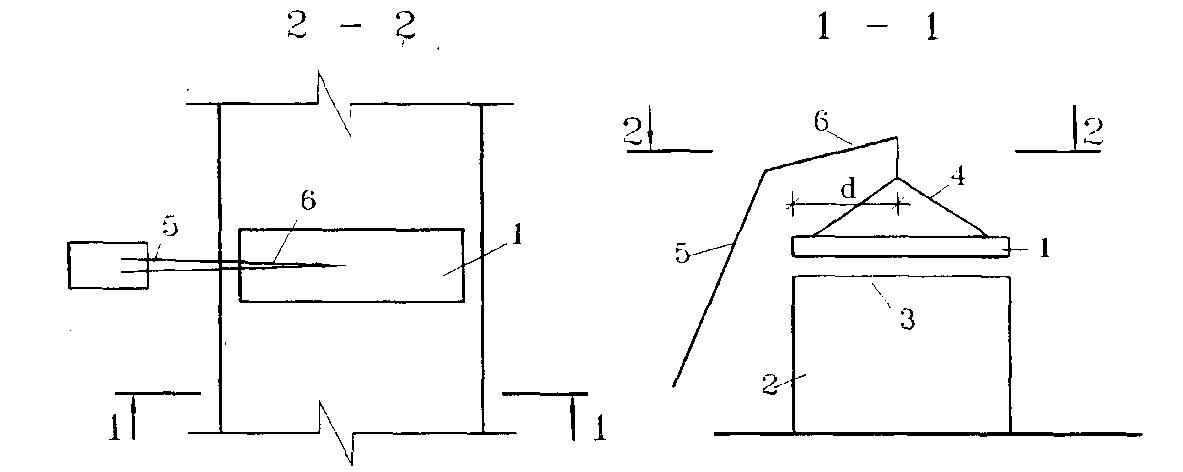
6) вычертить принципиальные технологические схемы монтажа элементов (в плане и вид сбоку) - см. рис.3.

Рис. 3. Технологическая схема монтажа элемента:

1 - монтируемый элемент; 2 - возведенные конструкции;

3 - уровень проектной опоры элемента;

4 - строповочные устройства; 5 - стрела крана; 6 – гусёк.

При подборе стрелового крана руководствуются сле­дующим:

1) при строительстве отдельно стоящего здания (или при ведении работ только на одном здании) желательно подбирать гусеничный кран, как наиболее удобный в данном случае в сравнении с пневмоколесным, так как не приходится пользоваться выносными опорами, воз­можно передвижение крана с грузом и не требуется устройства дорог для крана;

2) подбирают кран в таком порядке:

1 - по грузоподъемности (ориентировочно);

2 - по длине стрелы,

и дальше - по соответствию технических параметров требуемым параметрам для каждого монтируемого элемента.

Если проектируется монтаж одноэтажного промышлен­ного здания поточным методом, для монтажа зданий можно подобрать несколько кранов для следующих потоков (как вариант):

1) для монтажа колонн;

2) для монтажа подкрановых балок, ферм и плит по­крытия;

3) для монтажа ферм (балок) и плит покрытия;

4) для монтажа стеновых панелей.


Поделиться с друзьями:

mylektsii.su - Мои Лекции - 2015-2026 год. (1.033 сек.)Все материалы представленные на сайте исключительно с целью ознакомления читателями и не преследуют коммерческих целей или нарушение авторских прав Пожаловаться на материал