Студопедия

Главная страница Случайная страница

КАТЕГОРИИ:

АвтомобилиАстрономияБиологияГеографияДом и садДругие языкиДругоеИнформатикаИсторияКультураЛитератураЛогикаМатематикаМедицинаМеталлургияМеханикаОбразованиеОхрана трудаПедагогикаПолитикаПравоПсихологияРелигияРиторикаСоциологияСпортСтроительствоТехнологияТуризмФизикаФилософияФинансыХимияЧерчениеЭкологияЭкономикаЭлектроника






Средства индивидуальной защиты и снаряжение пожарных. Оборудование и инструмент для самоспасания и спасания людей.

Материалы по «Пожарной технике» для заочного обучения

(л – 4 ч., пр – 6 ч., л.р. – 4 ч. - Тангатаров), ргр – Тангатаров, зачет

 

Лекция 1

Средства индивидуальной защиты и снаряжение пожарных. Оборудование и инструмент для самоспасания и спасания людей.

1.1 Средства индивидуальной защиты и снаряжение пожарных

 

Тушение пожаров производится в специфической (сложной) обстановке: высокие температуры и пламя, загрязнение атмосферы продуктами горения, возможное механическое воздействие на человека элементами разрушающихся конструкций. Эти весьма существенные обстоятельства называют опасными факторами пожара (ОФП). Если их параметры превышают некоторые критические значения, то они могут быть причинами травм пожарных, отравления и даже летальных исходов. Для ослабления влияния ОФП на пожарных разработана система и средства их защиты: средства индивидуальной защиты органов дыхания (СИЗОД), дымососы, а также экипировка пожарных.

 

Для устранения вредного воздействия продуктов горения и токсичных газов, образующиеся на пожаре необходимо применять соответствующие способы защиты органов дыхания и зрения от проникновения в них отравляющих продуктов горения.

 

Они подразделяются на:

- индивидуальные (изолирующие, с подачей воздуха для дыхания из баллона и фильтрующие (респирационные), противопылевые, противогазовые и комбинированные);

 

- групповые (снижение концентрации дыма и газов в помещении: аэрацией (проветривание); использованием стационарных средств защиты (промышленные вентиляционные установки), газоубежищ; использованием переносных, передвижных средств защиты (дымососы, автомобили дымоудаления; осаждение дыма и вредных газов применением мелкодисперсной воды (тонкораспыляющие стволы высокого давления - для газов, растворимых в воде) или распыленного абсорбента с поглощением вредных паров и газов до безопасных концентраций, электрическим полем, с удалением заряженных частиц дыма с адсорбированными его поверхностью вредными веществами.

.

 

Недостатки групповых:

- не всегда можно достичь необходимой интенсивности удаления дыма, не везде имеется достаточное количество проемов для притока воздуха в нужном объеме. В отдельных случаях поступление свежего воздуха в горящее помещение может способствовать усилению горения, а в в помещениях, где происходил процесс неполного сгорания веществ, при притоке свежего воздуха возможно образование взрывоопасных концентраций газов с последующим взрывом их смесей (бани, сауны с печным отоплением и т. д.).

 

Первый фильтрующий противогаз был разработан академиком М.Д. Зелинским и Морганом. Противогазы, работающие по данному принципу, стали выпускать в 1914 году для защиты личного состава русской армии от отравляющих веществ.

Принцип действия фильтрующих противогазов заключается в том, что загрязненный примесями воздух, проходя через фильтр, очищается от примесей, и в очищенном виде поступает в дыхательные органы человека.

 

В зависимости от назначения фильтрующие противогазы подразделяются на:

противопылевые (ФП) — фильтрующие воздух от различных аэрозолей (дыма, тумана, пыли);

противогазовые (ФГ) — в которых воздух фильтруется от паро- и газообразных загрязняющих веществ;

фильтрующие газопылезащитные противогазы (ФГП) — которые очищают воздух от газов, паров и аэрозолей различных веществ.

 

Фильтрующие противогазы в зависимости от типа и марки фильтрующего вещества способны защищать органы дыхания от воздействия одного или нескольких газов. Но они совершенно не пригодны для работы в среде с концентрацией кислорода (на пожаре вполне возможно) ниже 16%.

Метод изоляции применяется для защиты от вредного действия продуктов горения, состав которых заранее неизвестен. Суть этого метода состоит в том, что органы дыхания и зрения человека полностью изолируют от воздействия окружающей среды.

Изолирующие СИЗОД подразделяются на кислородные и воздушные.

 

Воздушные шланговые противогазы (дыхательные аппараты) первыми получили некоторое распространение в пожарной охране в начале XX века. Изучить самостоятельно.

В настоящее время шланговые противогазы (дыхательные аппараты) практически полностью вытеснены различными типами изолирующих аппаратов.

 

Различают пять основных признаков, по которым СИЗОД делят на группы:

- по характеру окружающей среды (газ или жидкость) и по ее давлению СИЗОД делятся на наземные, высотные и подводные;

- по степени защиты дыхания от газового состава окружающей среды СИЗОД делятся на две группы: изолирующие и фильтрующие. Защита дыхания при помощи изолирующих СИЗОД универсальна и не зависит от газового состава окружающей среды;

- по автономности защиты СИЗОД делятся на автономные и шланговые.

Автономные СИЗОД по способу создания искусственной атмосферы для дыхания делятся на регенеративные и резервуарные.

По своему назначению регенеративные противогазы делятся на две группы: кислородные изолирующие противогазы (респираторы) и изолирующие самоспасатели.

 

Противогаз, работающий на принципе регенерации (восстановления) выдыхаемого воздуха, был изобретен в 1853 году профессором Льежского университета (Бельгия) Шванном. В последующем, на протяжении столетия, шло их усовершенствование.

 

Самоспасатели (фильтрующие и изолирующие) служат для защиты органов дыхания человека при выходе из аварийного участка с отравленной атмосферой на свежий воздух, т. е. для спасения без посторонней помощи (помещения метро, подвалы большой площади и протяженности, трюмы судов, шахты).

 

Наибольшее распространением в России, до последнего времени, получили кислородные изолирующие противогазы.

 

Кислородные изолирующие противогазы классифицируют по следующим признакам. В зависимости от условий применения они делятся на две группы: основные (рабочие) и вспомогательные.

В зависимости от способа резервирования кислорода противогазы делятся на три группы:

-с газообразным медицинским кислородом (КИП-8, Урал-10 и т.д.);

-с жидким медицинским кислородом (РХ-1 (СССР), " Кемокс" (США) и др.);

-с химически связанным кислородом (в регенеративном кислородосодержащем продукте на основе надперекисей щелочных металлов) (СПИ-20, ШСС-1, ПДУ-3 и др.).

 

В зависимости от контура движения выдыхаемой газовой смеси в аппарате кислородные изолирующие противогазы делятся на три группы:

-с круговой схемой дыхания, при которой очищение выдыхаемого воздуха от углекислого газа происходит за один цикл;

-с маятниковой, при которой очищение выдыхаемого воздуха от углекислого газа происходит за два цикла;

-с полумаятниковой схемой дыхания, отличающейся от круговой схемы отсутствием клапана выдоха.

 

На вооружении пожарной охраны сейчас находится несколько типов кислородных изолирующих противогазов (КИП-8, Р-12М, Р-30, РВЛ, Урал-7, Урал-10). В настоящее время в пожарной охране применяются кислородные изолирующие противогазы как правило с 4-х часовым временем защитного действия.

 

Наиболее широкое применение получили КИП с подачей сжатого кислорода через систему клапанов и редукторов с поглощением углекислого газа, работающие по круговой (замкнутой) схеме дыхания.

В противогазах этого типа выдыхаемый воздух, содержащий большое количество кислорода, не выбрасывается в атмосферу, а восстанавливается и повторно используется для дыхания.

 

Время работы в противогазе зависит только от количества и поглощающих свойств химпоглотителя регенеративного патрона и запаса кислорода в баллончике. При работе в таких аппаратах значительно изменяется нормальное дыхание в результате:

- повышенного процентного содержания углекислого газа и кислорода во вдыхаемом воздухе, причем количество последнего во время работы подвержено значительным колебаниям;

- повышения процентного содержания азота в системе противогаза;

- повышения температуры и влажности вдыхаемого воздуха;

- увеличенного сопротивления дыханию по замкнутому циклу противогаза.

 

К недостаткам данного типа противогаза следует отнести: сложность устройства и ухода, необходимость процесса обучения личного состава обращению с противогазом, зависимость времени работы в противогазе от качества химического поглотителя, относительно высокую стоимость аппаратов.

 

Этот тип противогазов имеет и свои достоинства: надежность в работе, малый вес, небольшие габариты, достаточное время защитного действия, постоянная готовность к применению, возможность работы в аппарате отдельными периодами с выключением и последующим включением без потери общего времени защитного действия.

Одним из направлений создания новой кислородно-дыхательной аппаратуры явилась разработка регенеративных противогазов на химически-связанном кислороде. Анализ респираторов, в которых используется сжатый газообразный кислород, а очистка вдыхаемого воздуха от углекислого газа осуществляется известковым поглотителем — ХП-И, показывает, что возможности улучшения условий дыхания в них и снижения веса практически исчерпаны при сохранении первоначального срока защитного действия. Анализ характеристик КИП на химически связанном кислороде показывает, что они имеют большое будущее, так как при сравнительно малом весе могут иметь большой срок защитного действия с улучшенными микроклиматическими условиями дыхания в них.

В КИП с химически связанным кислородом, кроме маятниковой системы дыхания, применяют также и круговую. В качестве сорбента в настоящее время применяют кислородосодержащий продукт ОКЧ-2 на основе перекиси калия. Применение данного сорбента позволяет создать аппарат с относительно низким весом, лучшими условиями дыхания, более низкой температурой и влажностью вдыхаемого воздуха, чем у существующих респираторов.

Это направление позволяет разработать легкий защитный аппарат, весьма простой конструкции, в котором время защитного действия пропорционально физической нагрузке газодымозащитника, Кроме того, положительной особенностью сорбента, содержащего химически связанный кислород, является то, что он не только выделяет кислород, но и поглощает углекислый газ и влагу из выдыхаемого воздуха.

 

Самоспасатели с химически связанным кислородом (СИП-20 и т.д.) показали высокую надежность и хорошие эксплуатационные характеристики. Гарантированный срок их хранения в случае проведения их сервисного обслуживания может быть увеличен до 10 лет. Простота конструкции обеспечивает быстрое его использование, экономичность расхода кислорода позволяет выдержать любые физические нагрузки, обеспечивая в режиме покоя время защитного действия до нескольких часов.

 

В 1964 году в НИИГД (г. Донецк) были начаты исследования и разработка регенеративных респираторов на жидком кислороде. Главное преимущество этого направления заключается в возможности использования жидкого кислорода в качестве холодильного и дыхательного агента. Это позволяет достичь комфортных условий дыхания и значительно упростить конструкцию аппарата. В то же время следует отметить, что принцип совмещения холодильной и дыхательной системы позволяет уменьшить вес заряда кислорода. Испаряющийся кислород подается в систему респиратора в количестве, значительно превышающем потребность человека для дыхания, в результате чего часть выдыхаемого воздуха, равная избыточной подаче кислорода, постоянно удаляется из системы аппарата. Жидкий кислород находится в металлическом двустенном резервуаре, обычно теплоизолированном пенополиуретаном, и покрытом снаружи стеклопластиком. Внутри резервуар заполняется асбестовой ватой, адсорбирующей жидкий кислород. Сжиженный кислород заливается в резервуар непосредственно перед началом работы в противогазе, после чего в течение всего времени защитного действия он испаряется и поступает в воздуховодную систему. Один литр жидкого кислорода образует 850 л (НУ) газообразного кислорода. Масса резервуара для жидкого кислорода меньше, чем масса баллона для сжатого кислорода, поскольку сжиженный кислород в аппарате хранится при давлении, близком к атмосферному. Поэтому в КИП с жидким кислородом создается значительный запас газа при относительно малом объеме резервуара и его небольшой массе.

Схема работы такого аппарата следующая. При включении в респиратор открывают вентиль резервуара для хранения жидкого кислорода, который испаряется и поступает в дыхательный мешок. При вдохе прохладный воздух проходит из дыхательного мешка через шланг вдоха и поступает в легкие человека. При выдохе воздух проходит через шланг выдоха, регенеративный патрон, где он очищается от углекислого газа и поступает в дыхательный мешок. В дыхательном мешке происходит смешивание очищенного от углекислого газа выдыхаемого воздуха с холодным и сухим кислородом, вступающим из резервуара. При переполнении дыхательного мешка лишний воздух удаляется через избыточный клапан, который устанавливается на линии выдоха перед регенеративным патроном.

Аппараты на жидком кислороде имеют следующие отличительные особенности:

- обеспечивают дыхание прохладным воздухом;

- удаление выдыхаемого воздуха до регенеративного патрона позволяет уменьшить заряд поглотителя;

- значительная простота конструкции: отсутствует редуктор, легочный автомат, байпас, финиметр;

- не имеют системы высокого давления, давление в резервуаре лишь незначительно отличается от атмосферного.

 

Данным КИП присущи и недостатки, к которым уносятся:

- сложность контроля над степенью использования жидкого кислорода в аппарате (контроль производится по часам, что не является полностью достоверным показателем);

- снаряжение аппарата жидким кислородом должно производиться непосредственно перед началом работы;

- сложная конструкция теплоизолирования резервуара для хранения запаса кислорода;

- пожароопасность аппарата при механических повреждениях корпуса.

 

Перспективным направлением в деле создания и конструирования изолирующих противогазов может рассматриваться идея Д.Г. Левицкого, который в 1911 году предложил изолирующий противогаз, работающий на принципе регенерации воздуха жидким кислородом. Он показал, что противогаз, работающий на жидком кислороде, во-первых, обеспечивает значительную экономию веса противогаза (одного литра жидкого кислорода достаточно для работы в течение около 9 часов при работе средней тяжести). Во-вторых, используя низкую температуру кипения кислорода (-183°С) для вымораживания углекислого газа (для чего достаточна температура -78°С), можно полностью обойтись без регенеративного патрона. Однако промышленное производство таких аппаратов защиты не осуществляется.

 

Известно направление создания аппаратов защиты, в которых используется способ получения кислорода, заключающийся в смешивании карбоната натрия Nа2СО3 и пероксида водорода Н2О2 с жидким или водорастворимым катализатором, в результате чего начинается генерация кислорода.

 

В последнее время дыхательные аппараты со сжатым воздухом (ДАСВ) завоевывают все большее признание у работников пожарной охраны. Несмотря на то, что КИП отличаются большой надежностью, относительно небольшой массой и значительным временем защитного действия, они обладают рядом существенных недостатков, которые исключают дальнейшее применение КИП в качестве основного СИЗОД в пожарной охране.

При передвижении и выполнении различных видов работ такие физические показатели человека, как частота сердечных сокращений (ЧСС), легочная вентиляция, частота дыхания, артериальное давление значительно возрастают. При работе в КИП кроме того появляется дополнительная нагрузка на организм, вызываемая:

- дополнительным сопротивлением дыханию;

- дополнительным " мертвым" пространством;

- накоплением в тканях и крови, при продолжительной работе кислых продуктов обмена веществ (СО2), раздражающих дыхательный центр и влекущих за собой рост величины легочной вентиляции;

- выделение смесей с высокой температурой (+45°С) и относительной влажностью до 100%;

- повышение концентрации кислорода.

 

Все эти факторы действуют на организм человека в виде единого комплекса, ухудшая физиологическое состояние человека и вызывая в организме патологические отклонения.

Применение КИП при возможных контактах с маслами и нефтепродуктами опасно.

Иногда, хотя редко, не исключена возможность загорания или взрыва КИП от толчков и ударов в случае нарушения каналов, по которым проходит кислород, при работе в среде, содержащей горючие, легковоспламеняющиеся и взрывчатые вещества. При работе в среде с низкой температурой, не исключены неисправности из-за замерзания каналов, по которым поступает кислород, примерзание клапанов к седлам, снижение пластичных свойств резины дыхательного мешка, шлем-маски и т.п. И самое главное, при работе в среде с отрицательной температурой резко сокращается срок защитного действия КИП вследствие ухудшения поглощающей способности ХП-И.

 

КИП не защищает пользователя от среды с наличием АХОВ (аварийно химически опасное вещество).

 

Из-за отсутствия запасов ХП-И и медицинского кислорода объем практических тренировок газодымозащитников с использованием КИП сокращен. В связи с этим снижается боеготовность и профессиональное мастерство газодымозащитников и звеньев ГДЗС. Функционирование ГДЗС с применением КИП, в настоящее время, не обеспечено материальными и финансовыми ресурсами. Выделяемых средств федерального бюджета, бюджетов субъектов Российской Федерации и иных источников финансирования не достаточно даже для приобретения расходных материалов.

 

ГПС России является единственной противопожарной службой в мире, деятельность которой по тушению пожаров в задымленных и загазованных объектах основывалась на приоритетном использовании КИП.

Поэтому возник вопрос о поэтапном переходе газодымозащитной службы России с использования КИП на ДАСВ (дыхательные аппараты на сжатом воздухе).

 

Идея использования сжатого воздуха при работе в непригодной для дыхания среде была предложена в 1871 году русским инженером А.И. Лодыгиным. Первый аппарат, работающий на сжатом воздухе и представляющий собой эластичный, газонепроницаемый мешок, наполняемый воздухом под нормальным давлением, сконструировал мичман А. Хотынский в 1873 году. Однако он не нашел широкого применения, поскольку запас воздуха обеспечивал возможность работы в течение нескольких минут.

В дальнейшем, по мере развития техники получения сжатого воздуха, эластичные мешки были заменены большими баллонами, и время защитного действия аппаратов возросло до 30 мин. Появилась группа изолирующих аппаратов резервуарного типа с разомкнутым циклом дыхания.

Современные ДАСВ подразделяются на три типа: автономные, шланговые и комбинированные (универсальные). Принципиальное отличие их заключается в способе обеспечения воздухом работающего в аппарате.

Работа резервуарных аппаратов основана на принципе пульсирующей подачи воздуха для дыхания (только на вдох) по открытой схеме, т. е. с выдохом в атмосферу. При этом исключается перемешивание выдыхаемого воздуха с вдыхаемым, или повторное его использование, как это происходит в аппаратах с замкнутой схемой дыхания.

Дыхание в резервуарных аппаратах осуществляется по следующей схеме: сжатый воздух поступает в легкие человека через маску, соединенную с дыхательным автоматом, а выдох производится непосредственно в атмосферу.

Выпускаемые ДАСВ различаются между собой лишь внешним оформлением и конструктивными особенностями отдельных узлов. Основными частями резервуарных аппаратов являются баллоны сжатого воздуха, дыхательный (легочный) автомат, редуцирующее устройство, приборы контроля над расходом воздуха, каркас для крепления и монтажа частей аппарата. По числу баллонов резервуарные аппараты разделяются на одно-двух- и трехбаллонные. Баллоны аппаратов служат резервуарами для сжатого воздуха, используемого при дыхании. В аппаратах применяются малолитражные баллоны емкостью 1-12 л рабочим давлением 15-30 МПа (150-300 кгс/см2).

 

Данную группу аппаратов отличает простота конструкции высокая степень надежности, низкая температура вдыхаемого воздуха незначительное сопротивление на вдохе. При использовании эти аппаратов отсутствует опасность кислородного голодания из-за заазотирования системы аппарата, как это случается при использовании аппаратов с замкнутой схемой дыхания. В данных аппаратах возможна работа в средах, содержащих легковоспламеняющиеся и взрывчатые вещества, так как отсутствует опасный для масел и других веществ чистый кислород.

Основными недостатками СИЗОД этого типа являются:

- малый срок защитного действия, вызванный неэкономным расходованием воздуха;

- значительные вес и габариты;

- относительная сложность зарядки воздушных баллонов.

Зная способы защиты органов дыхания от вредного влияния продуктов сгорания, ядовитых газов и паров, можно определить условия применения тех или иных средств защиты для каждого конкретного случая.

 

Боевая одежда и снаряжение пожарных

 

Экипировка включает: боевую одежду пожарных (БОП), каску, шлем, средства индивидуальной защиты рук (СИЗР) и специальную обувь.

 

В сложных условиях пожаров используются специальная защитная одежда изолирующего типа (СЗО ИТ) и специальная защитная одежда пожарных от повышенных тепловых воздействий (СЗО ПТВ).

Вся экипировка пожарных изготовлена из материалов, обладающих высокой механической прочностью, теплостойкостью и водонепроницаемостью. Эти свойства материалов обеспечивают защиту кожных покровов человека от ОФП, а также от климатических воздействий.

Конструкция экипировки и используемые материалы позволяют пожарным эффективно выполнять все виды работ при подготовке и тушении пожаров и выполнении первоочередных аварийно-спасательных работ. Они включают надевание боевой одежды и снаряжения, проведение боевого развертывания от пожарных автомобилей, подъем по лестницам различного назначения.

Боевая одежда пожарных (БОП). Ее необходимо использовать со снаряжением пожарного: пожарным спасательным поясом, каской, СИЗОД, СИЗР (средства индивидуальной защиты рук), специальной обувью, радиостанцией, а также теплоотражательным комплектом (СЗО ИТ или СЗО ПТВ).

 

БОП состоит из пакета материалов и тканей, включающих ткани верха, водонепроницаемого слоя и съемной теплоизоляционной подкладки.

Комплект БОП включает брюки (или полукомбинезон) и куртку со съемными теплоизоляционными подкладками. Их конструкция обеспечивает возможность надевания, не снимая обуви пожарной специальной, в течение времени, указанного в «Нормативах по пожарно-строевой подготовке» (рис. 1.1). Конструкция БОП обеспечивает предотвращение проникновения в подкостюмное пространство воды и других жидкостей.

Цветовое решение БОП (цвет материала верха – темно-синий, черный), а также светоотражающий и флюоресцирующий материал накладок обеспечивают возможность быстрого обнаружения пожарного в условиях ограниченной видимости (задымление, слабое освещение и т.п.).

 

БОП по уровню защиты от тепловых воздействий подразделяют на три уровня.

БОП 1-го уровня обеспечивает защиту от высокой температуры, тепловых потоков большой интенсивности и возможных выбросов пламени. Она изготавливается из термостойких тканей со специальными пропитками или покрытиями.

БОП 2-го уровня защищает от повышенных температур и тепловых потоков. Изготавливается одежда из парусины со специальными пропитками.

БОП 3-го уровня защищает от тепловых воздействий невысокой интенсивности и изготавливается из искусственной кожи.

БОП изготавливают двух видов: для начальствующего и рядового состава. Различают их разнообразием конструктивных элементов: полос, нашивок, кокеток. Для начальствующего состава одежда имеет удлиненную куртку, накладки и нашивки в верхней части рукава куртки.

БОП каждого вида изготавливается не менее трех условных размеров.

 

Требования, предъявляемые к теплофизическим материалам и тканям, приводятся в табл. 1.1.

 

Показатель Значение показателя БОП
1-го уровня защиты 2-го уровня защиты 3-го уровня защиты
Устойчивость к воздействию теплового потока:
5, 0 кВт/м2, с, не менее      
40, 0 кВт/м2, с, не менее  
Устойчивость к воздействию открытого пламени, с, не менее      
Теплопроводность при температуре 50... 150 o С, Вт/м oС, не менее 0, 06 0, 06 0, 06
Устойчивость к воздействию газовоздушной среды с температурой
до 300o С, с, не менее      
до 200o С, с, не менее
Устойчивость к контакту с нагретыми до 400 o С твердыми поверхностями, с, не менее    

 

Данная классификация вошла в нормы пожарной безопасности НПБ 157-99 " Боевая одежда пожарного. Общие технические требования. Методы испытаний" и была учтена при разработке норм снабжения специмуществом личного состава ГПС МЧС России.

 

Для северных условий изготовляют специальную БОП 1-го и 3-го уровней защиты, куртки которых имеют по две съемные теплоизоляционные подкладки.

 

Каски пожарные – это индивидуальные средства, обеспечивающие защиту головы, шеи и лица пожарных от термических и механических воздействий агрессивных сред, воды, а также от неблагоприятных климатических воздействий.

Основные части каски: корпус 1, лицевой щиток 2, внутренняя оснастка, подбородочный ремень 3, пелерина 4.

Пелерина защищает шею и затылок от теплового излучения, открытого пламени, падающих искр. Закреплена она в затылочной области (рис. 1.2).

Внутренняя оснастка обеспечивает фиксирование каски на голове. Этим совместно с корпусом каски обеспечивается равномерное распределение нагрузки на голове и поглощается кинетическая энергия удара.

Каски выдерживают вертикальный удар тупого предмета с энергией 80 Дж. При вертикальном ударе тупым предметом с энергией 50 Дж усилие, передаваемое каской на голову, не превышает 5 кН.

Каска сохраняет защитные свойства при температурах окружающей среды 150 и 200оС в течение 30 и 3 мин, соответственно.

Марки касок (КП-80; КЗ-94, КП-92).

Каски устойчивы к воздействию тепловых потоков 5 и 40 кВт/м2 в течение 4 мин и 5 с, соответственно. При этом температура под каской не превышает 50оС.

Каски сохраняют прочностные свойства после воздействия на них воды, пенообразователя, трансформаторного масла, серной кислоты, едкого натра.

Шлем пожарного (рис. 1.3) – индивидуальное средство снаряжения, предназначенное для защиты головы от воздействия повышенных температур и кратковременно от открытого пламени.

 

Шлем представляет собой корпус 1 с убирающимся внутрь забралом 2 и расположенным внутри амортизирующим подшлемником и включает подбородочный ремень 3, пелерину 4.

Шлем пожарного (ШПМ) характеризуется амортизацией удара энергией 50 Дж и сопротивлением прокалыванию при ударе энергией 30 Дж. Он устойчив к воздействию теплового потока мощностью не более 5 кВт/м2, имеет массу 1, 2 кг, диапазон рабочих температур –40 … +150оС.

Спецобувь – специальная защитная обувь, характеризующаяся комплексом защитных физиолого-гигиенических и эргономических показателей, обеспечивающих безопасное проведение боевых действий, аварийно-спасательных работ и защиту от климатических воздействий.

Материалом для их верха являются различные виды термостойких и водонепроницаемых кож или других материалов с аналогичными свойствами.

Спецобувь обеспечивает защиту носочной части ноги пожарного от температуры не менее 200оС и теплового потока до 5 кВт/м2 в течение не менее 5 мин.

Спецобувь изготовляют с 38 по 47 размер. Масса обуви размера 42 должна быть не более 1600 г.

Для спецобуви пожарных в северных районах выдаются по две пары утеплителей массой до 200 г и ресурсом работы до 100 часов. Утеплители можно стирать или производить химчистку.

Кожаная и резиновая спецобувь для северных районов обеспечивает защиту ног при воздействии температуры до –60оС на протяжении 12 и 1 ч, соответственно.

Средства индивидуальной защиты рук (СИЗР) пожарных обеспечивают защиту рук пожарных от опасных факторов пожара, воздействия воды и неблагоприятных климатических условий. СИЗР включают ряд элементов. Крага – часть рукавицы, расположенная выше запястья, обеспечивает дополнительную защиту от теплового и механического воздействий. Напалок обеспечивает защиту пальца, а накладка на ладонную часть обеспечивает дополнительную защиту рук от механических воздействий.

Материал верха СИЗР: водонепроницаемый слой, теплоизоляционная прокладка и внутренний слой (обеспечивает гигиенические свойства) изготовлены из материалов с соответствующими свойствами.

СИЗР изготовляются в виде перчаток или двупалых рукавиц, они фиксируются на запястьях. Их конструкция обеспечивает выполнение всех видов работ при тушении пожаров и управлении СИЗОД.

В соответствии с НПБ 182-99 материалы и ткани для СИЗР должны удовлетворять ряду требований по устойчивости к воздействию:

температуры 300оС, не менее 300оС;

теплового потока плотностью:

5 кВт/м2, не менее 240 с;

40 кВт/м2, не менее 5 с;

открытого пламени, не менее 5 с.

СИЗР морозостойкие (до –50оС), водонепроницаемые, устойчивы к воздействию слабых растворов кислот и щелочей.

 

Теплоотражательные и теплоизоляционные костюмы

 

В сложных условиях пожаров используются специальная защитная одежда пожарных от повышенных тепловых воздействий (СЗО ПТВ) и специальная защитная одежда изолирующего типа (СЗО ИТ).

СЗО ПТВ – средство индивидуальной защиты пожарных от:

- интенсивного теплового излучения;

- высоких температур окружающей среды;

- кратковременного контакта с открытым пламенем;

- вредных факторов пожара;

- неблагоприятных климатических факторов.

В зависимости от степени тепловой защиты СЗО ПТВ могут быть трех типов (табл. 1.2).

 

 

Таблица 1.2

  Тип исполнения Условия эксплуатации
Температура, оС Время воздействия, с, не менее Тепловой поток, кВт/м2, не более Время воздействия, с, не менее Допустимое время воздействия открытого пламени, с, не менее
Тяжелый          
Полутяжелый          
Легкий          

 

Конструкция СЗО ПТВ позволяет ее использовать с СИЗОД, пожарно-техническим вооружением, радиостанцией, обувью пожарной.

Тяжелый тип СЗО ПТВ типа ТК-800 изготовляется из пакета материалов, состоящего не менее чем из трех слоев: верха, теплоизоляционной подкладки и внутреннего слоя. Последние два слоя могут быть совмещены. Верх изготавливается из огнестойких теплоотражательных металлизированных материалов. В состав комплекта входят: комбинезон, капюшон с иллюминатором, рукавицы, сапоги (рис. 1.4). Одежда типа ТК-800 может использоваться до –40оС. Ее масса должна быть меньше 18 кг, время экипировки с помощью двух ассистентов – не более 3 мин.

Полутяжелый тип СЗО ПТВ представляют комплекты ТОК-200 и ТОК-200-26. Они включают: куртку, брюки, капюшон со стеклом, трехпалые перчатки, бахилы. При необходимости возможно использовать изолирующий противогаз. Время экипировки не более 70 с, масса – не более 10 кг. Комплект можно использовать до –40оС.

Легкий тип СЗО ПТВ представлен комплектом средств локальной защиты. С его помощью осуществляется дополнительная защита рук, головы и органов дыхания от локальных тепловых воздействий. Комплект включает: капюшон, трехпалые перчатки, бахилы и используется в комплекте с боевой одеждой. Его масса не превышает 3 кг, а время экипировки – не более 30 с.

СЗО ИТ – предназначена для изоляции покровов тела человека от неблагоприятного влияния различных факторов окружающей среды, а также климатических воздействий. Комплекты одежды этого типа разделяются на два вида: без тепловой защиты, для работы при t до +40оС; с обеспечением тепловой защиты.

Первый тип одежды – комплект специальной защитной одежды (СЗО-1) обеспечивает защиту от ионизирующих излучений, радиоактивности, проникающей через органы дыхания и пищеварительный тракт, а также от радиоактивного загрязнения поверхностей тела.

Этот комплект включает: защитный комбинезон, капюшон, шлем и фартук, а также пятипалые перчатки с крагами, скафандр с наружным иллюминатором и трехпалыми съемными рукавицами, гигиеническое белье, защитные трусы и сапоги.

Комплект обеспечивает не менее чем двухкратное ослабление

γ -излучения с энергией 200 Кэв, и не менее 50-кратного ослабления β -излучения с энергией 2 Мэв.

Время защитного действия при температуре меньше или равной

100оС не более 10 мин, масса комплекта 21, 5 – 23, 5 кг, время экипировки не более 300 с.

Второй тип одежды – агрессивностойкие комплекты изолирующие (АКИ). Он предназначен для защиты как от тепловых воздействий, так и химически агрессивных сред. К таким средам относятся различной концентрации растворы различных кислот, едкого калия, аммиака. Его можно использовать при плотностях тепловых потоков не более 5 кВт/м2. Допустимое время работы при температуре от –40 до +40оС не более

40 мин, а при температуре от +40 до +100оС – не более 20 мин. Время защитного действия при контакте с открытым пламенем – не более 3 с.

АКИ включает: скафандр наружный, рукавицы для него, комбинезон теплоизолирующий со шлемом, перчатки трехпалые специальные и специальные сапоги резиновые.

Время экипировки с помощью одного ассистента не более 3 мин. Масса комплекта до 9 кг. Время аварийной разгерметизации не более 30 с.


1.2 Оборудование и инструмент для самоспасания и спасания людей

 

Оборудование и инструмент делят на две группы: лестницы и спасательные средства. К спасательным средствам относятся: пожарный пояс, пожарный карабин и спасательная веревка.

Лестницы и спасательная веревка являются частью укомплектования автоцистерны. Пояс и пожарный карабин входят в снаряжение пожарного.

Ручные пожарные лестницы предназначены для подъема пожарных на верхние этажи зданий и работы внутри помещений. В пожарной охране России применяются три вида ручных пожарных лестниц: лестница штурмовая, лестница-палка и трехколенная выдвижная лестница.

Общие требования для изготовления ручных пожарных лестниц и их сертификационных испытаний обусловлены НПБ 171-98.

Для всех типов лестниц общими являются следующие требования. Шаг ступени лестницы должен быть не более 355 мм, а ширина лестниц в свету должна быть не менее 250 мм.

Лестница штурмовая – лестница ручная пожарная, конструктивно состоящая из двух параллельных тетив, жестко соединенных опорными ступеньками, и оборудованная крюком для подвески на опорную поверхность (рис. 1).

Тетивы 1 и 4 лестницы соединены тринадцатью ступенями 2 и 5. Кроме того, они в пяти местах стянуты металлическими стяжками 3 и 6. На трех верхних ступенях закреплен крюк 7. Сечение крюка увеличивается по направлению к хвостовой части, что приближает его к телу равного сопротивления по изгибу.

Лестницы могут быть изготовленными из дерева или металла.

На внутренней стороне деревянных лестниц с обеих сторон ступеней проложены в пазах стальные канатики, закрепленные за верхнюю и нижнюю стяжки. Канатики предназначены для предотвращения несчастных случаев при изломе тетив.

На нижних концах тетив установлены башмаки, а на верхних – наконечники.

Металлические лестницы изготавливаются из алюминиевого сплава Д16Т. Масса лестниц не более 10 кг.

Лестницы штурмовые используются пожарными для подъема на этажи зданий через окна или балконы. Для обеспечения безопасности они также применяются при работе на крутых скатах крыш.

Лестница-палка (рис. 2) – лестница ручная складная, конструктивно состоящая из двух параллельных тетив, шарнирно соединенных опорными ступенями. Тетивы 1 и 2 лестницы соединены восемью ступенями 3. Концы ступеней имеют металлическую оковку и втулки, через которые проходят оси для поворота ступеней. Шарнирное соединение 4 ступеней с тетивами позволяет их складывать, перемещая одну тетиву относительно другой.

 

 

 

Одни концы тетив имеют деревянные наделки 5. За них убирают другую тетиву при складывании лестницы. Наделки прикреплены к тетивам стяжками 6 и обтянуты наконечниками 7. Другие концы тетив скошены под углом 45о и защищены металлическими пластинами 8.

В сложенном состоянии лестница представляет собой палку с закругленными и окованными концами. Масса лестницы 10, 5 кг.

Лестница-палка предназначена для работы в помещениях, подъема пожарных на первый этаж через оконные проемы горящих зданий и сооружений, а также для учебно-тренировочных занятий.

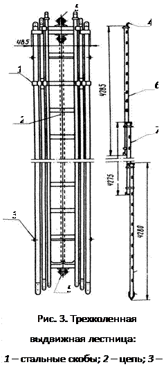
Трехколенная выдвижная лестница – лестница ручная пожарная, состоящая из трех параллельно связанных колен и оборудованная механическим устройством для перемещения их относительно друг друга в осевом направлении в целях регулирования ее длины.

Лестница (рис. 3) состоит из трех телескопически соединенных колен 6, 7 и 8, механизма выдвигания и механизма останова. Каждое колено состоит из двух тетив, соединенных двенадцатью ступенями. Тетива нижнего колена 8 стянута внизу, посередине и наверху стяжками 3.

Колена соединены между собой стальными скобами 1. Нижние концы тетив нижнего колена имеют стальные башмаки 9, а верхние концы верхнего колена имеют стенные упоры 4. Среднее колено выдвигается цепью 2.

Механизм выдвигания работает в соответствии с принципиальной схемой, представленной на рис. 1.8. Среднее колено 7 (см. рис. 4) соединяется с первым коленом 8 цепью 2, огибающей ролики 5 и верхний блок нижнего колена. При перемещении цепи по часовой стрелке среднее колено 7 будет выдвигаться вверх. Верхнее колено 6 тросом 3 через блок среднего колена 7 соединено с центром верхнего блока первого колена 8. При выдвигании среднего колена 7 будет перемещаться вверх и верхнее колено 6.

Среднее колено по отношению к нижнему совершает относительное движение. Обозначим его скорость через v ''r. Верхнее колено, в свою очередь, совершает относительное движение по отношению к среднему колену со скоростью v '''r, в то же время перемещается вместе со средним коленом в переносном движении. Таким образом, абсолютная скорость v ''' движения верхнего колена равна

v ''' = v " r + v '''' r. (1)

При равенстве длины всех трех колен абсолютная скорость выдвигания верхнего колена равна удвоенной скорости выдвигания среднего колена, т.е.

v ''' = 2 v " r.

Для фиксирования выдвинутой лестницы на заданной высоте применяется механизм останова. Он установлен на тетиве второго колена на нижней его части. Механизм состоит из двух частей: направляющего угольника и упора, а также специального валика с двумя упорами и рычагом.

Тетиву колена охватывает уголок (рис.5) с двух сторон.

Полка 1 располагается на внутренней широкой стороне тетивы. Полка 2 располагается на узкой стороне тетивы, выступая из нее на 10 мм. Эта выступающая часть входит в шпунт первого колена и служит направляющим. Отогнутая часть 3 обращена внутрь лестницы и является упором для механизма останова. Уголки установлены на обеих тетивах. Отверстия 4 в них служат подшипниками валика 1 механизма останова (см. рис. 6). На концах валика 1 имеются по одному кулачку 4, которые в сочетании с упорами 2 (поз. 3 на рис. 5) производят закрепление выдвинутых колен.

Посередине валика под углом около 45о к полости кулачков имеется выступающий палец 6 с проушиной на конце. К этой проушине прикреплен конец цепи 7 (поз. 2 на рис. 4). Если в вертикальном положении лестницы подтянуть цепь против часовой стрелки вниз, то валик 1, а также кулачок 4 повернутся так, что окажутся в плоскости ступеней второго колена и не будут мешать выдвиганию колен лестницы.

 

 


Рис. 6. Механизм останова:

1 – валик; 2 – упор (поз. 3 на рис. 1.9); 3 – полка (поз. 1 на рис. 1.9); 4 – кулачок; 5 – тетива; 6 – выступающий палец; 7 – цепь (поз. 2 на рис. 1.8); 8 – ступень первого колена

 

Для закрепления колен лестницы, выдвинутой на заданную высоту, надо отрывисто подтянуть цепь в обратном направлении, т.е. снизу вверх. При этом начнется сдвигание колен лестницы и, кроме того, поворот валика 1. Палец 6 опустится вниз, а кулачки 4 поднимутся вверх до упора 2. При сдвигании колен кулачки 4 встретят на своем пути ступень 8 первого колена, упрутся в них и задержат сдвигание лестницы. При этом вся нагрузка передается на ступень 8 первого колена.

Пояс пожарный спасательный – индивидуальное приспособление, предназначенное для страховки при работе на высоте, спасания людей и самоспасания пожарных во время тушения пожаров, первоочередных аварийно-спасательных работ, а также для топора пожарного и карабина.

Пожарный пояс (рис. 7) состоит из ленты 2, пряжки 6, кожаной облицовки 3 с пятью парами люверсов (укрепленных отверстий 1 на конце пояса).

Карабин пожарный – карабин (рис. 8), входящий в состав снаряжения пожарного и предназначенный для страховки пожарного при работе на высоте, а также для спасания и самоспасания с высотных уровней. Он состоит из силовой скобы крюка 1, воспринимающего рабочую нагрузку, замкового соединения 2, обеспечивающего соединение крюка и откидной части затвора 4. Она шарниром 5 соединена с крюком 1. Откидная часть затвора замыкателем 3 (муфта с резьбой) запирает замковое соединение. Рабочий участок карабина обозначен цифрой 6.

Веревка пожарная спасательная – веревка, предназначенная для вооружения подразделений ГПС, используемая для страховки пожарных при тушении пожаров и проведения связанных с ними первоочередных аварийно-спасательных работ. Веревки могут быть обычного исполнения (ВПС) и термостойкие (ТПВ). Веревки изготовляют из высококачественного льна или из синтетических волокон. Длина спасательной веревки 25–30 м. Хранят веревки в чехлах из водонепроницаемой ткани.

Веревки должны храниться в закрытых помещениях (отсеках автомобиля) с влажностью не более 70 %, защищенных от прямых солнечных лучей, масла, бензина и других растворителей, на расстоянии не менее 1 м от отопительных приборов.

Испытание оборудования осуществляется по нормативам, обусловленным Правилами по охране труда в подразделениях ГПС (табл. 1).

Таблица 1

Наименование ПТВ Периодичность испытаний Условия испытаний   Критерий годности
Установка Нагрузка, кгс Продолжительность, мин
Выдвижная лестница 1 раз в году и после ремонта На твердом грунте, под углом 75 о прислоняются к стене На каждое колено по 100     Не иметь повреждений. Выдвигание и складывание без заеданий
Лестница-палка Посередине 120 Не иметь повреждений и легко складываться
Штурмовая лестница Подвешивается за крюк На второй снизу ступени на каждую тетиву 80 Не иметь трещин и деформаций

Окончание табл. 1.3

Наименование ПТВ Периодичность испытаний Условия испытаний   Критерий годности
Установка Нагрузка, кгс Продолжительность, мин
Спасательная веревка 1 раз в 6 месяцев Распустить на длину. Подвесить     Отсутствие видимых повреждений. Удлинение менее 5 %
Пояса пожарные, спасательные поясные карабины 1 раз в году Подвесить на балке     Не иметь разрывов и повреждений. Карабин не должен иметь повреждения и изменения формы
Рукавные задержки 1 раз в году   Крюк не должен иметь повреждений, а тесьма разрывов

 

Инструмент для выполнения первоочередных аварийно-спасательных работ

 

Первоначальные аварийно-спасательные работы (ПАСР), связанные с тушением пожаров, представляют собой боевые действия по спасанию людей и оказанию первой доврачебной помощи пострадавшим, а также эвакуацию имущества.

Эти работы в основном выполняются боевыми расчетами с использованием штатных средств спасания и немеханизированного инструмента, которыми укомплектованы пожарные автоцистерны и автонасосы.

Немеханизированный инструмент используется также для разборки строительных и технологических конструкций для выявления скрытых очагов горения, выпуска дыма, предотвращения горения.

К ручному немеханизированному инструменту относятся: пожарные багры, ломы, крюки, топоры, столярные ножовки, ножницы для резки электропроводов. По желанию заказчика в комплект оборудования автоцистерны может включаться и другой инструмент, например гидравлические ножницы для резки арматуры. На рис. 1 представлены общие виды багров и ломов.

Пожарные багры предназначены для разборки кровель, стен, перегородок, стропил и других частей конструкций зданий и растаскивания горючих материалов. На пожарах используют багры двух типов.

Багор пожарный металлический (БПМ) (рис.1, а) состоит из крюка, копья, металлического стержня и рукоятки. Стержень изготовлен из трубы диаметром 20 мм. Крюк и копье изготовлены из стали Ст45 и подвергаются термической обработке. Крюк и металлическое кольцо приварены к стержню. Этими баграми укомплектовываются пожарные автомобили.

 
 

 


Рис. 1. Багры и ломы пожарные:

а – багор металлический; б – багор насадной; в – лом тяжелый; г – лом с шаровой
головкой; д – лом легкий; е – лом универсальный

 

Багор пожарный насадной (БПН) состоит из деревянного стержня, на который насаживается и крепится металлический крюк с копьем (рис.1, б). Деревянные стержни изготавливаются из твердой древесины: березы, граба, бука.

Основные характеристики багров приведены в табл. 1.

Таблица 1

Обозначение багра Длина багра, мм Длина крюка, мм Масса, кг
БПМ      
БПН      

 

Пожарные ломы предназначены для вскрытия строительных конструкций и входят в комплект пожарных автомобилей.

Лом пожарный тяжелый (ЛПТ) предназначен для тяжелых рычажных работ по вскрытию конструкций, имеющих плотные соединения (полы, дощатые фермы, перегородки), а также для вскрытия дверей.

Лом представляет собой металлический стержень диаметром 28 мм. Его верхняя часть (рис.1, в) изогнута и образует четырехгранный крюк, а на нижней части имеется заточка на два канта.

Пожарный лом (ПШ) с шаровой головкой рис. 1, г) предназначен для обивки штукатурки, скалывания льда с крышек колодцев гидрантов.

Лом представляет собой круглый стержень, на верхнем конце которого имеется шар. Диаметр его 50 мм, плоский срез имеет диаметр 25 мм. На нижнем конце лома имеется заточка на два канта с шириной лезвия 12, 5 мм.

Лом пожарный легкий (ЛПЛ) используют для расчистки мест пожара, вскрытия кровель, обшивки и в других подобных работах. Он представляет собой металлический стержень диаметром 25 мм, верхний конец которого отогнут под углом 45о и заострен на четыре грани так, что образуется плоское лезвие шириной 10 мм. Длина заточки 80 мм (рис. 1, д). Нижний конец лома также четырехгранный. На расстоянии 200 мм от верхнего конца имеется кольцо диаметром 30 мм для подвески лома.

Лом пожарный универсальный (ЛПУ) используется для открывания окон и дверей (рис. 1, е). Он представляет собой металлический стержень с двумя отогнутыми частями. Основные характеристики ломов указаны в табл. 2.

Таблица 2

Обозначение лома Длина лома, мм Длина крюка, мм Масса лома, кг
ЛТП     6, 7
ЛТЛ     4, 8
ЛТУ   - 1, 5

 

Ломы изготавливаются из стали Ст45, заостренные их части
подвергаются термической обработке.

Пожарные крюки. В пожарной охране используются легкий пожарный крюк (рис. 2) и крюк для открывания крышек колодцев-гидрантов (рис. 3). Пожарные крюки входят в комплект пожарных автомобилей.

Легкий пожарный крюк (ЛПК) предназначен для вскрытия конструкций внутри зданий и удаления их с места пожара. Крюк изготовлен из полосовой стали Ст45Н сечением 25х12 мм. Длина крюка 395 мм, ширина 225 мм. Верхний конец крюка имеет заточку на два конца, с другой стороны имеется ушко для навязывания веревки толщиной 14–17 мм и длиной 1300 мм. Веревка заканчивается петлей длиной 500 мм. Масса крюка 1, 5 кг.

 

Топор пожарный поясной предназначен для перерубания и разборки различных элементов деревянных конструкций горящих зданий. С его помощью пожарные могут передвигаться по крутым скатам кровель. Он может использоваться для открывания колодцев пожарных гидрантов. Топор входит в состав снаряжения бойцов и командиров пожарной охраны и переносится на спасательном поясе и называется поясным.

Топор пожарный поясной (рис. 4) имеет лезвие 2 и кирку 3. Его лезвие предназначено для разборки деревянных конструкций. Кирка используется для проделывания отверстий в кирпичных и бетонных конструкциях, передвижения пожарных по скатам крыш.

Полотно топора изготавливается из высокоуглеродистой стали У7, а его лезвие подвергается термической обработке. Топор насаживается на деревянное топорище 4 и закрепляется к нему металлическими накладками 1. Топорище изготавливают из твердых сортов древесины (береза, клен, ясень, граб, бук). Топорище не окрашивается, так как краска может покрывать поверхностные трещины. Длина топора составляет 350–380 мм, а его масса должна быть не более 1 кг.

Электрозащитные средства используются для отключения электрических проводов. Они входят в комплект для резки электрических проводов. В него входят: резиновые перчатки и галоши (боты), резиновый коврик и диэлектрические ножницы.

Диэлектрические ножницы предназначены для перерезания электрических проводов под напряжением (НРЭП). Рукоятки ножниц имеют электроизоляцию из резины. С помощью ножниц можно перерезать провода диаметром от 1 до 15 мм под напряжением до 1000 В. Они могут перерезать стальную проволоку диаметром до 6 мм. Габаритные размеры ножниц 560х260х60 мм, масса не более 3, 5 кг.

Аварийно-спасательный инструмент с гидроприводом

 

При тушении пожаров возможны ситуации, когда для выполнения боевых действий по вскрытию конструкций потребуются средства более мощные, чем для проведения первоочередных аварийно-спасательных работ. К таким средствам относятся механизированные инструменты. Их можно разделить на две группы.

Первую группу составляют электропилы и электродолбежники. К ней также относят автогенорезательные установки, пневмодомкраты резино-кордовые и т.д. Ими комплектуют специальные ПА различного назначения.

Вторая группа включает АСИ с гидроприводом. Инструментами этой группы комплектуют как специальные ПА, так и автоцистерны и автонасосы.

Комплект АСИ включает источники энергии, блок управления и набор инструментов с высокими параметрами силовых характеристик.

Источники энергии представляют собой насосные станции с механическим приводом или поршневые насосы с ручным приводом.

Насосные станции предназначены для нагнетания рабочей жидкости в гидравлические системы АСИ. В качестве рабочей жидкости используется масло МГЕ-10А.

Современные насосные станции осуществляют подачу рабочей жидкости поршневыми насосами. Их приводами могут быть бензиновые двигатели внутреннего сгорания или электродвигатели, работающие от сети переменного тока с частотой 50 Гц при напряжении 220 В.

Насосные станции бывают одно- и двухпостовые, обеспечивающие работу одного или двух инструментов одновременно.

При относительно небольших размерах (площади 0, 1–0, 2 м2 и высоте до 0, 5 м) станции имеют относительно малые массы (см. табл. 3), поэтому их можно подносить близко к месту работы. Некоторые параметры технических характеристик насосных станций представлены в табл. 3.

Таблица 3

Показатели Средние значения Пожоборонпром Вебер-гидравлика, Австрия
Рабочее давление, МПа 25-80    
Подача станции, л/мин 0, 25-1, 1 0, 89 -
Мощность двигателя, кВт
Масса станции, кг
Вместимость масляного бака, л 1, 5-15

 

Примечания:

1. В этой таблице и дальше указаны средние значения параметров характеристик насосных станций и инструмента, имеющихся на рынке.

2. В знаменателях указаны параметры для двухпостовых станций.

 

Ручные насосы предназначены для подачи рабочей жидкости в гидравлические системы АСИ и другие малогабаритные механизмы.

Ручные насосы используются там, где применение насосных станций нерентабельно или работа с ними опасна по технике безопасности. Они обычно двухступенчатые и развивают давление 80 МПа. В зависимости от параметра давления их масса находится в пределах 4, 5–16 кг, а объем бака от 0, 7 до 2, 5 л.

ООО Пожоборонпром производит насосы гидравлические РН80 с размерами 740х200х170 мм и давлением 7, 5/80 МПа. Насос подает масло от 0, 8–2, 5 см3 за один ход. Усилие на рукоятке не превышает 300 Н. Организация «Спрут» поставляет в МЧС России насос ручной НРС-12/80 с размерами 610х160х155 мм.

Рукава высокого давления (РДВ) армированные как гибкие трубопроводы предназначены для подачи рабочей жидкости от насосной станции в гидроинструмент. Они имеют условный проход 6 мм, рассчитаны на рабочее давление 80 МПа (разрушающее давление не менее 190 МПа). Длина до 20 м.

Блок управления гидроинструментом включает гидрораспределитель 1, гидрозамки 2 и 4 (рис. 5). Переключением гидрораспределителя осуществляется подвод жидкости в поршневую полость цилиндра и отвод из штоковой полости, и наоборот.

Гидрозамки обеспечивают запирание масла в рабочих полостях гидроцилиндра при прекращении ее подачи, а также отвод ее из них.

Принцип работы блока управления рассмотрим на примере подачи жидкости (масла) в поршневую полость гидроцилиндра 1. Для этого ручку f поворачивают так, чтобы совпали индексы a, b, c и d средней и верхней частей. Тогда масло из насосной станции поступит к abk и через обратный клапан гидрозамка 2 в поршневую полость гидроцилиндра 3. Поршень и шток будут перемещаться влево.

Одновременно по каналу kl масло поступит в гидрозамок 4 и совместит индексы m и n, переместив стрелку вниз. Тогда масло из поршневой полости гидроцилиндра поступит к mn, а затем cd и в насосную станцию.

Для перемещения поршня гидроцилиндра в правую часть необходимо рукояткой f перевести среднюю часть гидрораспределителя 1 в нижнее положение.

Гидрозамками оснащается только гидравлический инструмент, предназначенный для силового подъема тяжестей или их разжима.

Аварийно-спасательный инструмент, рекомендованный для комплектования ПА различного назначения, можно разделить на две группы. Первую из них составляют инструменты для резания металлических материалов различного профиля (прутья, уголки, тросы, листовой материал). Ко второй группе относятся различные устройства для раздвигания или подъема элементов разрушенных конструкций, расширения проемов, узких проходов и т.д.

Инструмент для резания металлов охватывает такие устройства, как резаки, ножницы, кусачки.

Принципиальная схема устройства и работы механизмов этого типа инструментов представлена на рис. 6. Его называют центрально-осевым, так как разжим и последующее сжатие рычагов (челюстей) 7 происходит при их повороте на шарнире 9, закрепленном на кронштейне 4.

Инструмент на рисунке находится в исходном положении. При подаче масла в штоковую полость цилиндра (показано стрелкой) поршень 2, перемещаясь вправо, сместит шарнир 9 из положения а в положение б, а концы с рычагов 7 займут положение с ' и с ". Расстояние между ними равно s. Совершится первый цикл работы инструмента. При подаче масла в поршневую полость цилиндра поршень 2 будет перемещаться влево и рычаги (челюсти), сжимаясь, будут разрезать (деформировать) металлическое изделие, заложенное между ними.

 
 

 


Рис. 6. Центрально-осевой привод инструмента:

1 – цилиндр; 2 – поршень; 3 – шток; 4 – кронштейн; 5 – тяга; 6 – шарнир; 7 – рычаги (челюсти); 8 – центральный шарнир; 9 – шарнир на штоке 3

 

Первый цикл работы может быть использован для разжима (перемещения) элементов конструкций. В этом случае инструмент будет комбинированным: перемещение в первом цикле работы, резание – во втором цикле.

Инструмент для перемещения материалов или изделий включает в себя такие изделия, как: разжимы, расширители, домкраты и др.

Приниципиальная схема устройства и работы механизмов этого типа инструментов представлена на рис. 7. Инструменты этого типа называют нецентрально-осевыми, так как опоры шарниров 6, вокруг которых поворачиваются

<== предыдущая лекция | следующая лекция ==>
Методы стерилизации, автоклавирование, пастеризация, тиндализация. | I. Цели и задачи практики. Срок освоения ООП по заочной форме обучения 2 года
Поделиться с друзьями:

mylektsii.su - Мои Лекции - 2015-2026 год. (3.183 сек.)Все материалы представленные на сайте исключительно с целью ознакомления читателями и не преследуют коммерческих целей или нарушение авторских прав Пожаловаться на материал