Студопедия

Главная страница Случайная страница

КАТЕГОРИИ:

АвтомобилиАстрономияБиологияГеографияДом и садДругие языкиДругоеИнформатикаИсторияКультураЛитератураЛогикаМатематикаМедицинаМеталлургияМеханикаОбразованиеОхрана трудаПедагогикаПолитикаПравоПсихологияРелигияРиторикаСоциологияСпортСтроительствоТехнологияТуризмФизикаФилософияФинансыХимияЧерчениеЭкологияЭкономикаЭлектроника






Пожежна безпека. Тема 17. Основи пожежної профілактики на виробничих об’єктах






Тема 17. Основи пожежної профілактики на виробничих об’єктах

 

1. Показники вибухопожежонебезпечних властивостей матеріалів і речовин. 2. Категорії приміщень за вибухопожежонебезпечністю.

3. Класифікація вибухопожежонебезпечних та пожежонебезпечних приміщень і зон.

4. Основні засоби і заходи забезпечення пожежної безпеки виробничого об’єкту. 5. Установки та засоби гасіння пожеж

6. Засоби пожежегасіння.

7. Дії персоналу при виникненні пожежі.

1. Показники вибухопожежонебезпечних властивостей матеріалів і речовин.

Відповідно до ГОСТ 12.1.044-89 оцінку пожежовибухонебезпечності усіх речовин та матеріалів проводять залежно від агрегатного стану: газ, рідина, тверда речовина (пил виділено в окрему групу). Тому і показники їхньої пожежовибухонебезпечності будуть дещо різні.

Деякі основні показники вибухопожежонебезпечності речовин та матеріалів

    Застосовність показників
№ зп. Показники пожежовибухонебезпечності
        газів рідин твердих речовин пилу
  Група горючості + + + +
  Температура спалаху - + + -
  Температура спалахування - + + +
  Температура самоспалахування + + + +
  Концентраційні межі поширення полум'я (спалахування) + + - +
  Температурні межі поширення полум'я (спалахування) + + - -

П р и м і т к а: знак «+» означає застосовність, а знак «-» — незастосовність показника.

 

За горючістю речовини та матеріали поділяються на три групи: негорючі, важкогорючі та горючі (будівельні матеріали відповідно до ДСТУ Б В.2.7-19-95 поділяються на горючі та негорючі).

Негорючі — речовини та матеріали не здатні до горіння в повітрі нормаль­ного складу. Це переважно неорганічні матеріали, металеві, гіпсові, цегляні конструкції та ін.

Важкогорючі — це речовини та матеріали, які здатні до займання в повітрі від джерела запалювання, однак після його вилучення не здатні до самостійного горіння. До них належать матеріали, які містять горючі та негорючі складові частини. Наприклад, асфальтобетон, фіброліт, пресовані дерев'яно-волокнисті плити тощо.

Горючі — речовини та матеріали, які здатні до самозаймання, а також займання від джерела запалювання і самостійного горіння після його вилучення. До них належать більшість органічних матеріалів. В свою чергу горючі матеріали та речовини поділяються на легкозаймисті, тобто такі, які займаються від джерела запалювання незначної енергії (сірник, іскра тощо) без попереднього нагрівання (папір, целюлоза та інші) та важкозаймисті, які займаються від порівняно потужного джерела запалювання (пресований картон, руберойд та інші).

Температура спалаху — найменша температура речовини, за якої за встановленими умовами випробування над її поверхнею утворюється пара, здатна спричинити спалах у повітрі під впливом джерела запалювання, але швидкість утворення пари недостатня для підтримання стійкого горіння.

За температурою спалаху розрізняють:

— легкозаймисті рідини (ЛЗР) — рідини, які мають температуру спалаху, що не перевищує 61°С у закритому тиглі (бензин, ацетон, етиловий спирт та ін.);

- горючі рідини (ГР) - рідини, які мають температуру спалаху понад 61 °С у закритому тиглі або 66 °С у відкритому тиглі (мінеральні мастила, мазут, формалін та ін.).

Температура спалахування — найменша температура матеріалу (речовини), за якої за встановленими умовами випробування матеріал (речовина) виділяє горючі пару та гази з такою швидкістю, що під час впливу на них джерела запалювання спостерігається спалахування.

Температура самоспалахування — найменша температура навколишнього середовища, за якої за встановленими умовами випробування спостерігається самоспалахування матеріалу (речовини).

Нижня (НКМ) та верхня (ВКМ) концентраційні межі поширення полум'я — це мінімальний та максимальний вміст горючої речовини в однорідній суміші з окислювальним середовищем за якого можливе поширення полум'я по суміші на будь-яку відстань від джерела запалювання. В замкнутому об'ємі спалахування носить, зазвичай, вибуховий характер, тому вказані концентраційні-межі іноді ще називають межами вибуховості.

Повітряні суміші, що містять горючу речовину нижче НКМ чи вище ВКМ горіти (вибухати) не можуть. Наявність областей негорючих концентрацій речовин та матеріалів надає можливість вибрати такі умови їх зберігання, транспортування та використання, при яких виключається можливість виникнення пожежі чи вибуху.

Значну вибухову та пожежну небезпеку становлять різноманітні горючі пиловидні речовини в завислому стані. Залежно від значення нижньої концентра­ційної межі поширення полум'я пил поділяється на вибухо- та пожежонебезпечний. При значенні НКМ менше 65 г/м3 пил є вибухонебезпечним (пил сірки, борошна, цукру тощо), а при інших значеннях НКМ — пожежонебезпечним (пил деревини, тютюну тощо).

Розрізняють також нижню (НТМ) та верхню (ВТМ) температурні межі поширення полум'я. НТМ та ВТМ — це такі температури матеріалу (речовини), за яких його (її) насичена пара утворює в окислювальному середовищі концентрації, що дорівнюють відповідно НКМ та ВКМ.

Температурні межі поширення полум'я використовують зокрема для вибору температурних умов зберігання рідин у тарі, за яких концентрація насичених парів буде безпечною щодо пожежі чи вибуху.

Основні показники пожежовибухонебезпечності деяких ЛЗР та ГР

№ зп. Назва ЛЗР, ГР Температу­ра спалаху (tcn), °С Температура самоспалаху-вання (tcc), °С Концентраційні межі поши­рення полум'я, % об'єм. Температурні межі поши­рення полум'я, °С
                НКМ/ВКМ НТМ/ВТМ
  Ацетон -18   2, 2/13 -20/6
  Бензин автомобільний А-76 -36   0, 76/5, 16 -36/-4
  Бензол -11   1, 4/7, 1 -14/13
  Бутилацетат     2, 2/14, 7 13/48
  Гас     1, 4/7, 5 27/69
  Етилацетат     3, 5/16, 8 1/31
  Ксилол     1, 2/6, 2 24/50
  Машинне мастило (марка ФМ-5, 6 АП)     - 172/270
  Спирт бутиловий     1, 7/12 31/60
  Спирт етиловий     3, 6/19 11/41
  Спирт ізопропиловий     2, 0/12 8/37

2. Категорії приміщень за вибухопожежонебезпечністю.

Для правильного планування та успішного проведення заходів пожежної про­філактики вагоме значення має оцінка об'єктів щодо їх вибухопожежонебезпеки. Умови виникнення та поширення пожежі в будівлях та приміщеннях залежать від кількості та пожежонебезпечних властивостей речовин і матеріалів, що в них знахо­дяться (використовуються), а також особливостей технологічних процесів розміщених у них виробництв. За вибухопожежною та пожежною небезпекою приміщення та будівлі відповідно до норм технологічного проектування (ОНТП 24-86) поділяються на п'ять категорій: А, Б, В, Г, Д.

Категорія А (вибухопожежонебезпечна). Горючі гази, легкозаймисті рідини з температурою спалаху не більше 28 °С в такій кількості, що можуть утворювати вибухонебезпечні паро- і газоповітряні суміші, при спалахуванні яких розвивається розрахунковий надлишковий тиск вибуху в приміщенні, що перевищує 5 кПа. Речовини та матеріали, здатні вибухати та горіти при взаємодії з водою, киснем повітря або одне з одним у такій кількості, що розрахунковий надлишковий тиск вибуху в приміщенні перевищує 5 кПа.

Категорія Б (вибухопожежонебезпечна). Горючий пил або волокна, легкозай­мисті рідини з температурою спалаху більше 28 °С та горючі рідини в такій кількості, що можуть утворювати вибухонебезпечні пило- або пароповітряні суміші, при спала­хуванні яких розвивається розрахунковий надлишковий тиск вибуху в приміщенні, що перевищує 5 кПа.

Категорія В (пожежонебезпечна). Горючі та важкогорючі рідини, тверді горючі та важкогорючі речовини і матеріали, речовини та матеріали, здатні при взаємодії з водою, киснем повітря або одне з одним лише горіти, за умови, що приміщення, в яких вони знаходяться (використовуються) не належать до категорій А чи Б.

Категорія Г. Негорючі речовини та матеріали в гарячому, розжареному або розплавленому стані, процес обробки яких супроводжується виділенням променистого тепла, іскор, полум'я; горючі гази, рідини, тверді речовини, які спалюються або утилізуються як паливо.

Категорія Д. Негорючі речовини та матеріали в холодному стані.

3. Класифікація вибухопожежонебезпечних та пожежонебезпечних приміщень і зон.

Класифікація вибухо-та пожежонебезпечних приміщень (зон)

Основним заходом запобігання пожеж і вибухів від електрообладнання є пра­вильний його вибір і експлуатація, особливо у вибухо- і пожежонебезпечних приміщеннях. Згідно з Правилами улаштування електроустановок (ПУЕ), приміщення поділяються на вибухонебезпечні (В-І, В-Іа, В-Іб, В-Іг, В-ІІ, В-ІІа) і пожежонебезпечні (П-І, П-ІІ, П-ІІа, П-ІІІ) зони.

Вибухонебезпечна зона — це простір, в якому є або можуть з'явитися вибухо­небезпечні суміші.

Клас В-І — зони приміщень, в яких виділяються горючі гази і пари в такій кількості та з такими властивостями, що можуть створювати з повітрям або іншими окисниками вибухонебезпечні суміші при нормальних нетривалих режи­мах роботи.

Клас В-Іа — зони приміщень, в яких вибухонебезпечна концентрація газів і парів можлива лише внаслідок аварії або несправності.

Клас В-Іб — ті ж самі зони, що й класу В-Іа, але мають наступні особливості:

- горючі гази мають високу нижню концентраційну межу поширення полум'я (15% і більше) та різкий запах;

- при аварії в цих зонах можливе утворення лише місцевої вибухонебезпечної концентрації, яка поширюється на об'єм, не більший 5% загального об'єму приміщення (зони);

- горючі гази і ЛЗР використовуються у невеликих кількостях без застосування відкритого полум'я, у витяжних шафах або під витяжними зонтами.

Клас В-Іг — простір навколо зовнішніх установок, які містять горючі гази або ЛЗР (наземних і підземних резервуарів з ЛЗР або горючими газами, естакад для зливання і наливання ЛЗР тощо).

Клас В-П — зони приміщень, де можливе утворення вибухонебезпечних кон­центрацій пилу або волокон з повітрям або іншим окисником при нормальних, режимах роботи.

Клас В-ІІа — зони, аналогічні зонам класу В-П, де вибухонебезпечна концентрація пилу і волокон може утворюватися лише внаслідок аварії або несправності.

Якщо об'єм вибухонебезпечної суміші перевищує 5% вільного об'єму примі­щення, то все приміщення належить до відповідного класу вибухонебезпеки.

Пожежонебезпечна зона — це простір, де знаходяться або можуть знаходитися горючі речовини як при нормальному технологічному процесі, так і при можливих його порушеннях, а також при їх складуванні.

Клас П-І — зони приміщень, в яких застосовуються або зберігаються горючі рідини з температурою спалаху вище 61 °С.

Клас П-ІІ — зони приміщень, де виділяється горючий пил або волокна з нижньою концентраційною межею поширення полум'я понад 65 г/м3 об'єму повітря, або вибухо­небезпечного пилу, вміст якого в повітрі приміщень не досягає вибухонебезпечних концентрацій.

Клас П-ІІа — зони приміщень, в яких є тверді горючі речовини, що нездатні переходити у завислий стан.

Клас П-ІП — зони, що розташовані ззовні та зовнішні установки, де застосовуються або зберігаються горючі рідини з температурою спалаху понад 61 °С, або тверді горючі речовини.

Згідно з ПУЕ, в пожежонебезпечних зонах використовується електрообладнання закритого типу, внутрішній простір якого відділений від зовнішнього середовища оболонкою. Апаратуру керування і захисту, світильники рекомендується засто­совувати в пилонепроникному виконанні. Вся електропроводка повинна мати надійну ізоляцію.

У вибухонебезпечних зонах та в зовнішніх установках слід використовувати вибухозахищене обладнання, виготовлене згідно з ГОСТ 12.2.0-20-76. Пускову апара­туру, магнітні пускачі для класів В-І та В-ІІ необхідно виносити за межі вибухо­небезпечних приміщень з дистанційним керуванням. Проводи у вибухонебезпечних приміщеннях мають прокладатися у металевих трубах. Може використовуватися броньований кабель. Світильники для класів В-І, В-ІІ, В-ІІа також повинні мати вибухозахищене виконання.

Категорія вибухопожежної та пожежної небезпеки приміщення, а також клас його вибухопожежонебезпеки за ПУЕ повинні бути позначені відповідно табличкою згідно встановлених норм на вхідних дверях виробничих та складських приміщень.

4. Основні засоби і заходи забезпечення пожежної безпеки виробничого об’єкту.

Під пожежною безпекою об'єкта розуміють такий його стан, за якого з регламенто­ваною імовірністю виключається можливість виникнення і розвитку пожежі та впливу на людей небезпечних чинників пожежі, а також забезпечується захист матеріальних цінностей.

Забезпечення пожежної безпеки об'єкта досить складне і багатоаспектне зав­дання, тому до його вирішення необхідно підходити комплексно. Комплекс заходів та засобів щодо забезпечення пожежної безпеки об'єкта складається із відповідних систем, кожна з яких підрозділяється на підсистеми, а ті, в свою чергу, на підсистеми нижчого рівня, які на рис. 4.11 не показані.

 
 

 

 


Основними системами комплексу заходів та засобів щодо забезпечення пожеж­ної безпеки об'єкта є: система запобігання пожежі, система протипожежного захисту та система організаційно-технічних заходів. Оскільки дві перші системи достатньо об'ємні та потребують більш детального вивчення, то розглянемо їх окремими пунктами розділу.

Всі заходи організаційно-технічного характеру на об'єкті можна підрозділити на організаційні, технічні, режимні та експлуатаційні.

Організаційні заходи пожежної безпеки передбачають: організацію пожежної охорони на об'єкті, проведення навчань з питань пожежної безпеки (включаючи інструктажі та пожежно-технічні мінімуми), застосування наочних засобів проти­пожежної пропаганди та агітації, організацією ДПД та ПТК, проведення перевірок, оглядів стану пожежної безпеки приміщень, будівель, об'єкта в цілому та ін.

До технічних заходів належать: суворе дотримання правил і норм, визначених чинними нормативними документами при реконструкції приміщень, будівель та об'єктів, технічному переоснащенні виробництва, експлуатації чи можливому переобладнанні електромереж, опалення, вентиляції, освітлення і т. п.

Заходи режимного характеру передбачають заборону куріння та застосування відкритого вогню в недозволених місцях, недопущення появи сторонніх осіб у вибухонебезпечних приміщеннях чи об'єктах, регламентацію пожежної безпеки при проведенні вогневих робіт тощо.

Експлуатаційні заходи охоплюють своєчасне проведення профілактичних оглядів, випробувань, ремонтів технологічного та допоміжного устаткування, а також інженерного господарства (електромереж, електроустановок, опалення, вентиляції).

5. Установки та засоби гасіння пожеж

Є чотири основні способи припинення процесу горіння:

а) охолодження горючих речовин або зони горіння:

— суцільними струменями води;

— розпиленими струменями води;

— перемішуванням горючих речовин

б) ізоляції горючих речовин або окисника (повітря) від зони горіння:

— шаром піни;

— шаром продуктів вибуху вибухових речовин;

— утворенням розривів у горючій речовині;

— шаром вогнегасного порошку;

— вогнегасними смугами

в) розбавлення повітря чи горючих речовин:

— тонкорозпиленими струменями води;

— газоводяними струменями;

— негорючими газами чи водяною парою;

— водою (для горючих та легкозаймистих гідрофільних рідин)

г) хімічного гальмування (інгібування) реакції горіння:

— вогнегасними порошками;

— галогеновуглеводнями.

Зазвичай механізм гасіння пожежі має комбінований характер, при якому мають місце одночасно кілька способів припинення процесу горіння.

Речовини, що мають фізико-хімічні властивості, які дозволяють створити умови для припинення горіння називаються вогнегасними речовинами. Вони повинні володіти високим ефектом гасіння при відносно малій їх витраті, бути дешевими, безпечними при застосуванні, не заподіювати шкоди матеріалам, предметам та навко­лишньому середовищу. Речовини, що найбільш повно відповідають вищезазначеним вимогам, а відтак належать до основних вогнегасних речовин є: вода (в різних видах), піна, інертні та негорючі гази, галогенопохідні вуглеводнів, спеціальні порошки, пісок. Ці речовини здійснюють, зазвичай, комбіновану дію на процес горіння. Так, вода охолоджує та ізолює (або розбавляє) джерело горіння; піна здійснює ізолювальну та охолоджувальну дію; порошки можуть інгібувати процес горіння та ізолювати тверді горючі речовини від зони полум'я. Однак для будь-якої вогнегасної речовини характерна основна (домінуюча) дія. Наприклад, вода здійснює, в основному, охолоджувальну дію на процес горіння, піна — ізолювальну, інертні та негорючі гази — розбавлювальну, галогеновуглеводні та порошки — інгібувальну.

Розглянемо детальніше основні вогнегасні речовини.

Вода — найбільш розповсюджена, дешева та легкодоступна вогнегасна речовина. Потрапляючи в зону горіння, вона інтенсивно охолоджує речовини, що горять (теплопровідність води — 4, 19-103 Дж/кгК), збиває своєю масою полум'я, змочує поверхню горючої речовини та, утворюючи водяну плівку, перешкоджає надходженню до неї кисню з повітря. Пара, що утворилася розбавляє повітря, знижуючи тим самим концентрацію кисню (1 л води при випаровуванні утворює 1725 л пари). Для підвищення ефекту змочування та підвищення проникної здатності іноді у воду додають спеціальні добавки (наприклад, поверхнево-активні речовини). Для гасіння пожежі вода може застосовуватись у різних видах: компактними струменями; розпиленою та тонкорозпиленою, як водяна пара.

Вода у виді компактних струменів використовується для гасіння пожеж, що вже сильно розвинулись; пожеж на висоті; коли необхідно подати воду на великі відстані (до 50—70 м) чи надати їй значної ударної сили для відриву полум'я від ' матеріалу, що горить; для створення водяних завіс та охолодження об'єктів, що знаходяться поруч з осередком пожежі. Такий спосіб гасіння пожеж є простим та розповсюдженим, однак характеризується значними витратами води.

Розпиленими та тонкорозпиленими (краплинами менше 100 мкм) струменями води ефективно гасять тверді речовини і матеріали, горючі та навіть легкозаймисті рідини. При такому гасінні пожеж значно зменшуються витрати води, мінімально зволожуються та псуються матеріали, осаджується дим, створюються найбільш сприятливі умови для випаровування води, а відтак підвищення охолоджувального ефекту (при випаровуванні 1 л води поглинається близько 22 - 105 Дж теплоти) та розбавлення горючого середовища. Гасіння розпиленою та тонкорозпиленою водою має низку переваг (в першу чергу зменшуються витрати води) і тому в останні роки знаходить все ширше застосування.

Водяна пара застосовується для гасіння пожеж у приміщеннях об'ємом до 500 м3 та невеликих пожеж на відкритих майданчиках та устаткуванні. Пар зволожує матеріали та предмети, а також розбавляє повітря, знижуючи тим самим концентрацію кисню в зоні горіння. Вогнегасна концентрація водяної пари в повітрі становить приблизно 30—35% за об'ємом.

Слід зазначити, що як вогнегасна речовина вода має також властивості, що обмежують область її застосування. Так, водою не можна гасити об'єкти, устаткування, що знаходяться під напругою, оскільки вода є електропровідною. Вода вступає в хімічну реакцію з лужними, лужноземельними металами, їх карбідами в результаті чого виділяється значна кількість тепла та горючих газів, що може призвести до вибухів та збільшення пожежі. Не можна гасити водою легкозаймисті рідини, що мають меншу ніж у води густину (бензин, гас, толуол та ін.), оскільки вони спливають та продовжують горіти на поверхні води, збільшуючи тим самим осередок пожежі. По плівці ЛЗР, що розтеклася на поверхні води, пожежа може поширитись на значну відстань. Окрім того, вода може викликати значне псування деяких матеріалів, тому її не можна використовувати для гасіння цінного устаткування, бібліотек, музеїв і т. п.

Піна широко застосовується для гасіння легкозаймистих рідин, її вогнегасна дія полягає в тому, що покриваючи поверхню речовини, яка горить, вона обмежує доступ горючих газів та парів у зону горіння, ізолює речовину від зони горіння та охолоджує найбільш нагрітий верхній шар речовини. Для неперервного подавання піни при гасінні великих пожеж застосовуються спеціальні піноутворювальні апарати — стволи повітряно-пінні (СПП), піногенератори (ГПС). На практиці застосовують два види піни: хімічну (вогнегасники) та повітряно-механічну.

Хімічна піна отримується при взаємодії лужного та кислотного розчинів у присутності піноутворювача. Така піна складається із 80% вуглекислого газу, 19, 7% води та 0, 3% піноутворювальної речовини, її густина становить близько 0, 2 г/см3, кратність 5 (відношення об'єму піни до об'єму розчину, з якого вона утворена), стійкість до 40 хвилин. У зв'язку з високою вартістю компонентів, складністю отримання та організації пожежогасіння застосування хімічної піни в теперішній час обмежується.

Повітряно-механічна піна утворюється при механічному змішуванні повітря, води та піноутворювача. Частки цих компонентів становлять відповідно 90%, 9, 4—9, 8% та 0, 2—0, 6%. Повітряно-механічна піна буває низької кратності (до 10), середньої (10—200) та високої (більше 200). Її стійкість залежить від піноутворювача й становить до 20 хвилин, але зі збільшенням кратності вона зменшується.

Інертні та негорючі гази, головним чином, вуглекислий газ та азот, знижують концентрацію кисню в осередку пожежі та гальмують інтенсивність горіння. Вогнегасна концентрація цих газів при гасінні пожежі в закритому приміщенні становить 30—35% до об'єму приміщення. Інертні та негорючі гази застосовуються, як правило, для гасіння легкозаймистих та горючих рідин, твердих речовин та матеріалів, устаткування під напругою, а також у випадках, коли застосування води чи піни не дає дієвого ефекту чи воно є небажаним з огляду на значні збитки (в музеях, картинних галереях, архівах, приміщеннях з комп'ютер­ною технікою тощо).

Найбільший ефект досягається при гасінні інертними та негорючими газами пожеж у замкнутих об'ємах, однак при цьому необхідно враховувати можливість токсичної дії на людей вуглекислого газу.

Вогнегасна дія галогеновуглеводнів (хладонів) полягає у хімічному гальмуванні реакцій горіння, шляхом розривання ланцюгових реакцій окислення, тому їх називають інгібіторами або антикаталізаторами. В порівнянні з вуглекислим газом вони є більш ефективними та завдяки змочуванню можуть застосовуватись для гасіння тліючих речовин та матеріалів. Нижче наведено деякі галогенопохідні вуглеводнів та їх вогнегасні концентрації у відсотках за об'ємом: бромистий метилен — 2, 4%; йодистий метилен — 2, 7%; тетрафтор-диброметан — 7, 5%; бромистий етил — 8, 6%; дихлормонофторметан — 9, 5%. До недоліків галогеновуглеводнів можна віднести їх високу корозійну активність, токсичність та вартість. При використанні галогеновуглеводнів для гасіння пожежі необхідно дотримуватись правил безпеки. Зокрема, приведення в дію хладонових установок пожежогасіння допускається лише після евакуації людей із приміщення.

Вогнегасні порошки являють собою мілко подрібнені мінеральні солі з різними добавками, що протидіють злежуванню та утворенню грудок. Вони характеризуються високою вогнегасною спроможністю та універсальністю щодо сфери застосування. Вогнегасні порошки можна використовувати для різно­манітних способів пожежогасіння, в тому числі для інгібування та подавлення горіння вибухом. Розрізняють порошки загального та спеціального призначення. Основним компонентом порошка ПСБ є бікарбонат натрію (технічна сода); ПФ — діамоній фосфат; ПС — карбонат натрію; СН — сілікогель, насичений хладоном.

Вибір вогнегасної речовини залежить від класу пожежі. В табл. 4.12 наведена класифікація пожеж відповідно до міжнародного стандарту ISO № 3941-77 та ГОСТ 27331-87, а також рекомендовані вогнегасні речовини.

Таблиця 4.12

Класифікація пожеж та рекомендовані вогнегасні речовини

Клас пожежі Символ класу пожежі Характеристика горючих речовин та матеріалів або об'єкта, що горить Рекомендовані вогнегасні речовини
А Тверді речовини, переважно органічного походження, горіння яких супроводжується тлінням (деревина, текстиль, папір та ін.) Всі види вогнегасних речовин (перш за все вода).
В Горючі рідини або тверді речовини, які розтоплюються (нафтопродукти, спирти, стеарин, каучук, деякі синтетичні матеріали та ін.). Розпилена вода, всі види, пін, порошки, речовини на основі галогеноалкідів.
С     Горючі гази (водень, ацетилен, вуглеводні та ін.)     Порошки; гази: інертні (азот, С02), галогеновуглеводні; вода (для охолодження)
D   (Е)   Метали та їх сплави (.калій, натрій, алюміній, магній тощо).     Устаткування під напругою   Порошки (при спокійному подаванні на поверхню, що горить). СО2, хладони, порошки.

 

4.7.2. УСТАНОВКИ ТА ЗАСОБИ ГАСІННЯ ПОЖЕЖ

 

Всі установки та засоби, що застосовуються для гасіння пожеж підрозділяються на стаціонарні, пересувні та первинні.

Стаціонарні установки пожежогасіння являють собою апарати, трубопроводи та обладнання, які встановлені на постійних місцях і призначені для подачі вогнегасних речовин до місць займання. Такі установки поділяються на автоматичні і напівавто­матичні та ручні. Автоматичні установки при виникненні пожежі приводяться в дію відповідним давачем (сповіщувачем) або спонукальним пристроєм, а інші — людиною. Зараз найбільш широко застосовуються автоматичні установки пожежогасіння, які призначені: для виявлення осередку пожежі; забезпечення подачі та випуску вогнегасної речовини в захищуване приміщення; оповіщення про пожежу. Схема, що пояснює принцип роботи автоматичної установки пожежогасіння наведена на рис. 4.18.

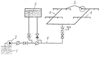
Як вогнегасна речовина в стаціонарних установках пожежегасіння застосовується вода, піна, порошки, газові та аерозольні вогнегасні речовини. Досить часто для захисту пожежонебезпечних об'єктів використовують спринклерні та дренчерні установки гасіння пожеж водою. У спрощеному вигляді спринклерна установка водяного пожежегасіння (рис. 4.19) містить: джерело водопостачання 1; водоживильники 2 і 3 для подачі води під відповідним напором; мережу відповідних труб 4 для транспортування води до зрошувачів; зрошувачі 5 для випуску та подачі води до місця виникнення пожежі. В трубах знаходиться вода під тиском, однак її витік при нормальних умовах неможливий, оскільки спринклерні зрошувачі закриті легкоплав­ким замком 4 (рис. 4.20, а). При підвищенні температури до відповідного значення сплав замка розплавляється і останній випадає із зрошувача разом з важелями 5 та клапаном 2, що закривав вихід води. Тоді струмінь води подається під тиском у зрошувач і, вдаряючись у розетку 1, розбризкується на значній площі. До трубопроводу спринклер прикріпляється штуцером 3. Як тільки відкривається хоча б один спринклер, то відразу автоматично подається сигнал тривоги пристроям оповіщення.

Рис. 4.18. Схема, що пояснює принцип дії автоматичної установки пожежегасіння:

1 — ємкість для зберігання вогнегасної речовини; 2 — обладнання для подачі речовини; 3 — пристрій вмикання подачі речовини та системи оповіщення про пожежу; 4 — пристрій виявлення пожежі (давач); 5 — пристрій випуску вогнегасної речовини; 6 — осередок займання; 7 — система оповіщення про пожежу

 

Таким чином, спринклерні зрошувачі поєднують функції давачів (сповіщувачів) і пристроїв, що забезпечують випуск та рівномірне зрошування водою захищуваної площі підлоги в місці виникнення пожежі.

Спринклерні установки водяного пожежегасіння залежно від температур у захищуваному приміщенні поділяють на водозаповнені (для приміщень з мінімальною температурою повітря 5 °С та вище), водоповітряні та повітряні (для неопалювальних приміщень).

В спринклерних установках спрацьовують лише ті зрошувачі, що знаходяться в зоні високої температури (осередку пожежі), крім того вони характеризуються досить високою інерційністю — спрацьовують лише через 2—3 хвилини від моменту підвищення температури в приміщенні. Іноді така інерційність є неприпустимою, а подачу води необхідно здійснити відразу на всю площу приміщення. В таких випадках застосовуються дренчерні установки, в яких замість спринклерних зрошувачів встановлені дренчери — відкриті зрошувачі без легкоплавких замків (рис. 4.20, б). Вода в дренчер надходить через штуцер 3, і розбризкується розеткою 1, яка утримується дужками 2. При звичайних умовах вхід води в мережу водопровідних труб із дренчерними зрошувачами закритий запірним клапаном вузла керування, який у випадку пожежі відкривається автома­тично (від автоматичних поже­жних сповіщувачів, спонука­льної системи з легкоплавкими замками, технологічних давачів) чи вручну (дистанційний або місцевий пуск). При цьому відразу вода подається через дренчерні зрошувачі в захищене приміщення, у якому виникла пожежа. Одночасно через оповіщувачі (динаміки) подається сигнал тривоги.

Рис. 4.19. Схема спринклерної установки

 

Слід зазначити, що вже розроблені і успішно застосовуються принципово нові стаціонарні засоби пожежегасіння, а саме модульні установки пожежегасіння — нетрубопровідні автоматичні установки пожежегасіння, які передбачають розміщення ємкості з вогнегасною речовиною та пусковим пристроєм безпосередньо в захищуваному приміщенні. До них належать зокрема малогабаритні модульні автоматичні установки пожежегасіння типу ПУМА-12П із зарядом вогнегасного порошку (захищуваний об'єм до 50 м3) та імпульсний самоспрацьовувальний порошковий модуль «Буран». Останній являє собою металеву півсферу, заповнену вогнегасним порошком (2 кг). При досягненні температури в зоні його встановлення 85—90 °С відбувається імпульсний викид вогнегасного порошка і ліквідація займання у захищуваному об'ємі (18 м3). Передбачено також спрацювання модуля від пожежного сповіщувача чи ручної кнопки.

 

Рис. 4.20. Зрошувачі: а — спринклерний; б — дренчерний

 

До пересувних пожежних засобів належать пожежні маши­ни, поїзди, катери, літаки, танки, а також пожежні автонасоси та мотопомпи.

Первинні засоби пожежегасіння призначені для ліквідації невеликих осередків пожеж, а та­кож для гасіння пожеж на початко­вій стадії їхнього розвитку силами персоналу об'єктів до прибуття штатних підрозділів пожежної охорони. До первинних засобів пожежегасіння належать вогнегасники, пожежний інвентар (бочки з водою, пожежні відра, ящики з піском, совкові лопати, покривала з негорючого теплоізоляційного полотна, грубововняної тканини або повсті) та пожежний інструмент (гаки, ломи, сокири тощо). Як правило, пожежний інвентар та інструменти, а також вогнегасники розміщуються на спеціальних пожежних щитах (стендах). Такі щити (стенди) встановлюються на території об'єкта з розрахунку один щит (стенд) на площу 5000 м2. На видних місцях об'єкта встановлюють відповідні знаки, що вказують місце знаходження пожежного щита (стенда) чи вогнегасника.

Досить часто, як первинні засоби пожежегасіння використовують вогнегасники, які характеризуються високою вогнегасною спроможністю та значною швидкодією. За способом транспортування вогнегасної речовини вогнегасники випускаються двох видів: переносні (об'ємом корпуса 1 —10 л; загальна вага не більше 20 кг), та. пересувні (об'ємом корпуса більше 25 л на спеціальних пристроях з колесами). Вибір виду вогнегасника обумовлюється розмірами можливих осередків пожеж. При значних розмірах останніх рекомендується встановлювати пересувні вогнегасники (рис. 4.21).

Рис. 4.21. Пересувний вогнегасник ВВ-80:

1 — балон; 2 — колесо; 3 — раструб; 4 — опора; 5 — шланг; 6 — запірно-пусковий механізм; 7 — рама; 8 — кожух

 

Створення надлишкового тиску, завдяки якому здійснюється викидання вогнегасної речовини з вогнегасника може здійснюватись: газом-витискувачем, що знаходиться в окремому малолітражному балоні, який може бути розміщений як усередині, так і зовні корпуса вогнегасника; газом-витискувачем, що знаходиться в корпусі вогнегасника (закачні); газом, що утворюється в результаті хімічної реакції.

Залежно від вогнегасної речовини вогнегасники підрозділяють на: водяні (із зарядом води чи води з добавками); пінні (хімічно-пінні, повітряно-пінні); газові (вуглекислотні, хладонові); порошкові; комбіновані (піна-порошок).

а б в г д

Рис. 4.22. Переносні вогнегасники: а — вогнегасник хімічно-пінний ВХП-10: 1 — корпус; 2 — стакан; 3 — запірно-пусковий пристрій; 4 — пусковий важіль; 5 — запірний клапан; б — вогнегасник повітряно-пінний ВПП-10: 1 — корпус; 2 — сифонна трубка; 3 — балончик; 4 — пусковий важіль; 5 — ручка; 6 — розпилювач; 7 — дифузор з сіткою; в — вуглекислотний вогнегасник ВВ-2: 1 — балон; 2 — запобіжний клапан; З — вентиль; 4 — сифонна трубка; 5 — дифузор-снігоутворювач; г — вогнегасник вуглекислотно-брометиловий ВВБ-ЗА: 1 — балон; 2 — ручка; 3 — розпилювальна насадка; 4 — ковпак; 5 — сифонна трубка; д — порошковий вогнегасник ВП-1 «Момент»: 1 — корпус; 2 — запобіжний кронштейн; 3 — балончик з вуглекислотою; 4 — голка; 5 — розпилювач з поліетиленовим ковпачком

 

Хімічно-пінні вогнегасники призначені для гасіння легкозаймистих та горючих рідин, а також твердих горючих речовин та матеріалів. Вогнегасник ВХП-10 (рис. 4.22, а) складається з трьох основних елементів: металевого корпуса 1 об'ємом 10 л, що герметичне закритий кришкою; поліетиленового стакана 2 та запірно-пускового пристрою 3. В корпусі вогнегасника знаходиться лужна частина заряду, а в стакані - кислотна. Для приведення вогнегасника в дію необхідно повернути важіль запірно-пускового пристрою на 180°, перевернути вогнегасник вверх дном і направити струмінь піни в осередок пожежі. При повертанні важеля 4 піднімається клапан 5, що закриває стакан, а при наступному перевертанні вогнегасника кислотна частина заряду виливається із стакана і вступає в реакцію з лужною частиною. В результаті реакції утворюється значна кількість вуглекислого газу, який інтенсивно перемішує рідину, утворюючи при цьому піну. Завдяки надлишковому тиску СО2 через отвір у корпусі (сприск) викидається струмінь хімічної піни на віддаль 6—8 м. Необхідно зазначити, що на сьогодні в Україні хімічно-пінний вогнегасник ВХП-10 не сертифікований і промисловістю не випускається.

Повітряно-пінні вогнегасники (ВПП-5; ВПП-10; ВПП-100) мають ту ж область застосування що й хімічно-пінні. На відміну від хімічної, повітряно-механічна піна не викликає корозію, більш екологічна, однак має меншу стійкість (швидко розкладається). Зарядом вогнегасника ВПП-10 (рис. 4.22, б) є 6% водний розчин піноутворювача, що знаходиться в корпусі. Надлишковий тиск, завдяки якому водний розчин піно­утворювача виходить (викидається) із корпуса вогнегасника через сифонну трубку створюється вуглекислотою, яка у зрідженому стані знаходиться в балончику. Повітряно-механічна піна утворюється в дифузорі, де розчин, що виходить із корпуса змішується з повітрям. Для приведення вогнегасника в дію необхідно, направивши на осередок вогню дифузор, натиснути на пусковий важіль. При цьому з'єднаний з важелем шток з голкою опускається й проколює мембрану балончика.

Пінні вогнегасники (хімічно-пінні та повітряно-пінні) не можна застосовувати для гасіння електроустановок, що знаходяться під напругою, а також лужних, лужноземельних металів та їх карбідів, оскільки до складу піни входить вода.

Вуглекислотні вогнегасники (ВВ-2, ВВ-5, ВВ-8, ВВ-25, ВВ-80) застосовуються для гасіння легкозаймистих та горючих рідин, твердих горючих речовин та матеріалів, електропроводок, що знаходяться під напругою до 1000 В, а також цінних предметів. У вогнегаснику ВВ-2 (рис. 4.22, в), вуглекислота знаходиться в товстостінному металевому балоні 1 в зрідженому стані. При відкриванні вентиля 3 вуглекислота під тиском виходить у дифузор, де в результаті різкого розширення (в 500 разів за об'ємом) та швидкого випаровування утворюється снігоподібна маса з температурою близько - 70 °С. Вогнегасна дія вуглекислого газу основана на пониженні концентрації кисню в зоні горіння та охолодженні об'єкта, що горить.

Вуглекислотні вогнегасники необхідно оберігати від нагрівання (наприклад сонячними променями чи приладами опалення), оскільки при цьому значно підвищується тиск у балоні, в результаті чого може спрацювати запобіжний клапан. Так при температурі 20 °С робочий тиск у балоні становить 6 МПа (60 кг/см3), а при температурі 50 °С — 18 МПа.

Вуглекислотні вогнегасники не можна використовувати для гасіння гідрофільних ЛЗР (спирти, ацетон тощо), у яких СО2 добре розчиняється, лужних та лужноземельних металів, тліючих речовин (відсутнє змочування), а також речовин, які можуть горіти без доступу повітря (целулоїд, магній, перекиси та ін.).

Хладонові (аерозольні) вогнегасники (ВАХ, ВХ-3, ВВБ-ЗА, ВХ-7) призначені для гасіння електроустановок під напругою до 380 В, різноманітних горючих твердих та рідких речовин, за винятком лужних та лужноземельних металів та їх карбідів, а також речовин, що здатні горіти без доступу повітря. Як вогнегасна речовина у хладонових вогнегасниках використовуються галогеновуглеводні (бромистий етил, хладон 114В2, тетрафтордиброметан та ін.), які при виході з вогнегасника створюють струмінь із мілкодисперсних краплин. Тому, на відміну від вуглекислого газу, галогеновуглеводнями можна гасити тліючі матеріали (бавовна, текстиль, ізоляційні матеріали). Крім того вони не замерзають при виході із запірно-пускового пристрою і вимагають створення значно меншого (0, 9 МПа) тиску в балоні, що дозволяє використовувати тонкостінні балони, вага яких є невеликою.

Хладонові вогнегасники (рис. 4.22, г) являють собою циліндричні стальні тонко­стінні балони, в горловини яких встановлені запірно-пускові пристрої. Для створення надлишкового тиску, завдяки якому вогнегасна речовина виходить із розпилювальної, насадки, в балон закачують стиснуте повітря.

Порошкові вогнегасники (ВП-1, ВП-2(з)1 ВП-5, ВП-10, ВП-100) є універсальними і характеризуються широким діапазоном застосування. На відміну від інших видів вогнегасників ними можна гасити лужні та лужноземельні метали та їх карбіди. Надлишковий тиск у корпусі для виштовхування через розпилювач порошку у вогнегаснику ВП-1 (рис. 4.22, д) створюється вуглекислим газом, який у зрідженому стані знаходиться в балончику. Вогнегасник приводиться в дію натискуванням грибовидної кнопки після зняття запобіжного кронштейна. При цьому шток опускається і голка проколює мембрану балончика з вуглекислотою.

 

Основні технічні характеристики деяких переносних вогнегасників

№ зп       Показник     Тип переносного вогнегасника
ВПП-10 ВХПП-10 ВХП-10 ВХ-3 ВВ-5 ВВ-2 ВП-10(3) ВП-5-02 ВП-2-01
  Об'єм або маса заряду 10л 10л 10 л 3 кг 5 кг 2 кг 10 кг 5 кг 2 кг
  Маса вогнегасника (повна), кг 15, 5 14, 0 14, 0 7, 1 13, 5 '7, 0 17, 2 9, 5 3, 7
  Вогнегасна здатність (площа гасіння модельного вогнища пожежі, м2) щодо класів пожежі:                  
  А 4, 78 4, 7 4, 7 2, 8 0, 9 25, 34 7, 59 4, 78
  В 1, 76 1, 1 1, 1 0, 7 0, 41 0, 41 5, 75 1, 76 0, 41
  Тривалість подавання вогнегасної речовини (мінімальна), с 45 ±5 50±10 60±5       14±2 15±3 10±2
  Довжина струменя вогнегасної речо- вини (мінімальна), м 4, 5 5, 0 6, 0 3, 0 4, 5 1, 5 4, 0 5, 0 2, 5
  Діапазон темпера- тур експлуатації, °С 5 - 50 5 - 45 5 - 45 -60 - 50 -40 - 50 -40 - 50 -20 - 50 -50 - 50 -40 - 50

 

Вибір типу та визначення необхідної кількості вогнегасників для оснащення приміщень проводиться відповідно до Правил пожежної безпеки в Україні із врахуванням їх вогнегасної спроможності, граничної захищуваної площі, категорії приміщень за вибухопожежною та пожежною небезпекою, а також класу можливої пожежі. Вогнегасники розміщуються в легкодоступних та помітних місцях, в яких виключається пряме попадання сонячних променів і безпосередній вплив опалюваних та нагрівальних приладів.

Протипожежне водопостачання. Для подачі необхідних об'єктів в будь-який період доби для гасіння пожежі у населених пунктах та об'єктах, що знаходяться на їх території необхідно передбачити протипожежне водопостачання, під яким розуміють комплекс інженерно-технічних споруд, призначених для забирання і транспортування води, зберігання її запасів та використання для пожежегасіння. На промислових підприємствах протипожежний водогін, як правило, об'єднується з господарсько-питним чи виробничим водогоном. В окремих випадках дозволяється подавати воду для гасіння пожежі із водоймищ (озера, річки, водосховища), що знаходяться поруч за допомогою насосів. При неможливості, недоступності чи недоцільності отримання води із водогону або водоймищ створюють недоторканий запас води в спеціальних пожежних резервуарах або ємкостях. Кількість води, необхідна для гасіння пожежі, визначається залежно від об'єму будівлі її ступеня вогнестійкості та категорії за вибухопожежною та пожежною небезпекою. Наприклад, для виробничих будівель І та II ступеня вогнестійкості категорій А, Б (вибухопожежонебезпечні) та В (пожежонебезпечна) витрати води на зовнішнє пожежегасіння приймаються при об'ємі будівлі: до 5 тис. м3 - 10 л/с; 5—20 тис. м3 — 15 л/с; 20—50 тис. м3 — 20 л/с; 50—200 тис. м3 — 30 л/с і т. д.

Відповідно до СНиП 2.0402-84, при розрахунках недоторканого пожежного об'єму води в резервуарах тривалість гасіння пожежі повинна прийматись 3 год., а для будівель І і II ступеня вогнестійкості з негорючими несівними конструкціями з виробництвом категорії Г і Д — 2 год.

Протипожежні водогони залежно від місця прокладання поділяються на зовнішні та внутрішні, а за тиском у них — на водогони низького та високого тиску (рис. 4.23).

На зовнішніх протипожежних водогонах встановлюються гідранти (спеціальні пожежні крани) підземного чи наземного (для південних регіонів країни) виконання (рис. 4.24)/

Як правило, в населених пунктах і на території підприємств встановлюють підземні гідранти, які не замерзають зимою і не заважають руху транспорту та людей.

Пожежні гідранти розташовують вздовж автомобільних доріг на відстані 150—200 м один від одного, не ближче 5 м від зовнішніх стін будівель і не далі 2, 5 м від краю проїжджої частини дороги. Для швидкого знаходження гідрантів у темний період доби чи зимову пору року біля місць їх розташування встановлюють відповідні покажчики (згідно ГОСТ 12.4.009-83) або роблять написи «ПГ» з відповідними цифровими позначеннями на стінах будівель червоною чи флуоресцентною фарбою.

Для гасіння пожеж водою всередині будівель в них встановлюють внутрішні пожежні крани (рис. 4.25), які знаходяться у вбудованих або навісних шафках червоного кольору з написом «ПК» — на дверцятах. Пожежні крани розміщують на висоті 135 см від рівня підлоги біля входів, у коридорах, вестибулях, проходах та всередині приміщень на видних та легкодоступних місцях, їх взаємне розташування має бути таким, щоб гарантувати зрошення кожної точки захищуваного приміщення (рис. 4.26). При цьому повинна витримуватись вимога стосовно дотикання компактних частин струменів від двох суміжних пожежних кранів у найвіддаленішій і найвищій точці приміщення, що обслуговується цими кранами. Така точка називається дик­туючою (д. т.).

Кількість струменів від пожежних кранів у будівлі визначається відповідно до чинних будівельних норм (СНиП 2.04.01-85).

а б

Рис. 4.23. Загальні схеми подачі води від зовнішнього протипожежного водогону високого (а) та низького (б) тиску:

1 — гідрант; 2 — пожежна колонка; 3 — рукавна лінія; 4 — пожежний ствол; 5 — пожежний автомобіль.

 

Рис. 4.24. Схема зовнішнього протипожежного водогону підприємства:

1 — міський водогін; 2 — запасні резервуари води; 3 — насосна станція; 4 — гідранти; 5 — будівлі;

 

Рис. 4.25 Внутрішній пожежний кран

1 — вентиль; 2 — важіль для полегшення відкривання вентиля; 3 — пожежний рукав; 4 — ствол пожежний ручний; 5 — пульт дистанційного запуску насоса-підвищувача тиску

 

Рис. 4.26. Розміщення пожежних кранів та план зрошення приміщення, в якому вони встановлені:

а — план зрошення приміщення двома пожежними кранами; б — схема зрошення диктуючої точки приміщення; / — пожежні крани; 2 — струмені води; 3 — стеля; 4 — підлога

6. Дії персоналу при виникненні пожежі.

Система пожежного захисту - це комплекс методів, заходів та засобів, які направлені на обмеження розповсюдження та локалізацію пожежі, виявлення пожежі, створення умов для ліквідації пожежі, захист людей і матеріальних цінностей.

Протипожежний захист - це комплекс інженерно-технічних заходів, спрямованих на створення пожежної безпеки об'єктів і споруд. Пожежний зв'язок та сигналізація відіграють важливу роль у запобіганні пожежам і сприяють своєчасному виклику пожежних підрозділів на місце загоряння. Системи сигналізації дозволяють без участі людей автоматично передати повідомлення про пожежу і її адресу на центральний пункт пожежного зв'язку, а також автоматично провести запуск стаціонарних вогнегасник установок.

Протипожежний режим у закладах та установах включає розробку ефективних, економічно доцільних і технічно обґрунтованих заходів і засобів попередження пожеж, виробленні заходів, що запобігають поширення пожежі, що виникла і заходів для її ліквідації.

Керівники та інші працівники закладів, установ і організацій зобов'язані знати і виконувати правила пожежної безпеки, а в разі пожежі - вживати всіх залежних від них заходів для евакуації людей і гасіння пожежі. Відповідальність за пожежну безпеку закладів, установ і організацій несуть їх керівники і уповноважені ними особи, які залежно від характеру порушень і наслідків несуть адміністративну, кримінальну та іншу відповідальність згідно з чинним законодавством.

Навчання та перевірка знань з питань пожежної безпеки проводиться один раз на три роки одночасно з перевіркою знань з питань безпеки життєдіяльності і охорони праці. Відповідальність за пожежну безпеку структурних підрозділів закладів, установ і організацій несуть їх керівники. Обов'язки щодо забезпечення пожежної безпеки, утримання та експлуатації засобів протипожежного захисту мають бути відображені у відповідних посадових інструкціях.

Для працівників охорони повинна бути розроблена інструкція, в якій слід визначити їхні обов'язки щодо контролю за додержанням протипожежного режиму, огляду території і приміщень, порядок дій в разі виявлення пожежі, спрацювання засобів пожежної сигналізації та автоматичного пожежогасіння, а також вказати, кого з посадових осіб мають викликати в нічний час у разі пожежі. У вихідні та святкові дні, а також у вечірні і нічні години, заступаючи на чергування черговий зобов'язаний перевірити наявність і стан засобів пожежогасіння, справність телефонного зв'язку, чергового освітлення і пожежної сигналізації; пересвідчитися, що всі шляхи евакуації не захаращено, а двері евакуаційних виходів при потребі можуть бути без перешкод відчинені. Під час виявлення порушення протипожежного режиму і несправностей, внаслідок яких можливе виникнення пожежі, вжити заходів щодо їх усунення, а при потребі повідомити керівника або працівника, що його заміщує. Працівники охорони мають постійно мати при собі комплект ключів від дверей евакуаційних виходів та воріт, автомобільних в'їздів на територію установи, а також ручний електричний ліхтар.

Відповідно до цих правил у кожному структурному підрозділі закладу, установи і організації має бути розроблена конкретна інструкція щодо заходів пожежної безпеки. Інструкція розміщується на видному місці.

У кожному закладі, установі повинен бути встановлений відповідний протипожежний режим і порядок оповіщення людей про пожежу, з якими потрібно ознайомити всіх працівників. Території закладів, установ і організацій слід постійно утримувати в чистоті. Дороги, проїзди та під'їзди до будівель, а також доступи до пожежного інвентарю та обладнання мають бути завжди вільними. На території закладів, установ і організацій не дозволяється розкладання вогнищ, спалювання сміття.

У кожному приміщенні повинна висіти табличка, на якій вказано прізвище відповідального за пожежну безпеку, номер телефону найближчої пожежної частини, а також розміщена інструкція з пожежної безпеки. Протипожежні системи, установки, устаткування приміщень, будівель та споруд (протидимовий захист, пожежна автоматика, протипожежне водопостачання та інші захисні пристрої) необхідно постійно утримувати у справному робочому стані.

У приміщеннях та кабінетах не дозволяється:

- застосовувати для миття підлоги та обладнання легкозаймисті або горючі речовини (бензин, ацетон, гас тощо);

- користуватися електронагрівачами з відкритою спіраллю;

- залишати без нагляду робоче місце, запалені пальники та інші нагрівальні прилади;

- сушити предмети, що можуть горіти, на опалювальних приладах;

- зберігати будь-які речовини, пожежонебезпечні властивості яких не досліджені;

- тримати легкозаймисті та горючі речовини біля відкритого вогню, нагрівальних приладів, пальників тощо;

- виливати відпрацьовані легкозаймисті та горючі рідини в каналізацію.

Усі працівники, під час прийому на роботу і за місцем праці, повинні проходити інструктажі з пожежної безпеки. Організація своєчасного проведення навчання, інструктажів та перевірки знань покладається на керівника установи, а в структурному підрозділі - на його керівника. Допуск до роботи осіб, які не пройшли спеціального навчання, інструктажу і перевірки знань, не дозволяється. Програми для проведення вступного та первинного протипожежних інструктажів затверджуються керівником

Первинний інструктаж проводиться безпосередньо на робочому місці до початку виробничої діяльності. Його повинні пройти усі особи, яких прийняли на роботу, студенти під час виробничої практики, а також перед проведенням з ними практичних занять в майстернях та лабораторіях. Проведення протипожежних інструктажів може здійснюватись разом з проведенням відповідних інструктажів з охорони праці. Первинний, повторний, позаплановий та цільовий інструктажі завершуються перевіркою знань. Про проведення всіх видів інструктажів робиться запис в спеціальному журналі з підписом осіб з якими проводився інструктаж, і тих хто його проводив.

У разі виникнення пожежі дії працівників закладів, установ і організацій, залучених до гасіння пожежі, мають бути спрямовані на створення безпеки людей, і в першу чергу дітей, їх евакуацію та рятування.

Кожен працівник закладу, установи і організації, який виявив пожежу або її ознаки (задимлення, запах горіння або тління різних матеріалів, підвищення температури в приміщенні тощо), зобов'язаний:

- негайно повідомити про це службу порятунку за телефоном: 101 (при цьому слід чітко назвати адресу об'єкта, місце виникнення пожежі, а також свою посаду та прізвище);

- задіяти систему сповіщення людей про пожежу, розпочати самому і залучити інших осіб до евакуації людей з будівлі до безпечного місця згідно з планом евакуації;

- сповістити про пожежу керівника закладу або установи чи відповідну компетентну посадову особу та чергового по об'єкту;

- вжити (за можливістю) заходів для гасіння (локалізації) пожежі та збереження матеріальних цінностей;

- організувати зустріч пожежних підрозділів, вжити заходів до гасіння пожежі наявними в установі засобами пожежогасіння;

- у разі необхідності викликати інші аварійно-рятувальні служби (медичну, газову та ін);

- якщо неможливо погасити пожежу власними силами, потрібно якнайшвидше залишити приміщення через основні та запасні виходи;

- виходячи з приміщення, де виникла пожежа, потрібно щільно зачинити двері, щоб зменшити надходження кисню до приміщення

Посадова особа об'єкта, що прибула на місце пожежі, зобов'язана:

● перевірити, чи викликана пожежна охорона (продублювати повідомлення), довести подію до відома роботодавця;

● у разі загрози життю людей негайно організувати їх рятування (евакуацію), використовуючи для цього наявні сили й засоби;

● видалити за межі небезпечної зони всіх працюючих, не пов'язаних з ліквідацією пожежі;

● припинити роботи в будівлі (якщо це допускається технологічним процесом), крім робіт, пов'язаних із заходами по ліквідації пожежі;

● здійснити в разі необхідності відключення електроенергії (за винятком систем протипожежного захисту), зупинення транспортуючих пристроїв, агрегатів, апаратів, перекриття газових, парових та водяних комунікацій, зупинення систем вентиляції в аварійному та суміжних з ним приміщеннях (за винятком пристроїв протидимового захисту) та виконати інші заходи, що сприяють запобіганню розвитку пожежі та задимленості будівлі;

● перевірити включення оповіщення людей про пожежу, установок пожежогасіння, протидимового захисту;

● організувати зустріч підрозділів пожежної охорони, подати їм допомогу у виборі найкоротшого шляху для під'їзду до осередку пожежі та в установці на водні джерела;

● одночасно з гасінням пожежі організувати евакуацію і захист матеріальних цінностей;


Поделиться с друзьями:

mylektsii.su - Мои Лекции - 2015-2026 год. (2.248 сек.)Все материалы представленные на сайте исключительно с целью ознакомления читателями и не преследуют коммерческих целей или нарушение авторских прав Пожаловаться на материал