Студопедия

Главная страница Случайная страница

КАТЕГОРИИ:

АвтомобилиАстрономияБиологияГеографияДом и садДругие языкиДругоеИнформатикаИсторияКультураЛитератураЛогикаМатематикаМедицинаМеталлургияМеханикаОбразованиеОхрана трудаПедагогикаПолитикаПравоПсихологияРелигияРиторикаСоциологияСпортСтроительствоТехнологияТуризмФизикаФилософияФинансыХимияЧерчениеЭкологияЭкономикаЭлектроника






Асинхронные электродвигатели






Основные понятия

 

Отличительным признаком асинхронного двигателя является отставание ротора от вращающегося магнитного поля, характеризуемого величиной скольжения

,

откуда частота вращения ротора асинхронного двигателя

.

Асинхронный двигатель аналогичен трансформатору, у которого вторичная обмотка (обмотка ротора) вращается. При этом вращающийся магнитный поток сцепляется не только с обмоткой статора, где индуцирует ЭДС , но и с обмоткой вращающегося ротора, где индуцирует ЭДС

,

где - ЭДС, наведенная в неподвижном роторе; - число витков в обмотке ротора, для короткозамкнутого ротора = 0, 5, а обмоточный коэффициент = 1.

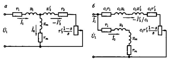
Асинхронному двигателю соответствует электрическая схема замещения (рис. 17) и система уравнений ЭДС и токов

;

;

.

В этих уравнениях, аналогично трансформаторам, параметры обмотки ротора приведены к обмотке статора

.

Рис. 17. Схемы замещения асинхронного двигателя:

а - Т-образная; б - Г-образная

 

Основным уравнениям асинхронного двигателя соответствует векторная диаграмма (рис. 18).

Приведенное значение тока в обмотке ротора асинхронного двигателя определяется выражением

где - активное сопротивление обмотки статора; - приведенное значение активного сопротивления ротора; - индуктивное сопротивление обмотки статора; - приведенное значение индуктивного сопротивления ротора.

Мощность, потребляемая двигателем в номинальном режиме,

.

Ток, потребляемый двигателем из трехфазной сети при номинальной нагрузке,

.

Суммарные потери в двигателе при номинальной нагрузке

,.

или

.

Переменные потери в двигателе в номинальном режиме

,

где потери:

- на нагрев обмоток двигателя

,

- добавочные потери

.

Постоянные потери

= .

Рис. 18. Векторная диаграмма асинхронного двигателя

 

КПД двигателя определяется как отношение полезной мощности к потребляемой

.

Полезный момент (момент на валу) двигателя при номинальной нагрузке

,

отсюда полезная мощность двигателя

.

Электромагнитный момент асинхронного двигателя

,

или

.

Максимальное значение момента

= ,

или в упрощенной форме

.

Соответствующее этому моменту критическое скольжение

= .

Пусковой момент асинхронного двигателя

,

или по упрощенной формуле

.

Графически выраженная зависимость электромагнитного момента от скольжения называется механической характеристикой асинхронного двигателя (рис. 19).

Рис. 19. Механическая характеристика Рис. 20. Влияние напряжения
асинхронного двигателя на механические характеристики асинхронного двигателя

 

Упрощенная формула для расчета электромагнитного момента асинхронного двигателя (формула Клосса) может быть использована для построения механической характеристики

.

При этом критическое скольжение определяют по формуле

,

,

где - перегрузочная способность двигателя.

При расчете механической характеристики следует иметь в виду, что при значениях скольжения, превышающих критическое, точность расчетов резко снижается. Это объясняется изменением параметров схемы замещения асинхронного двигателя, вызванного магнитным насыщением зубцов статора и ротора, и увеличением частоты тока в обмотке ротора.

Форма механических характеристик асинхронного двигателя в значительной степени зависит от величин подведенного к обмотке статора напряжения (рис. 20) и активного сопротивления обмотки ротора (рис. 21).

Рис. 21. Влияние сопротивления на механические характеристики

асинхронного двигателя

 

Приводимые в каталогах на асинхронные двигатели данные обычно не содержат сведений о параметрах схемы замещения, что затрудняет применение формул для расчета электромагнитного момента. Поэтому для расчета электромагнитного момента часто применяют формулу

.

Полное сопротивление двигателя в режиме короткого замыкания

.

Активная и индуктивная составляющие сопротивления короткого замыкания

; = .

 

Задачи

Задача 4.1. В табл. 24 приведены по вариантам данные следующих параметров трехфазного асинхронного двигателя с короткозамкнутым ротором: основной магнитный поток Ф, число последовательно соединенных витков в обмотке статора, обмоточный коэффициент статора , номинальное скольжение ,, число полюсов в обмотках статора и ротора 2р, ЭДС обмотки статора , ЭДС индуцируемая в обмотке ротора при его неподвижном состоянии , и ЭДС ротора при его вращении с номинальным скольжением , частота этой ЭДС при частоте вращения ротора . Частота тока в питающей сети 50 Гц. Требуется определить значения параметров, не указанные в таблице в каждом из вариантов.

Таблица 24

Параметры Варианты
         
Ф 0, 048 0, 032 0, 025 - 0, 028
, витков   - -    
0, 96 0, 97 0, 98 0, 95 0, 98
0, 045 - - - -
    -   -
, В -     - -
, В - - - - -
, В - - - 0, 13 -
, Гц - - - 2, 5 -
, об/мин -     -  

 

Задача 4.2. Трехфазный асинхронный двигатель с фазным ротором имеет данные, приведенные по вариантам в табл. 25: максимальное значение магнитной индукции в воздушном зазоре , диаметр расточки статора , длина сердечника статора , равная 0, 8 , число полюсов в обмотках статора и ротора 2р, число последовательно соединенных витков в фазных обмотках статора и ротора , обмоточные коэффициенты для основной гармоники статора и ротора принять равными = = 0, 93. Требуется определить фазные значения ЭДС в обмотке статора и в обмотке фазного ротора при неподвижном его состоянии и вращающемся со скольжением s, частоту тока в неподвижном и вращающемся роторе. Частота тока в питающей сети = 50 Гц.

Таблица 25

Параметры Варианты
         
, Тл 1, 35 1, 4 1, 38 1, 45 1, 5
, мм   2, 35      
, мм          
         
         
         
s, %          

 

Задача 4.3. Трехфазный асинхронный двигатель с короткозамкнутым ротором серии 4А имеет технические данные, приведенные по вариантам в табл. 26. Определить высоту оси вращения h, число полюсов 2р, скольжение при номинальной нагрузке , момент на валу , начальный пусковой и максимальный моменты, потребляемую двигателем из сети активную мощность , суммарные потери при номинальной нагрузке , номинальный и пусковой токи и в питающей сети при соединении обмоток статора «звездой» и «треугольником».

Таблица 26

Параметры Варианты
4А160S2У3 4А112М4У3 4А180М4У3 4А315М8У3 4А355М10У3
, кВт 15, 0 5, 5 30, 0    
, об/мин          
, % 88, 0 85, 5 91, 0 93, 0 93, 0
0, 91 0, 85 0, 89 0, 85 0, 83
7, 0 7, 0 6, 5 6, 5 6, 0
1, 4 2, 0 1, 4 1, 2 1, 0
2, 2 2, 2 2, 3 2, 3 1, 8
, В 220/380 220/380 380/660 380/660 380/660

 

Задача 4.4. Трехфазный асинхронный двигатель включен в сеть напряжением 380 В, частотой 50 Гц, обмотка статора соединена «звездой». Статический нагрузочный момент на валу двигателя , полезная мощность двигателя , потребляемая из сети мощность , КПД , коэффициент мощности , величина тока в фазной обмотке статора , число полюсов 2р, скольжение . Некоторые из перечисленных параметров по вариантам указаны в табл. 27.Требуется определить значения недостающих параметров.

 

Таблица 27

Параметры Варианты
         
, кВт   -     -
, кВт 15, 4 - - 29, 8  
, % -     -  
0, 77 0, 82 - 0, 78 -
, А -     -  
, % 3, 4 - 3, 1 -  
  -      
, Н× м -   -   -

 

Задача 4.5. Трехфазный асинхронный двигатель с числом полюсов 2р = 4 включен в сеть напряжением 380 В, частотой 50 Гц при соединении обмотки статора «треугольником». В табл. 28 приведены по вариантам параметры двигателя, соответствующие его номинальной нагрузке: мощность двигателя , КПД , скольжение , коэффициент мощности . При нагрузке КПД двигателя имеет наибольшее значение = 1, 03 . Необходимо определить все остальные виды потерь двигателя для режима номинальной нагрузки.

Таблица 28

Параметры Варианты
         
, кВт 4, 5 7, 6 14, 5    
, % 81, 5       88, 5
, % 5, 0 3, 4 3, 0 2, 8 2, 4
0, 8 0, 85 0, 88 0, 89 0, 92

 

Задача 4.6. Трехфазный асинхронный двигатель с короткозамкнутым ротором серии А2, работающий от сети частотой 50 Гц напряжением 380 В при соединении обмотки статора «звездой», имеет номинальные параметры, приведенные по вариантам в табл. 29: полезная мощность , частота вращения , КПД , коэффициент мощности ; кратность пускового тока , кратности пускового и максимального моментов; активное сопротивление фазной обмотки статора при температуре 20 °С . Требуется рассчитать параметры и построить механическую характеристику двигателя = f(M). Коэффициент мощности в режиме короткого замыкания принять равным = .

Таблица 29

Параметры Варианты
А2-62-2 А2-72-2 А2-82-2 А2-61-4 А2-91-4
, кВт          
, об/мин          
, % 89, 0 90, 5 92, 0 88, 5 93, 0
0, 88 0, 9 0, 90 0, 88 0, 90
         
1, 1 1, 0 1, 0 1, 3 1, 0
2, 2 2, 2 2, 2 2, 0 2, 2
, Ом 0, 1540 0, 0770 0, 0347 0, 2700 0, 0209

Поделиться с друзьями:

mylektsii.su - Мои Лекции - 2015-2026 год. (1.125 сек.)Все материалы представленные на сайте исключительно с целью ознакомления читателями и не преследуют коммерческих целей или нарушение авторских прав Пожаловаться на материал