Студопедия

Главная страница Случайная страница

КАТЕГОРИИ:

АвтомобилиАстрономияБиологияГеографияДом и садДругие языкиДругоеИнформатикаИсторияКультураЛитератураЛогикаМатематикаМедицинаМеталлургияМеханикаОбразованиеОхрана трудаПедагогикаПолитикаПравоПсихологияРелигияРиторикаСоциологияСпортСтроительствоТехнологияТуризмФизикаФилософияФинансыХимияЧерчениеЭкологияЭкономикаЭлектроника






Механізм човника






Схема машини 97 класу зображена на рис. 5.4. На головному валу закріплено барабан 3, а на нижньому валу 12, розміщеному в платформі, закріплений другий подібний барабан 10. В пази барабанів входять зуби спеціального пасу 8, завдяки чому відбувається безшумна передача обертання від головного валу до нижнього. Пас виготовляється з спеціальної гуми. Всередині пасу міститься кілька рядів тонкого металевого тросика. Діаметри і число пазів на барабанах однакові, і за один оберт головного валу нижній вал робить також один оберт. Опорами нижнього валу 12 служать кульковий підшипник 11 і втулка 22, вмонтовані у отворах приливів платформи. На передньому кінці нижнього валу закріплена велика шестірня 23, у зачепленні з якою знаходиться мала шестірня 24, виготовлена як одна деталь з човниковим валиком 24а.

На передньому кінці човникового валика посаджено човник, який закріплений на ньому двома гвинтами. Мала шестірня має число зубів у 2 рази менше, ніж велика, і за один оберт нижнього валу (а отже, і головного валу) здійснює два оберти.

Велика і мала шестірні мають внутрішнє зачеплення, і тому для забезпечення обертання човника у напрямку проти годинникової стрілки головний вал обертається також проти годинникової стрілки.

Шестірні механізмів човника розташовані в картері платформи. Знизу до картера прикручена гвинтами кришка з прокладкою для забезпечення герметичності. Зверху в картері знаходиться отвір для заливання масла.

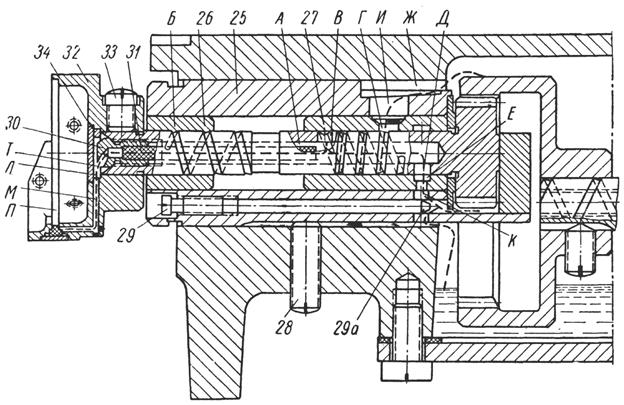
Мала шестірня разом з човниковим валиком 24 поміщаються у великій втулці 25 (рис. 5.5), всередину якої запресовані дві малі втулки: передня 26 і задня 27. Велика втулка вставляється разом з малою шестірнею в отвір приливу платформи і стопориться гвинтом 28. Торець малої шестірні впирається в сегментний упор, закріплений на задньому кінці великої втулки.

На передньому кінці човникового валика встановлюється човник 32 і кріпиться на ньому двома гвинтами 33.

Будова пристосування для автоматичної подачі масла з картера в човник така. Всередині човникового валика міститься осьовий отвір А. Ззовні на валику спереду нарізана спіральна канавка Б з правою спіраллю. Ця спіраль перешкоджає виходу масла з передньої втулки 26 назовні. На валику 24а міститься друга спіральна канавка Г (з лівою спіраллю). Передній кінець спіралі Г з’єднаний з радіальним отвором В, який направляє масло в осьовий отвір А. На задньому кінці валика міститься другий радіальний отвір Д, розміщений навпроти кільцевої виточки Е на задній втулці 27. Спіральна канавка Г з другим радіальним отвором Д не з’єднана.

Задній кінець великої втулки 25 входить в порожнину картера платформи. Зверху на кінці втулки зроблено виїмку Ж для збору масла, що розбризкується шестірнями. Отвір И з’єднує цю виїмку зі спіраллю Г на човниковому валику 24а. У великій втулці міститься боковий отвір, направлений вздовж осі. У цей отвір загвинчено гвинт-регулятор 29 подачі масла в човник. Задній конусний кінець 29а цього гвинта перекриває отвір К, що з’єднує виточку Е на задній втулці 27 з порожниною картера.

В торець переднього кінця човникового валика загвинчено штуцер 30.

В осьовий отвір штуцера вкладено гніт 31, вільний кінець якого входить в отвір А валика човника.

 

Рис. 5.4. Схема машини 97 класу

На конічній торцевій поверхні штуцера міститься невеличкий канал Т, який з’єднує осьовий отвір штуцера з кільцевим пазом Л човника. Кільцевий паз, у свою чергу, вертикальним каналом М, горизонтальним каналом Н з’єднаний з направляючим пазом П, до якого подається масло для мащення поверхонь тертя човника.

У виточку Л вкладено невеличке фетрове кільце. Передній кінець виточки закритий заглушкою 34. Ззовні канали М і Н також закриті заглушками для запобігання витіканню масла.

Масло в човник подається з картера таким чином (на рис. 5.5 шляхи руху масла показані умовними лініями).

Рис. 5.5. Схема мащення човника машини 97 класу

 

При обертанні шестерень масло в картері розбризкується і потрапляє на виїмку Ж великої втулки 25, а через отвір И це масло потрапляє на задню спіраль Г човникового валика. Спіраль Г жене масло до отвору В, через який воно входить в осьовий отвір А. З отвору А через боковий канал Т штуцера 30, а потім через виточку Л, вертикальний канал М і горизонтальний канал Н масло поступає до направляючого пазу човника, і таким чином змащується поясок шпулетримача.

Частина масла, що поступає в осьовий отвір А човникового валика, через задній радіальний отвір Д, виточку Е на задній втулці 27 і отвір К відводиться в зворотному напрямку в порожнину картера. Кількість відведеного масла залежить від того, наскільки конусний кінець 29а гвинта-регулятора перекриває отвір К. Якщо регулятор 29 повністю перекриє цей отвір, то все масло, що подається в осьовий отвір А валика човника, буде подаватися човнику. Якщо ж цей отвір К мало перекривається конусом регулятора 29, то масло майже все буде виходити назад в картер і на човник потрапить невелика його кількість. Отже, поворотом за годинниковою стрілкою гвинта 29 кількість масла, що поступає в човник буде збільшене.

При експлуатації машини масло в картері потрібно періодично замінювати новим і, крім того, необхідно періодично контролювати подачу масла в човник.

Для перевірки подачі масла потрібно попередньо зняти човник з човникового валика. Під човниковий валик необхідно підкласти аркуш чистого паперу, і при пуску машини масло з штуцера 30 буде виходити назовні на аркуш паперу. За тим, який шар масла отримається на папері, можна судити про подачу масла на човник.

Для нормального мащення достатньо, щоб при такій перевірці за 1 хв. на папері утворилась масляна смужка шириною 2–2, 5 мм.

Подача масла в човник залежить також від щільності запресування гніту 31 в штуцері 30. При заміні гніту необхідно слідкувати за щільністю його посадки в штуцер. При надмірно щільному запресуванні гніт не буде пропускати масло в човник.

Механізм переміщення тканини має таку будову (рис. 5.4 і 5.6).

Транспортер тканини 35 закріплений двома гвинтами на важелі 36, шарнірно з’єднаному з вушками валу подачі 37. Вал подачі отримує коливний рух від нижнього валу 12, на якому закріплений гвинтом 19, корпус 20 ексцентрика 21 (див. рис. 5.4).

Ексцентрик охоплюється головкою шатуна 45. В головці шатуна посаджений голковий підшипник (див. рис. 5.4, б). Вушка дишля 45 з’єднані шарнірною віссю 42 з вушками з’єднувальної ланки 43 і з верхньою головкою вертикальної ланки 44. З’єднувальна ланка 43, у свою чергу, з’єднана шарнірно з коромислом 41 валу подачі.

В механізмі міститься пристрій, за допомогою якого напрямок переміщення матеріалу змінюється з прямого на зворотній. Будова його така (див. рис. 5.4, а).

Вал 48 зворотної подачі тканини поміщений в отворі приливу платформи. На його задньому кінці міститься коромисло 49, шарнірно з’єднане з тягою 50 з важелем 52. Пружина 51 сприяє повертанню валу 48 за годинниковою стрілкою; важіль 52 при цьому впирається у верхню стінку вертикального вікна рукава. На передньому кінці валу 48 закріплене коромисло 46. Нижня головка коромисла віссю 39 жорстко з’єднана з переднім коромислом 40, закріпленим на другій осі 38. Вісь 38 входить в отвір платформи і розміщена навпроти валу 48.

Два коромисла 46, 40, вісь 39 являють собою коліно валу 48. На осі 39 шарнірно посаджена нижня головка вертикальної ланки 44. При обертанні нижнього валу ексцентрик 21 надає дишлю 45 поздовжнього руху. Через шарнір 42 та з’єднувальну ланку 43 це переміщення перетворюється в коливний рух коромисла 41 і валу подачі.

Вертикальне переміщення транспортер матеріалу отримує від валу підйому, який також отримує коливний рух від другого ексцентрика 14, закріпленого на нижньому валу 12. Ексцентрик 14 охоплюється головкою шатуна 15. Правий кінець шатуна 15 шарнірно з’єднаний з коромислом 13 валу підйому.

Регулювання величини кроку строчки здійснюється зміною ексцентриситету ексцентрика 21. Деталі регульованого ексцентрика вказані на рис. 5.4, в.

В корпусі 19, жорстко закріпленому на нижньому валу, міститься паз А, у який входить повзун Б ексцентрика 21. На повзуні зверху закріплений палець з роликом 54. На циліндричний хвостовик корпуса 19 вільно посаджено кільце 18, на передній торцевій поверхні якого міститься ексцентричний паз В. У виточку кільця 18 входить гальмівна пружина 17, яка підтискається стопорним кільцем 16, закріпленим на хвостовику корпуса 19. Ролик 54 через вікно в корпусі ексцентрика входить в паз В кільця 18. При обертанні кільця 18 відносно корпуса 19 ексцентричний паз В через ролик 54 і палець переміщає повзун разом з ексцентриком 21 по пазу А корпуса і тим самим змінює ексцентриситет ексцентрика 21.

Для регулювання кроку строчки в платформі міститься кнопка. При натисканні лівою рукою на кнопку її нижній кінець входить в паз Г кільця 18 і запирає його. Потім для зміни ексцентриситету повертають правою рукою за маховик головний вал машини і нижній вал разом з корпусом 19. Поворотом корпуса 19 відносно кільця 18 відбувається, як сказано вище, зміна ексцентриситету у ексцентрика 21. Після припинення натискання на кнопку пружина під кнопкою піднімає її вгору і виводить її кінець з пазу Г кільця 18.

Зміна напрямку переміщення матеріалу на зворотній здійснюється опусканням гашетки 9 вниз (див. рис. 5.4), при цьому важіль 53 через тягу 51 повертає вал 48 проти годинникової стрілки. Вісь 39, яка є шийкою коліна валу 48, переміщається вправо і займає інше положення.

На рис. 5.6 подано схему цього пристрою. У положенні, вказаному на рис. 5.6, а вісь 39 розміщується зліва від вертикалі, яка проходить через вісь валу 48; у цьому випадку рейка переміщає матеріал від працюючого. У положенні, вказаному на рис. 5.6, б, завдяки повороту валу 48 проти годинникової стрілки вісь 39 перемістилась вправо від вертикалі і рейка перемістила матеріал на працюючого. На рис. 5.6 ланки позначені тими ж цифрами, як і на рис. 3.4.

Поворотом гвинта 5 (див. рис. 5.4) регулюється тиск плоскої пружини 6 на стержень лапки.

 

Рис. 5.6. Схема механізму переміщення матеріалу машини 97 класу

 

Лабораторна робота №6

Тема: Вивчення технічних характеристик і будови швейної машини


Поделиться с друзьями:

mylektsii.su - Мои Лекции - 2015-2026 год. (0.926 сек.)Все материалы представленные на сайте исключительно с целью ознакомления читателями и не преследуют коммерческих целей или нарушение авторских прав Пожаловаться на материал