Студопедия

Главная страница Случайная страница

КАТЕГОРИИ:

АвтомобилиАстрономияБиологияГеографияДом и садДругие языкиДругоеИнформатикаИсторияКультураЛитератураЛогикаМатематикаМедицинаМеталлургияМеханикаОбразованиеОхрана трудаПедагогикаПолитикаПравоПсихологияРелигияРиторикаСоциологияСпортСтроительствоТехнологияТуризмФизикаФилософияФинансыХимияЧерчениеЭкологияЭкономикаЭлектроника






Порядок виконання курсового проекту з дисципліни






“Основи проектування машин і механізмів”

 

1. Побудова планів положення механізму, визначення крайніх положень робочої ланки та робочого ходу.

2. Побудова планів швидкостей.

3. Визначення потужності на кривошипі

4. Вибір двигуна і кінематичний розрахунок.

5. Розрахунок пасової передачі.

6. Розрахунок відкритої зубчастої передачі.

7. Проектування і розрахунок вала.

7. Вибір муфти.

8. Перевірочний розрахунок підшипників.

9. Вибір і розрахунок шпонок.

10. Проектування корпусних деталей.

11. Проектування рами.

12. Розрахунок привода на надійність роботи.

 

Список рекомендованої літератури

 

1. Писаренко Г.С., Квітка Е.С., Уманський Е.С. Опір матеріалів. – К. Вища школа., 2004

2. Бюргер И.А., Мавлютов Р.Р. Сопротивление материалов. – М. Наука., 1986

3. Ицкович Г.М., Винокуров А.И., Минин Л.С. Руководство к решению задач по сопротивлению материалов. – М. Высшая школа. 1999

4. Розрахунки на міцність і жорсткість елементів конструкцій: Метод. Вказівки до виконання курсової роботи з дисципліни “Опір матеріалів” для студ. Теплоенергетичного ф-ту всіх форм навчання. Укладачі Шемеган А.О., Бобир М.І., Трубачев С.І., Гігіняк Ф.Ф. – К. ІВЦ “Видавництво “Поліиехніка”. 2002

5. Заболонский К.И., Беляев М.С. Прикладная механика. – К. Вища шк., 1979.

6. Павлище В.Т. Основи конструювання та розрахунок деталей машин. – Л. Афіша.2003.

7. Дунаев П.Ф., Леликов О.П. Конструирование узлов и деталей машин. – М. Высш. шк., 2000.

8. Киркач Н.Ф., Баласанян Р.А. Расчет и проектирование деталей машин. – Х. Основа., 1991.

9. Детали машин. Атлас конструкций. Под ред. Решетова Д.Н. – М. Машиностроение., 1992.

10. Решетов Д.Н. Детали машин. – M.; Высш. шк., 1989.

11. Орлов Н.И. Основы конструирования. – М. Машиностроение., 1988.

12. Анурьев В.И. Справочник конструктора-машиностроителя. – М. Машиностроение., 1992.

13. Иванов М.Н. Детали машин. М. Высш. шк. 1998.

14. Краузе Г.Н. и др. Редукторы (справочное пособие). – Л. Машиностроение., 1972.

15. Чернавский С.А., Козинский Б.С., Боков К.Н. Проектирование механических передач.. – М. Машиностроение., 1984.

16. Методические указания к выполнению курсового проекта по курсу «Прикладная механика». Составители Афанасьев М.К., Степанец Н.А. – К. КПИ 1979.

17. Основи конструювання механізмів і машин. Методичні вказівки до курсового проектування. Укладач Яхно Б.О. – К. Політехніка., 2006.

 

 


Завдання № 1

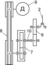
кінематична схема механізму приводу конвеєра

графік навантаження

1 – кривошип; 2, 4 – шатун; 3 – коромисло, 5 – повзун; 6 – відкрита зубчаста передача; 7 – редуктор, 8 – пасова передача, 9 – двигун, 10 - муфта.

вар , мм , мм , мм , мм а, мм b, мм , хв –1 kH
                 
                 
                 
                 
                 
                 
                 
                 
                 
                 

Завдання № 2

кінематична схема механізму пресу

графік навантаження

1 – кривошип; 2, 4 – шатун; 3 – коромисло, 5 – повзун; 6 – відкрита зубчаста передача; 7 – редуктор, 8 – пасова передача, 9 – двигун, 10 - муфта.

вар , мм , мм , мм , мм , мм а, мм b, мм c, мм , хв –1 kH
                     
                     
                     
                     
                     
                     
                     
                     
                     
                     

Завдання № 3

кінематична схема механізму приводу печі

графік навантаження

1 – кривошип; 2, 4 – шатун; 3 – коромисло, 5 – повзун; 6 – відкрита зубчаста передача; 7 – редуктор, 8 – пасова передача, 9 – двигун, 10 - муфта.

вар , мм , мм , мм , мм , мм а, мм b, мм , хв –1 kH
                   
                   
                   
                   
                   
                   
                   
                   
                   
                   

Завдання № 4

кінематична схема толкателя термічної печі

графік навантаження

1 – кривошип; 2, 4 – шатун; 3 – коромисло, 5 – повзун; 6 – відкрита зубчаста передача; 7 – редуктор, 8 – пасова передача, 9 – двигун, 10 - муфта.

вар , мм , мм , мм , мм а, мм b, мм , хв –1 kH
                 
                 
                 
                 
                 
                 
                 
                 
                 
                 

Завдання № 5

кінематична схема дробілки

графік навантаження

1 – кривошип; 2, 4 – шатун; 3 – коромисло, 5 – повзун; 6 – відкрита зубчаста передача; 7 – редуктор, 8 – пасова передача, 9 – двигун, 10 - муфта.

вар , мм , мм , мм , мм , мм , мм , мм , мм , хв –1 кН
                     
                     
                     
                     
                     
                     
                     
                     
                     
                     

Поделиться с друзьями:

mylektsii.su - Мои Лекции - 2015-2026 год. (1.184 сек.)Все материалы представленные на сайте исключительно с целью ознакомления читателями и не преследуют коммерческих целей или нарушение авторских прав Пожаловаться на материал