Студопедия

Главная страница Случайная страница

КАТЕГОРИИ:

АвтомобилиАстрономияБиологияГеографияДом и садДругие языкиДругоеИнформатикаИсторияКультураЛитератураЛогикаМатематикаМедицинаМеталлургияМеханикаОбразованиеОхрана трудаПедагогикаПолитикаПравоПсихологияРелигияРиторикаСоциологияСпортСтроительствоТехнологияТуризмФизикаФилософияФинансыХимияЧерчениеЭкологияЭкономикаЭлектроника






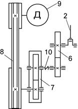
Завдання № 9






кінематична схема виштовхуючого механізму пресу

графік навантаження

1 – кривошип; 2, 4 – шатун; 3 – коромисло, 5 – повзун; 6 – відкрита зубчаста передача; 7 – редуктор, 8 – пасова передача, 9 – двигун, 10 - муфта.

вар , мм , мм , мм , мм , мм , мм , хв –1 кН
                 
                 
                 
                 
                 
                 
                 
                 
                 
                 

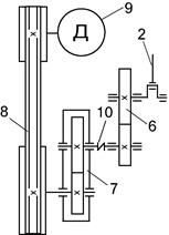
Завдання № 10

кінематична схема механізму пресу

графік навантаження

1 – кривошип; 2, 4 – шатун; 3 – коромисло, 5 – повзун; 6 – відкрита зубчаста передача; 7 – редуктор, 8 – пасова передача, 9 – двигун, 10 - муфта.

вар , мм , мм , мм , мм , мм , мм , мм , мм , хв –1 кН
                     
                     
                     
                     
                     
                     
                     
                     
                     
                     

Завдання № 11

кінематична схема механізму пресу

графік навантаження

1 – кривошип; 2, 4 – шатун; 3 – коромисло, 5 – повзун; 6 – відкрита зубчаста передача; 7 – редуктор, 8 – пасова передача, 9 – двигун, 10 - муфта.

вар , мм , мм , мм , мм , мм , мм , мм , хв –1 кН
                   
                   
                   
                   
                   
                   
                   
                   
                   
                   

Поделиться с друзьями:

mylektsii.su - Мои Лекции - 2015-2026 год. (1.093 сек.)Все материалы представленные на сайте исключительно с целью ознакомления читателями и не преследуют коммерческих целей или нарушение авторских прав Пожаловаться на материал