Студопедия

Главная страница Случайная страница

КАТЕГОРИИ:

АвтомобилиАстрономияБиологияГеографияДом и садДругие языкиДругоеИнформатикаИсторияКультураЛитератураЛогикаМатематикаМедицинаМеталлургияМеханикаОбразованиеОхрана трудаПедагогикаПолитикаПравоПсихологияРелигияРиторикаСоциологияСпортСтроительствоТехнологияТуризмФизикаФилософияФинансыХимияЧерчениеЭкологияЭкономикаЭлектроника






Оборудование для ковки






Машинная ковка проводится на ковочных молотах и ковочных гидравлических прессах.

На молотах пластическая деформация металла заго­товки совершается за тысячные доли секунды, так как молоты —.машины динамического действия. Металл де­формируется за счет энергии, накопленной падающими частями молота. Молоты подразделяются на пневмати­ческие и паровоздушные.

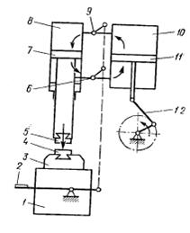
На пневматических ковочных молотах (рис. 15.2) производят мелкие поковки (до 20кг). Пресс имеет два цилиндра: рабочий 8 и компрессорный 10. Привод поршня 11 компрессорного цилиндра осущест­вляется от электродвигателя с помощью кривошипно-шатунного механизма 12. Поршень сжимает воздух з верхней и нижних полостях цилиндра до 0, 2...0, 3 МПа. Сжатый воздух через золотники 6 или 9, переключение которых происходит от рукоятки или ножной педали 2, направляется в рабочий цилиндр, где он перемещает поршень 7 вверх-вниз. Поршень рабочего цилиндра и массивный шток являются падающими частями моло­та. Верхний боек 5 и нижний 4 крепятся к штоку рабо­чего цилиндра и подушке 3. Стальная подушка уста­новлена на массивном шаботе 1. Молот может наносить единичные удары по заготовке, уложенной на нижний боек, или работать в автоматическом режиме. Пневма­тические молоты имеют массу падающих частей от 50 до 1000кг.

Паровоздушные ковочные молоты, пред­назначенные для изготовления поковок средней массы (от 20 до 350 кг) из про­катанных заготовок, в ка­честве энергоносителя ис­пользуют сжатый пар или сжатый воздух дав­лением 0, 7...0, 9МПа. Мо­лоты по конструкции ста­нины подразделяются на мостовые, одностоечные -12 и арочные. Паровоздуш­ные молоты имеют массу падающих частей от 1000 до 8000 кг.

На ковочных гид­равлических прес­сах — машинах статиче­ского действия, где де­формирование заготовки может продолжаться десятки

 

Рис. 15.2. Кинематическая схема пневматического ковочного молота

 

 

секунд, — перера­батывают крупные заго­товки, в основном слитки. Прессы развивают усилия от 5 до 100 МН.

Для ковки могут применяться также молоты механи­ческие, газовые и высокоскоростные.

Механизация и автоматизация малопроизводительно­го процесса свободной ковки имеет большое значение. При ковке широко применяются механизмы и устрой­ства, снижающие трудоемкость вспомогательных опера­ций: мостовые краны, ковочные поворотные краны, ле­бедки, подвесные клещи, электротележки с поворотными столами, электрические кантователи, посадочные маши­ны, манипуляторы и др.

Посадочные машины относят к специальным манипуляторам, управляемым оператором. Применяют их в комплексах «нагревательная печь — ковочная ма­шина» для загрузки и разгрузки заготовок, а также для транспортирования и установки их в рабочую зону обо­рудования.

На рис. 15.3 показано взаимное расположение обо­рудования при обслуживании напольной посадочной ма­шиной 4 (а) и подвесными посадочными машинами 10, и (б). Напольная посадочная машина загружает заго­товки с промежуточного склада 13 в нагревательные пе­чи 12, после нагрева передает их на поворотные столы 2, 6 и 10. В ковочные прессы 3, 7 и 9 заготовки подаются манипуляторами 1, 5, 8. Машина передвигается по рель­сам 11.

Две подвесные посадочные машины обслуживают тех­нологическую линию из методической нагревательной пе­чи 1, ковочного молота 2, гибочного пресса 3, камерной нагревательной печи 4, штамповочных молотов 5 и 7, об­резных прессов 6, 8 и печи для термической обработки поковок 9.

 

 

Рис. 15.3. Схемы расположения оборудования, обслу­живаемого посадочными машинами: а — напольными; б — подвесными

 

Несмотря на нестабильность процессов ковки, в про­изводстве используются и промышленные роботы. Бо­лее того, в производстве создаются роботизирован­ные технологические комплексы (РТК) для ковки. РТК называется совокупность единицы техноло­гического оборудования, ПР и средств оснащения, ав­тономно функционирующая и осуществляющая много­кратные циклы. В РТК промышленный робот может быть использован в качестве технологического оборудо­вания. При ковке в состав РТК может входить быстро­ходный гидравлический пресс (усилием до 50 МН) и ПР (типа МКП-25), оснащенный автоматизированной сис­темой числового программного управления (ЧПУ), ко­торая обеспечивает чередование во времени автоматиче­ского режима управления с ручным. Система ЧПУ — четырехкоординатная, она управляет подъемом руки, перемещением руки параллельно рельсам, ротацией кле­щей и движением бойка пресса.

С целью повышения точности поковок разработана эффективная система контроля качества продукции. При­меняют также устройства (датчики с радиоактивными изотопами, фотоэлементы и др.), которые в соответствии с размерами поковки фиксируют положение инструмен­та в конечной стадии ковки.

Технологический процесс ковки включает разработку чертежа поковки, проводимую по чертежу готовой дета­ли с учетом припусков, допусков и напусков, назначае­мых по ГОСТу. Припуск — поверхностный слой ме­талла поковки, который удаляется последующей механи­ческой обработкой для получения заданных размеров.и качества поверхности готовой детали. Технологи­ческий напуск — объем металла, который добавля­ется к поковке сверх припуска ввиду невозможности или нерентабельности изготовления поковки по контуру де­тали. Напуск, как и припуск, снимается механической обработкой. Значения припусков и допусков определяют­ся по специальным ГОСТам в зависимости от размеров и конфигурации поковок, типа стальной заготовки, вида операции свободной ковки, выбираемого оборудования для обработки давлением.

Последовательность операций ковки рассматривается для каждой поковки индивидуально.

Выбор теплового режима нагрева заготовок и охлаж­дения поковок, а также операций термической обработки во многом определяет качество продукции ковки.

Выбор кузнечного оборудования необходимой мощ­ности и габаритов, а также средств автоматизации и ме­ханизации проводят, исходя из режима ковки металла или сплава, массы поковки и ее конфигурации.

Осуществляется нормирование технологического про­цесса.

Исходными заготовками для крупных поковок явля­ются слитки различной формы массой до 320 т. Поковки средней и малой массы производят в основном из горя­чекатаного квадратного прутка со стороной квадрата от 40 до 250 мм и квадратной обжатой болванки (блю­мы) — со стороной от 140 до 450 мм.

Изделия, получаемые в результате свободной ковки, регламентируются ГОСТами. Сталь кованая круглая и квадратная поставляется с размерами (диаметр круга или сторона квадрата) от 40 до 200 мм и длиной прутков от 0, 75 до 1, 5 м. Сталь кованая полосовая имеет размеры сечений 5X12...80X300 мм и длины от 1, 5 до 6, 0м.

 


Поделиться с друзьями:

mylektsii.su - Мои Лекции - 2015-2026 год. (1.064 сек.)Все материалы представленные на сайте исключительно с целью ознакомления читателями и не преследуют коммерческих целей или нарушение авторских прав Пожаловаться на материал