Студопедия

Главная страница Случайная страница

КАТЕГОРИИ:

АвтомобилиАстрономияБиологияГеографияДом и садДругие языкиДругоеИнформатикаИсторияКультураЛитератураЛогикаМатематикаМедицинаМеталлургияМеханикаОбразованиеОхрана трудаПедагогикаПолитикаПравоПсихологияРелигияРиторикаСоциологияСпортСтроительствоТехнологияТуризмФизикаФилософияФинансыХимияЧерчениеЭкологияЭкономикаЭлектроника






Компрессионные свойства грунтов (сжимаемость)






Для определения деформативных свойств грунтов проводятся компрессионные испытания.

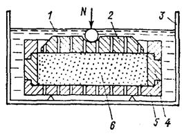
Возьмем образец грунта 6 (рис. 4), полностью насыщенного водой, и поместим его в кольцо 4 (высотой h) одометра. Кольцо поставим на фильтрующее днище 5 и установим поршень 2 с отверстиями. Одометр поместим в ванночку 3 с водой 1 для исключения капиллярного давления и предотвращения высыхания образца грунта. Когда грунт насыщен водой не полностью, одометр не заливают водой, а окружают влажным пористым материалом, чтобы вода не испарялась из образца. Если к поршню одометра приложить давление р, высота образца уменьшится вследствие уплотнения грунта (уменьшения его пористости). При увеличении давления образец получит дополнительное уплотнение из-за изменения объема пор.

Рис. 4. Схема испытания образца грунта на сжатие в одометре

 

 

 

Затем будем снимать нагрузку и наблюдать за результатами. По результатам испытаний строим график компрессионной кривой (к. к).

 

Из графика видно, что происходит необратимое уплотнение грунта.

Нас интересует в основном только прямая ветвь к. к., обратная ветвь к. к. – возможность поднятия дна, при глубоких котлованах (гидротехниче-

ское строительство).

 

Изобразим снова компрессионную кривую. На небольшом участке рассмотрим приращение нагрузки Δ P и получим соответственно Δ e. Заменим дугу прямой и рассмотрим угол α.

(-) – с увеличением нагрузки α – уменьшается.

В дифференциальной форме:

tgα =m0 и тогда основная математическая форма закона компрессии.

 

Для того чтобы получить m o, необходимо выделить определенный интервал.

Р 1 – напряжение от собственного веса грунта

Р – дополнительное давление от внешней нагрузки

Р 2 – полное напряжение (Р 2 = Р 1 + Р)

Окончательно:

 

Если:

m o < 0, 005 – грунт малосжимаемый

m o = 0, 005÷ 0, 05 – грунт среднесжимаемый

m o > 0, 05 1 МПа – грунт сильносжимаемый

 

Выводы

1. При изысканиях отбирают пробы грунта, строят график к. к. и определяют m o – это делают обычно инженеры-геологи, а строители оценивают свойства грунта по показателям, полученным от геологов.

2. Основной расчет оснований по II предельному состоянию – по деформациям. В формулу расчета осадки входит величина коэффициента относительного сжатия грунта.

– прямо пропорциональная связь.

 

Таким образом, m0 является той характеристикой, которая, как правило, решает выбор основания: можно строить или нельзя (тогда возникает необходимость перехода на искусственное основание).

В России существует еще одна характеристика сжатия грунта: Е0 – модуль общей деформации грунта.

Е0 – характеризует упругие + остаточные деформации

(Эти деформации не разделяются, так как в большинстве случаев для здания это не имеет никакого значения.)

, где

μ – коэффициент Пуассона (бокового расширения грунта).



Поделиться с друзьями:

mylektsii.su - Мои Лекции - 2015-2026 год. (4.114 сек.)Все материалы представленные на сайте исключительно с целью ознакомления читателями и не преследуют коммерческих целей или нарушение авторских прав Пожаловаться на материал