Студопедия

Главная страница Случайная страница

КАТЕГОРИИ:

АвтомобилиАстрономияБиологияГеографияДом и садДругие языкиДругоеИнформатикаИсторияКультураЛитератураЛогикаМатематикаМедицинаМеталлургияМеханикаОбразованиеОхрана трудаПедагогикаПолитикаПравоПсихологияРелигияРиторикаСоциологияСпортСтроительствоТехнологияТуризмФизикаФилософияФинансыХимияЧерчениеЭкологияЭкономикаЭлектроника






Лопастные насосы






В современной технике применяется большое количество разновидностей машин. Наибольшее распространение для водоснабжения населения получили лопастные насосы. Рабочим органом лопастной машины является вращающееся рабочее колесо, снабженное лопастями. Лопастные насосы делятся на центробежные и осевые.

В центробежном лопастном насосе жидкость под действием центробежных сил перемещается через рабочее колесо от центра к периферии.

На рис. 7.1 изображена простейшая схема центробежного насоса. Проточная часть насоса состоит из трех основных элементов - подвода 1, рабочего колеса 2 и отвода 3. По подводу жидкость подается в рабочее колесо из подводящего трубопровода. Рабочее колесо 2 передает жидкости энергию от приводного двигателя. Рабочее колесо состоит из двух дисков а и б, между которыми находятся лопатки в, изогнутые в сторону, противоположную направлению вращения колеса. Жидкость движется через колесо из центральной его части к периферии. По отводу жидкость отводится от рабочего колеса к напорному патрубку или, в многоступенчатых насосах, к следующему колесу.

Рис. 7.1. Схема центробежного насоса

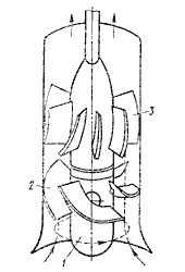
В осевом лопастном насосе жидкость перемещается в основном вдоль оси вращение рабочего колеса (рис. 7.2). Рабочее колесо осевого насоса похоже на винт корабля. Оно состоит из втулки 1, на которой закреплено несколько лопастей 2. Отводом насоса служит осевой направляющий аппарат 3, с помощью которого устраняется закрутка жидкости, и кинетическая энергия ее преобразуется в энергию давления. Осевые насосы применяют при больших подачах и малых давлениях.

Рис. 7.2. Схема осевого насоса

Осевые насосы могут быть жестколопастными, в которых положение лопастей рабочего колеса не изменяется, и поворотно-лопастными, в которых положение рабочего колеса может регулироваться.


Поделиться с друзьями:

mylektsii.su - Мои Лекции - 2015-2026 год. (1.118 сек.)Все материалы представленные на сайте исключительно с целью ознакомления читателями и не преследуют коммерческих целей или нарушение авторских прав Пожаловаться на материал