Студопедия

Главная страница Случайная страница

КАТЕГОРИИ:

АвтомобилиАстрономияБиологияГеографияДом и садДругие языкиДругоеИнформатикаИсторияКультураЛитератураЛогикаМатематикаМедицинаМеталлургияМеханикаОбразованиеОхрана трудаПедагогикаПолитикаПравоПсихологияРелигияРиторикаСоциологияСпортСтроительствоТехнологияТуризмФизикаФилософияФинансыХимияЧерчениеЭкологияЭкономикаЭлектроника






Поршневые насосы. Поршневые насосы относятся к числу объемных насосов, в которых перемещение жидкости осуществляется путем ее вытеснения из неподвижных рабочих камер






Поршневые насосы относятся к числу объемных насосов, в которых перемещение жидкости осуществляется путем ее вытеснения из неподвижных рабочих камер вытеснителями. Рабочей камерой объемного насоса называют ограниченное пространство, попеременно сообщающееся со входом и выходом насоса. Вытеснителем называется рабочий орган насоса, который совершает вытеснение жидкости из рабочих камер (плунжер, поршень, диафрагма).

Классифицируются поршневые насосы по следующим показателям:
1) по типу вытеснителей: плунжерные, поршневые и диафрагменные;
2) по характеру движения ведущего звена: возвратно-поступательное движение ведущего звена; вращательное движение ведущего звена (кривошипные и кулачковые насосы);
3) по числу циклов нагнетания и всасывания за один двойной ход: одностороннего действия; двухстороннего действия.
4) по количеству поршней: однопоршневые; двухпоршневые; многопоршневые.

Рис. 7.3. Насос поршневой простого действия

Насос простого действия. Схема насоса простого действия изображена на рис. 7.3. Поршень 2 связан с кривошипно-шатунным механизмом через шток 3, в результате чего он совершает возвратно-поступательное движение в цилиндре 1. Поршень при ходе вправо создает разрежение в рабочей камере, вследствие чего всасывающий клапан 6 поднимается и жидкость из расходного резервуара 4 по всасывающему трубопроводу 5 поступает в рабочую камеру 7. При обратном ходе поршня (влево) всасывающий клапан закрывается, а нагнетательный клапан 8 открывается, и жидкость нагнетается в напорный трубопровод 9.

Так как каждому обороту двигателя соответствует два хода поршня, из которых лишь один соответствует нагнетанию, то теоретическая производительность в одну секунду будет

где F - площадь поршня, м²;
l - ход поршня, м;
n - число оборотов двигателя, об/мин.

Для повышения производительности поршневых насосов их часто выполняют сдвоенными, строенными и т.д. Поршни таких насосов приводятся в действие от одного коленчатого вала со смещением колен.

Действительная производительность насоса Q меньше теоретической, так как возникают утечки, обусловленные несвоевременным закрытием клапанов, неплотностями в клапанах и уплотнениях поршня и штока, а также неполнотой заполнения рабочей камеры.

Отношение действительной подачи Q к теоретической QT называется объемным КПД поршневого насоса:

Объемный КПД - основной экономический показатель, характеризующий работу насоса.

Рис. 7.4. Насос поршневой двойного действия

Насос двойного действия. Более равномерная и увеличенная подача жидкости, по сравнению с насосом простого действия, может быть достигнута насосом двойного действия (рис. 7.4), в котором каждому ходу поршня соответствуют одновременно процессы всасывания и нагнетания. Эти насосы выполняются горизонтальными и вертикальными, причем последние наиболее компактны. Теоретическая производительность насоса двойного действия будет

где f - площадь штока, м2.

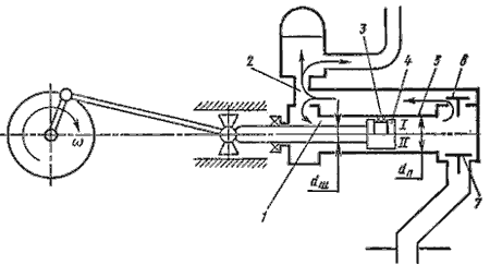
Рис. 7.5. Схема поршневого насоса с дифференциальным поршнем

Дифференциальный насос. В дифференциальном насосе (рис. 7.5) поршень 4 перемещается в гладко обработанном цилиндре 5. Уплотнением поршня служит сальник 3 (вариант I) или малый зазор (вариант II) со стенкой цилиндра. Насос имеет два клапана: всасывающий 7 и нагнетательный 6, а также вспомогательную камеру 1. Всасывание происходит за один ход поршня, а нагнетание за оба хода. Так, при ходе поршня влево из вспомогательной камеры в нагнетательный трубопровод 2 вытесняется объем жидкости, равный (F - f)l; при ходе поршня вправо из основной камеры вытесняется объем жидкости, равный fl. Таким образом, за оба хода поршня в нагнетательный трубопровод будет подан объем жидкости, равный

(F - f)l + fl = Fl

т.е. столько же, сколько подается насосом простого действия. Разница лишь в том, что это количество жидкости подается за оба хода поршня, следовательно, и подача происходит более равномерно.


Поделиться с друзьями:

mylektsii.su - Мои Лекции - 2015-2026 год. (1.456 сек.)Все материалы представленные на сайте исключительно с целью ознакомления читателями и не преследуют коммерческих целей или нарушение авторских прав Пожаловаться на материал