Студопедия

Главная страница Случайная страница

КАТЕГОРИИ:

АвтомобилиАстрономияБиологияГеографияДом и садДругие языкиДругоеИнформатикаИсторияКультураЛитератураЛогикаМатематикаМедицинаМеталлургияМеханикаОбразованиеОхрана трудаПедагогикаПолитикаПравоПсихологияРелигияРиторикаСоциологияСпортСтроительствоТехнологияТуризмФизикаФилософияФинансыХимияЧерчениеЭкологияЭкономикаЭлектроника






Обоснование выбора средств автоматизации.






При автоматизации процесса ректификации изобутилена в проекте используется централизованная система управления. Были выбраны средства автоматизации и приборы Государственной системы приборов средства автоматизации, которые при минимальном своем количестве обеспечат

Изм.
Лист
№ докум.
Подпись
Дата
Лист
 
КП. 15.02.07. К-11-2. 10
наиболее полное представление о ходе протекания процесса в нормальном режиме и безаварийную работу оборудования.

После анализа существующей схемы автоматизации и имеющихся предложений на рынке производителей предпочтение было отдано отечественному производителю. В основу системы управления был взят отечественный малоканальный многофункциональный микропроцессорный программируемый контроллер Ремиконт Р-130.

Ремиконт Р-130 способен эффективно решать как сравнительно простые, так и сложные задачи управления. Благодаря малоканальности в сочетании с программным обеспечением, предлагающим практически универсальный набор функциональных алгоблоков, и возможностью объединения контроллеров различных моделей и модификаций в сетевые структуры позволяет, с одной стороны, осуществить экономичное управление небольшим агрегатом, с другой - обеспечить высокую живучесть крупных систем автоматического управления.

Ремиконт Р-130 имеет две модели - регулирующую 01 и логическую 02.

В представленном проекте применяется регулирующая модель Ремиконт

Р-130. Данная модель обладает высоким быстродействием и функциональностью. Один регулирующий микроконтроллер Ремиконт Р-130 способен одновременно заменить до 8 вторичных приборов, в связи с этой особенностью микроконтроллера его применение при автоматизации процесса получения азеотропной осушки гексанового растворителя

АТКП- 235 является экономически выгодным.

Ремиконты Р-130 могут объединяться в локальную сеть «Транзит» кольцевой конфигурации (формируется соединением витыми парами соответствующих выводов блоков питания БП-1).

В одну сеть могут включаться как регулирующие, так и логические модели контроллеров. Каждому контроллеру присваивается индивидуальный сетевой номер, обмен информацией между контроллерами происходит в цифровой форме по витой паре проводов. Блок питания БП-1 обеспечивает высокую надежность связи, автоматически замыкая ячейку сети и исключая из нее контроллер при возможной неисправности последнего.

С помощью блока шлюза БШ-1, входящего в состав Ремиконта Р-130, сеть может взаимодействовать с любым внешним абонентом (например, персональным компьютером) или с другой локальной сетью Ремиконтов (при наличии в ней БШ), что позволяет создавать так называемую «елочную» архитектуру. Блок шлюза включается в локальную сеть на тех же условиях, что и Ремиконт, ему присваивается сетевой номер (обычно максимальный - 15).

В одно «кольцо», согласно ТУ на Р-130, могут объединяться да 15 контроллеров. Из опыта эксплуатации следует, что для нормальной работы сети желательно ограничиться 4-6 контроллерами (в зависимости от объема передаваемой информации).

Для решения задач повышенной надежности в Ремиконтах регулирующей и логической моделей предусмотрена возможность работы в режиме резервирования, т. е. когда параллельно с основным (ведущим) контроллером присутствует дублирующий (ведомый) контроллер той же модели и модификации, имеющий параллельное подключение источников сигналов и выполняющий параллельные функции. В случае отказа основного контроллера происходит безударное переключение всех текущих задач на резервный контроллер.

Контроллеры, работающие в режиме резервирования, имеют иное программное обеспечение (версии 11 и 12 в отличие от 01 и 02 у обычных) и включаются в локальную сеть под одним системным номером. Имеются так же некоторые особенности, как аппаратного подключения, так и программирования.

Ремиконт Р-130 - программируемое устройство, но для работы с ним не нужны программисты. В Ремиконте реализован так называемый язык ФАБЛ - «функциональный алгоблок» - когда из библиотеки, зашитой в постоянной памяти (ПЗУ) контроллера, виртуально извлекаются нужные алгоритмы (функциональные блоки), эти алгоритмы объединяются в систему заданной конфигурации (соединением соответствующих входов и выходов ал1 облоков) и в них устанавливаются требуемые параметры настройки. Загрузка и конфигурация алгоритмов, а так же настройка параметров производится с помощью пульта настройки (пульта наладчика) ПН-1 или так называемых программ-редакторов для персонального компьютера.

Встроенная литиевая батарея позволяет сохранять запрограммированную информацию при отключении питания (гарантированное сохранение информации - не менее 10 лет).

Запрограммированная информация может быть записана в ППЗУ (память пользователя), но после этого изменение алгоструктуры и большинства настроек (кроме коэффициентов) становится невозможным. Поэтому запись в ППЗУ (если это вообще необходимо) следует производить только после полной отладки управляющей программы.

Ремиконт Р-130 представляет собой комплекс технических средств. В его состав входит центральный микропроцессорный блок контроллера БК-1 и ряд дополнительных (вспомогательных) блоков, называемых блоками обвязки.

Изм.
Лист
№ докум.
Подпись
Дата
Лист
 
КП. 15.02.07. К-11-2. 10

Центральный блок преобразует аналоговую и дискретную информацию, поступающую на соответствующие входы, в цифровую форму, ведет обработку цифровой информации согласно заданной технологической

Изм.
Лист
№ докум.
Подпись
Дата
Лист
 
КП. 15.02.07. К-11-2. 10
программе, вырабатывает управляющие воздействия в аналоговой, импульсной и дискретной форме (опять же в соответствии с загруженной программой).

Дополнительные блоки используются для усиления сигналов термопар и термосопротивлений, формирования дискретных выходных сигналов на 220 В, организации внешних переключений и блокировок и т. п.

Схема включения блока контроллера БК-1 зависит от его модификации (но не зависит от модели), остальные блоки модификаций не имеют и их схема включения фиксирована.

В состав Ремиконта Р-130, кроме основного блока контроллера, могут входить:

- блок питания БП-1 (и МБ С - межблочный соединитель для подключения БК);

- блок питания БП-4;

- выносной пульт настройки ПН-1;

- блок усилителей сигналов низкого уровня и термопар БУТ-10;

- блок усилителей сигналов резистивных датчиков БУС-10;

- блок усилителей мощности БУМ-10;

- блок переключающих реле БПР-10;

- резисторы нормирующие РН-1;

- клеммно-блочные соединители КБС-0, КБС-1, КБС-2, КБС-3.

Созданные на базе промышленных контроллеров Ремиконт Р-130

АСУТП обеспечили надёжное решение всех поставленных задач. Таким образом, технические характеристики промышленного контроллера не только полностью решили текущую поставленную задачу, но и обеспечили дальнейшее развитие системы в случае необходимости.

В качестве приборов для измерения давления используются датчики Метран-22ЕхДИ.

Датчики давления «Метран-22» предназначены для непрерывного преобразования значения измеряемого параметра - давления избыточного, абсолютного, разрежения, давления-разрежения, разности давлений нейтральных и агрессивных сред, в унифицированный выходной токовый сигнал дистанционной передачи.

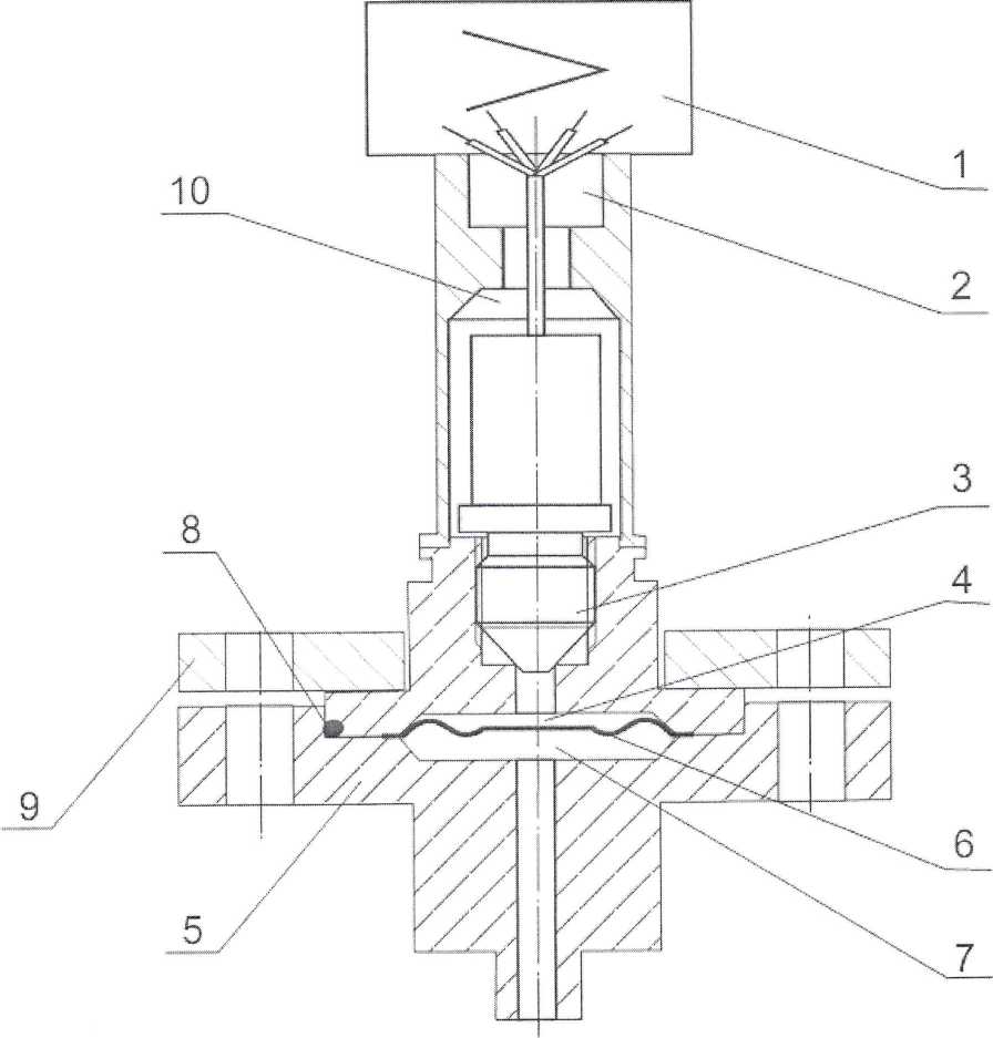
Схема датчика, используемого в проекте, представлена на рисунке.

 

Рисунок 2 - Схема датчиков Метран-22 моделей 2150, 2160, 2050, 2060, 2350 Мембранный тензопреобразователь 3 размещен внутри основания 9. Внутренняя полость 4 тензопреобразователя заполнена

кремнийорганической жидкостью (для датчиков кислородного исполнения - жидкостью ПЭФ-70/110) и отделена от измеряемой среды металлической гофрированной мембраной 6, приваренной по наружному контуру к основанию 9. Полость 10 сообщается с окружающей атмосферой. Измеряемое давление передается в камеру 7 фланца 5,

Изм.
Лист
№ докум.
Подпись
Дата
Лист
 
КП. 15.02.07. К-11-2. 10
который уплотнен прокладкой 8. Измеряемое давление воздействует на мембрану 6 и через жидкость воздействует на мембрану тензопреобразователя, вызывая ее прогиб и изменение сопротивления тензорезисторов. Электрический сигнал от тензопреобразователя передается из измерительного блока в электронный преобразователь 1. Гермоввод 2 предназначен для передачи сигнала в электронный преобразователь и используется в датчиках модели 2050 и 2060, так как в них полость 10 герметизирована.
Изм.
Лист
№ докум.
Подпись
Дата
Лист
 
КП. 15.02.07. К-11-2. 10

В качестве приборов контроля расхода в данном проекте используется диафрагма камерная ДКС, и дифференциальный манометр Метран-22ЕхДД, использующие метод переменного перепада давления.

ДКС-10 — камерная диафрагма, предназначена для создания перепада давления при измерении расхода жидкостей газов или пара по методу переменного перепада давления. Устанавливается во фланцах трубопровода, на условное давление до 10 МПа, с условным проходом от 50 до 500 мм.

Для измерения температуры используется термометр сопротивления медный типа ТСМ 0595-01

Термометр сопротивления типа ТСМ 0595-01 применяется для измерения температуры в газообразных и жидких средах во взрывоопасных зонах или помещениях, где могут содержаться аммиак, природный газ (пропан, метан, бутан) и продукты его сгорания, углекислый газ, конвертированный газ и его компоненты в допустимых пределах по ГОСТ 12.1.005. Область применения - нефтяная, нефтехимическая, газовая промышленность и другие. Пределы измерения до 1000°С.

В качестве регулирующих устройств используются регулирующие клапана типа 25с30нж для фузельной воды и воды с углеводородами.

В качестве запорной арматуры используются отсечные клапана типа

25с30нж для фузельной воды и воды с углеводородами и 25с30нж для пара и азота.

Для сигнализации концентрации горючих газов в воздухе производственных помещений в проекте применяется сигнализатор концентрации горючих газов СТМ-10.

Процесс ректификации изобутилена является пожаро- взрывоопасным,

поэтому все представленные в проекте средства автоматизации выполнены

в искробезопасном исполнении. Классы точности первичных

измерительных преобразователей отвечают требованиям технологической службы.

 

 

Изм.
Лист
№ докум.
Подпись
Дата
Лист
 
КП. 15.02.07. К-11-2. 10
3. Расчетная часть проекта.


Поделиться с друзьями:

mylektsii.su - Мои Лекции - 2015-2026 год. (0.848 сек.)Все материалы представленные на сайте исключительно с целью ознакомления читателями и не преследуют коммерческих целей или нарушение авторских прав Пожаловаться на материал