Студопедия

Главная страница Случайная страница

КАТЕГОРИИ:

АвтомобилиАстрономияБиологияГеографияДом и садДругие языкиДругоеИнформатикаИсторияКультураЛитератураЛогикаМатематикаМедицинаМеталлургияМеханикаОбразованиеОхрана трудаПедагогикаПолитикаПравоПсихологияРелигияРиторикаСоциологияСпортСтроительствоТехнологияТуризмФизикаФилософияФинансыХимияЧерчениеЭкологияЭкономикаЭлектроника






Розрахунок коробки передач






Коробка передач - агрегат трансмісії, призначений для перетворення крутного моменту й частоти обертання, що розвивається на колінчатому валу двигуна, для одержання різних тягових зусиль на ведучих колесах при рушанні автомобіля з місця і його розгоні. Коробка передач служить також для забезпечення можливості руху автомобіля заднім ходом і тривалого від'єднання двигуна від трансмісії при його пуску, на стоянці або при русі автомобіля накатом.

Класифікація й вимоги до конструкції коробки передач докладно розглянуті в [2, 5-7].

На сучасних автотранспортних засобах найбільше поширення одержали дво- і тривальні ступеневі коробки передач із шестернями постійного зачеплення. Для включення передач використовують зубчасті муфти й синхронізатори. Сучасні коробки передач мають високий ККД ( =0, 96...0, 98) [5].

При розгляді конструкцій коробки передач використовується таке поняття, як «діапазон передаточних чисел коробки передач» - відношення передаточного числа нижчої ступені коробки передач до передаточного числа вищої ступені. Величина діапазону [5] для:

- легкових автомобілів - Д = 3, 0...4, 5;

- вантажних автомобілів - Д = 5, 0...8, 0;

- автомобілів високої прохідності й тягачів - Д = 10, 0...20, 0.

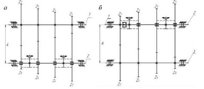
Перевагами двовальних коробок передач (рис. 15, а) є:

1) більш проста конструкція;

2) низький рівень шуму;

3) високий ККД на нижчих передачах;

4) зручність компонування;

5) можливість зниження маси.

До недоліків можливо віднести:

1) відсутність прямої передачі (зубчасті колеса й підшипники постійно під навантаженням);

2) максимальне передаточне число першої ступені не вище i1 = 4, 0...4, 5.

Перевагами тривальних коробок передач (рис. 15, б) є:

1) наявність прямої передачі (при цьому ККД максимальний; зубчасті колеса, підшипники проміжного вала навантаження не сприймають, що веде до зниження їх зношування й зменшенню рівня шуму);

2) дві пари зубчастих коліс у зачепленні дозволяють одержати велике передаточне число при малій міжосьовій відстані.

Недоліком є деяке зниження ККД на проміжних передачах.

Рисунок 15 - Принципова кінематична схема чотириступінчастої коробки передач:

а - двовальної; б - тривальної; 1 - ведучий вал; 2 - ведений вал; 3 - проміжний вал.

 

Двовальні коробки передач застосовують на передньопривідних автомобілях малого класу й задньопривідних - з поперечним розташуванням двигуна. Тривальні коробки передач використовують для легкових автомобілів, виконаних за класичною схемою, вантажних автомобілів і автобусів.

 


Поделиться с друзьями:

mylektsii.su - Мои Лекции - 2015-2026 год. (1.326 сек.)Все материалы представленные на сайте исключительно с целью ознакомления читателями и не преследуют коммерческих целей или нарушение авторских прав Пожаловаться на материал