Студопедия

Главная страница Случайная страница

КАТЕГОРИИ:

АвтомобилиАстрономияБиологияГеографияДом и садДругие языкиДругоеИнформатикаИсторияКультураЛитератураЛогикаМатематикаМедицинаМеталлургияМеханикаОбразованиеОхрана трудаПедагогикаПолитикаПравоПсихологияРелигияРиторикаСоциологияСпортСтроительствоТехнологияТуризмФизикаФилософияФинансыХимияЧерчениеЭкологияЭкономикаЭлектроника






Принцип действия и классификация поршневых насосов






Поршневой насос представляет собой объемную машину с возвратно-поступательным движением поршня в цилиндре.

На рисунке 6.1 представлена схема гидравлической части однопоршневого насоса одностороннего действия.

Рисунок 6.1

Принцип действия такого насоса заключается в следующем. При ходе поршня 1 вправо в рабочей камере цилиндра 2 освобождается объем и давление снижается (р< рВ), открывается всасывающий клапан 3. По мере движения поршня цилиндр заполняется жидкостью - этот процесс называется процессом всасывания.

Когда поршень дойдет до конца хода и остановится, чтобы изменить направление движения справа налево (p=рB), тогда всасывающий клапан закрывается. Как только поршень начинает двигаться влево, давление в цилиндре возрастает (р> рВ) и открывается нагнетательный клапан 4.

Жидкость поршнем вытесняется из цилиндра - происходит процесс нагнетания до конца хода поршня влево.

Из принципа действия поршневого насоса выявляются особенности его конструкции: а) рабочая камера (цилиндр) изолирована от подводящего и напорного трубопроводов клапанами; б) подача насоса зависит от геометрических размеров насоса (длины хода и площади поршня) и от числа двойных ходов поршня; в) пределы преодолеваемого поршнем давления (напора) зависят от установленной мощности и прочности деталей насоса, т.е. насос может развивать любой напор; г) поршень движется с переменной скоростью (от 0 в начале хода до максимальной в середине хода и снижающейся до нуля в конце хода).

В зависимости от условий работы и свойств перекачиваемых жидкостей насосы имеют весьма разнообразные конструкции. Ниже изложены некоторые принципы классификации поршневых насосов.

1. По типу приводной части различают насосы приводные, прямодействующие, ручные.

Приводные насосы - это насосы, у которых в приводной части имеется кривошипно-шатунный механизм для преобразования вращательного движения приводного вала в возвратно-поступательное движение поршня.

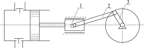
Рисунок 6.2

На рисунке 6.2 приведена схема приводного насоса, у которого приводная часть состоит из крейцкопфа 1, шатуна 2 и кривошипного вала 3. Кроме этих частей, для снижения числа ходов поршня в приводной части обычно имеется редуктор.

Прямодействующие насосы — это насосы, у которых поршень насоса общим штоком связан с поршнем двигателя.

На рисунке 6.3 представлена схема прямодействующего насоса, у которого приводная часть представляет собой паровую машину, состоящую из парового цилиндра 1, поршня 2 со штоком 3, непосредственно соединенным со штоком гидравлической части насоса, и золотниковой коробки распределения пара 4. В качестве двигателя прямодействующего насоса могут быть применены также гидравлические силовые цилиндры и пневмоцилиндры.

 

 

Рисунок 6.3

1. Ручные насосы — это насосы, у которых движение поршня осуществляется с помощью рукоятки вручную.

2. По расположению осей цилиндров насосы бывают горизонтальные, вертикальные и с осями, расположенными наклонно по отношению к основанию.

3. По числу цилиндров насосы выполняются одно-, двух-, трех- и многоцилиндровыми.

4. По конструкции поршня насосы бывают:

а) собственно поршневые, т.е. поршень представляет собой диск с уплотнениями, которые плотно прилегают к цилиндру (рисунок 6.4), такие поршни применяются в насосах двухстороннего действия, имеющих большие подачи;

Рисунок 6.4 Рисунок 6.5

 

б) плунжерные - плунжер имеет длину, значительно превышающую диаметр (рисунок 6.5) и применяются при значительных давлениях и малых подачах;

в) с проходным поршнем, имеющим в теле нагнетательный клапан (рисунок 6.6). Такие поршни находят широкое применение в глубинных насосах для добычи нефти, в которых диаметр цилиндра ограничен размерами скважины;

Рисунок 6.6

г) диафрагменные насосы, в которых изменением формы эластичной пластины достигается изменение объема рабочей камеры (рисунок 6.7).

Насосы с диафрагмой имеют малую длину хода и создают малые подачи.

Рисунок 6.7

5. По числу действия различают насосы:

а) одностороннего действия, когда один ход поршня, сопровождается

всасыванием жидкости, а другой - нагнетанием (рисунок 6.8)

Рисунок 6.8 Рисунок 6.9 Рисунок 6.10

б) двухстороннего действия, когда каждый ход поршня сопровождается процессами всасывания и нагнетания (рисунок 6.9).

в) дифференциального действия (рисунок 6.10), в котором - совершается один процесс всасывания при ходе поршня вправо и два процесса нагнетания. При ходе вправо жидкость нагнетается из камеры Б, а при ходе влево из камеры А часть жидкости протекает в камеру Б, а другая - в напорный трубопровод, улучшая равномерность ее поступления.

 


Поделиться с друзьями:

mylektsii.su - Мои Лекции - 2015-2026 год. (0.972 сек.)Все материалы представленные на сайте исключительно с целью ознакомления читателями и не преследуют коммерческих целей или нарушение авторских прав Пожаловаться на материал