Студопедия

Главная страница Случайная страница

КАТЕГОРИИ:

АвтомобилиАстрономияБиологияГеографияДом и садДругие языкиДругоеИнформатикаИсторияКультураЛитератураЛогикаМатематикаМедицинаМеталлургияМеханикаОбразованиеОхрана трудаПедагогикаПолитикаПравоПсихологияРелигияРиторикаСоциологияСпортСтроительствоТехнологияТуризмФизикаФилософияФинансыХимияЧерчениеЭкологияЭкономикаЭлектроника






Системы отопления, вентиляции и освещения пассажирского вагона






Пассажирские вагоны оборудованы устройствами отопления, вентиляции и освещения. Отопление может быть водяным или электрическим. В вагонах современной постройки применяется комбинированное водяное отопление (нагрев воды может осуществляться электронагревателем и твердым топливом). Вагоны оборудованы приточной принудительной вентиляцией (подогретый и очищенный воздух подается по воздушному желобу во все отделения вагона) и специальными установками для кондиционирования воздуха. Такие установки обеспечивают определенную влажность и температуру воздуха при давлении, несколько превышающем атмосферное, что предотвращает попадание наружного воздуха в вагон через негерметичные соединения.

Система отопления и вентиляции пассажирских вагонов должна обеспечивать среднюю температуру воздуха в пассажирских помещениях 22 - 20°С и в туалетах не ниже 16°С при температуре наружного воздуха - 40°С, а система охлаждения ¾ поддерживать в пассажирских помещениях температуру воздуха 24 - 20°С при температуре наружного воздуха 40°С.

Освещение в пассажирских вагонах электрическое. Электроэнергию для каждого вагона вырабатывают генераторы, приводимые в действие от оси колесной пары вагона или специального вагона-электростанции, находящегося в поезде. В электропоездах вагоны освещаются от контактной сети через специальные установки, расположенные в моторных вагонах. На станциях и при малой скорости следования питание вагонов электроэнергией происходит от аккумуляторных батарей, заряжаемых во время движения. В последнее время широкое распространение нашло люминесцентное освещение.

Искусственное освещение вагонов должно обеспечивать хорошую освещенность, не создавать отраженной блесткости и резких контрастов. В купе пассажирских вагонов должно быть предусмотрено ночное освещение синего цвета, которое включается по желанию пассажиров. Во всех вагонах должно быть предусмотрено аварийное освещение для эвакуации людей с освещенностью на полу не менее 1 лк.

Отопление пассажирского вагона обеспечивается комбинированной системой, в которую входят водогрейный котел, отопительные приборы (радиаторы с нагревательными трубами, калорифер и т.п.), трубопроводы, расширитель для восприятия увеличивающегося при нагревании объема воды, запорно-регулирующая аппаратура. Вода в котле подогревается расположенной в водяной рубашке высоковольтными нагревательными элементами (24 электротэны), а при отсутствии электроэнергии ¾ за счет теплоты сжигаемого твердого топлива (угля). Питание нагревательных элементов осуществляется по однопроводной поездной линии с номинальным напряжением 3000 В постоянного или однофазного переменного тока частотой 50 Гц (в пути следования от локомотивов, а в пунктах отстоя ¾ от стационарных устройств). Отопление позволяет поддерживать в вагоне температуру около (20 ± 2) °С.

Система работает с естественной циркуляцией воды при верхнем расположении разводящей линии. В водяном калорифере подогревается проходящий через него воздух, который подается вентилятором в помещения вагона. Предусмотрена и искусственная циркуляция воды с помощью циркуляционного насоса, установленного на трубопроводе, подводящем воду к котлу, подача которой включается в тех случаях, когда температура наружного воздуха ниже расчетной или когда необходим ускоренный нагрев вагона после отстоя.

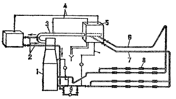
Схема отопления пассажирского вагона: 1 ¾ котел; 2 ¾ отопительная калориферная ветвь;
3 ¾ напорная труба котла; 4 ¾ воздухоотводящие трубки; 5 ¾ расширитель; 6, 7 ¾ отопительные ветви купейной и коридорной сторон; 8 ¾ нагревательные трубы; 9 ¾ циркуляционный насос.

В вагонах с кондиционированием воздуха используют дополнительные низковольтные электрические печи и калорифер, которые питаются от автономной системы электроснабжения напряжением 110 В постоянного тока.

В пассажирских вагонах межобластного и пригородного сообщений наиболее распространено отопление с помощью электрических печей и калориферов.

Вентиляция — это процесс воздухообмена в помещении. Существует два вида вентиляции: естественная и принудительная. Система принудительной вентиляции включает в себя: заборные жалюзи, инерционный и сетчатый фильтры, вентиляционный агрегат, диффузор, калорифер, конфузор, воздуховод, вентиляционные решетки, дефлекторы, противопожарную заслонку.

Через заборные жалюзи наружный воздух поступает в воздухозаборный короб, проходя через инерционный и сетчатый фильтры очищается, попадает в вентиляционный агрегат. Через диффузов воздух попадает в калорифер (водяной или электрический), где прогревается до необходимой температуры, и с помощью конфузора попадает обратно в вентиляционный агрегат, который соединен с воздуховодом, благодаря которому воздух распространяется по всем помещениям вагона. Отработанный воздух удаляется из вагона через дефлектора, которые расположены в туалетах, служебном отделении, малом коридоре, тамбуре с некотловой стороны. Дефлекторы в туалетах и купе должны быть летом открыты, зимой полуоткрыты, дефлектор в тамбуре с нерабочей стороны должен быть открыт всегда.

На передней панели распределительного шкафа (пульта упраления) находится тумблер для включения вентиляции. Существует два режима работы вентиляции: автоматический и ручной.


Поделиться с друзьями:

mylektsii.su - Мои Лекции - 2015-2026 год. (5.171 сек.)Все материалы представленные на сайте исключительно с целью ознакомления читателями и не преследуют коммерческих целей или нарушение авторских прав Пожаловаться на материал