Главная страница
Случайная страница
КАТЕГОРИИ:
АвтомобилиАстрономияБиологияГеографияДом и садДругие языкиДругоеИнформатикаИсторияКультураЛитератураЛогикаМатематикаМедицинаМеталлургияМеханикаОбразованиеОхрана трудаПедагогикаПолитикаПравоПсихологияРелигияРиторикаСоциологияСпортСтроительствоТехнологияТуризмФизикаФилософияФинансыХимияЧерчениеЭкологияЭкономикаЭлектроника
|
Лекция № 8.
Тема Ι.8. Нарезание резьбы.
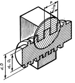
Понятие о резьбе. Образование винтовой линии Нарезанием резьбы называется её образование снятием стружки
(а также пластическим деформированием) на наружных или внутренних поверхностях заготовок деталей. Резьба бывает наружной и внутренней. Деталь (стержень) с наружной резьбой называется винтом, а с внутренней - гайкой. Эти резьбы изготавливаются на станках или вручную.
Резьба может быть левая и правая, по числу ниток резьбы разделяют на одноходовые и многоходовые. Профиль резьбы Профиль резьбы зависит от формы режущей части инструмента, с помощью которого нарезается резьба. А) цилиндрическая треугольная резьба. Это крепёжная резьба, нарезается на шпильках - гайка, болтах. Б) прямоугольная резьба имеет прямоугольный (квадратный) профиль. Трудна в изготовлении, непрочна и применяется редко. В) трапецеидальная ленточная резьба имеет сечение в виде трапеции с углом профиля, равным 30 градусам. Применяется для передачи движений или больших усилий в металлорежущих станках (ходовые винты, домкраты, прессы и т.д.) Г) упорная резьба имеет профиль в виде неравнобокой трапеции с рабочим углом при вершине, равным 30 градусам. Основания витков закруглены, что обеспечивает в опасном сечении прочный профиль. Д) круглая резьба имеет профиль, образованный двумя дугами, сопряжёнными с небольшими прямолинейными участками, и углом, равным 30 градусам. В машиностроении эта резьба применяется редко, её применяют в соединениях подвергающихся сильному износу (арматура пожарного трубопровода, вагонные стяжки, крюки грузоподъёмных машин и т.д.).
Прямоугольная резьба Трапециадальная резьба 
Трубная резьба Дюймовая резьба Метрическая резьба.
Основные типы резьбы и их обозначение.
В машиностроении, как правило, применяют три системы резьбы- метрическую, дюймовую и трубную.
Метрическая резьба имеет треугольный профиль с плоскосрезанными вершинами, и шаг выражен в миллиметрах, они делятся на резьбы с нормальным шагом М20 (число - наружный диаметр резьбы), с мелким шагом М20х1, 5 (число - наружный шаг резьбы). Их применяют как крепёжные: с нормальным шагом - при значительных нагрузках и для крепёжных деталей (гаек, болтов, винтов), с мелким шагом - при малых нагрузках тонких регулировках. Дюймовая резьба имеет треугольный плоскосрезанный профиль с углом 55 градусов (резьба Витворта) или 60 градусов (резьба Селлерса). Все размеры этой резьбы выражаются в дюймах (1" =25, 4мм). Шаг выражается числом ниток (витков) на длине одного дюйма с диаметрами от 3/16 до 4" и числом ниток на 1", равным 24...3. Трубная цилиндрическая резьба стандартизована, представляет собой мелкую дюймовую резьбу, но в отличие от последней сопрягается без зазоров и имеет закруглённые вершины. Стандартизованы трубные резьбы диаметрами от 1/8 до 6" с числом ниток на одном дюйме от 28 до 11. Инструмент для нарезания резьб. Резьбы на деталях получают на сверлильных, резьбонарезных и токарных станках, а также накатыванием, т. е. методом пластических деформаций. Инструментом для накатывания резьбы служат накатные плашки, накатные ролики и накатные головки. Иногда резьбу нарезают вручную. Внутреннюю резьбу нарезают метчиками, наружную - плашками, прогонками и другими инструментами. Инструмент для нарезания внутренней резьбы. Метчики. Метчики делят: по назначению - на ручные, машинно-ручные и машинные; в зависимости от профиля нарезаемой резьбы - для метрической, дюймовой и трубной резьб; по конструкции - на цельные, сборные (регулируемые и самовыключающиеся) и специальные. В комплект, состоящий из трёх метчиков, входят черновой, средний и чистовой метчики (рис. I, II, III). Метчик состоит из следующих частей: рабочая часть - винт с продольными канавками служит для нарезания резьб. Рабочая часть состоит из заборной (или режущей) части - она производит основную работу при нарезании и калибрующей (направляющей) части - резьбовая часть метчика, смежная с заборной частью - она направляет метчик в отверстие и калибрует нарезаемое отверстие; хвостовик-стержень служит для закрепления метчика в патроне или воротке. Резьбовые части метчика, ограниченные канавками, называются режущими перьями имеющие форму клина. Воротки. При нарезании резьб вручную, режущий инструмент вращают с помощью воротков, устанавливаемых на квадраты хвостовиков. Наружная и внутренняя резьба.
|