Студопедия

Главная страница Случайная страница

КАТЕГОРИИ:

АвтомобилиАстрономияБиологияГеографияДом и садДругие языкиДругоеИнформатикаИсторияКультураЛитератураЛогикаМатематикаМедицинаМеталлургияМеханикаОбразованиеОхрана трудаПедагогикаПолитикаПравоПсихологияРелигияРиторикаСоциологияСпортСтроительствоТехнологияТуризмФизикаФилософияФинансыХимияЧерчениеЭкологияЭкономикаЭлектроника






Топливно-сжигающие устройства трубчатых печей






Основными требованиями к топливно-сжигающим устройствам являются: обеспечение заданных режимов горения, экономичность распыливания (для жидкого топлива), полнота сжигания, малый уровень шума, технологичность изготовления, монтажа и ремонта. Конструкции таких устройств, используемых в промышленных печах, характеризуются чрезвычайным разнообразием. По виду сжигаемого топлива их классифицируют на жидкостные (мазутные), газовые и комбинированные (газомазутные). В нефтеперерабатывающей промышленности большинство трубчатых печей оборудовано комбинированными газомазутными горелками. В остальных отраслях промышленности большее распространение нашли или газовые, или жидкостные топливно-сжигающие устройства [1].

Топливно-сжигающие устройства в трубчатых печах размещают на стенах, сводах, подинах горизонтально, вертикально, наклонно и т.д. Различные варианты расположения сжигающих устройств представлены на рисунке 4.4 [5].

 

 

а – горизонтальное; б – подовое; в - сводовое

Рисунок 4.4 – Расположение топливно-сжигающих устройств в печах

 

Топливно-сжигающие устройства жидкого топлива. Жидкое топливо (мазут) горит в печах только после его перехода в парообразное состояние, поскольку температура его воспламенения выше температуры кипения. Поэтому мазут подается на сжигание в печь в распыленном состоянии. Для распыливания топлива используется перегретый водяной пар и (или) подогретый воздух. Для нормальной работы форсунок, работающих на мазуте, его вязкость перед горелкой не должна превышать 3º ВУ (условной вязкости), а температура распыливающего пара должна быть выше температуры насыщения паров воды не менее чем на15…20 º С.

При распыливании мазут рассеивается в топочной камере в виде тумана. По способу подвода энергии различают форсунки с механическим распыливанием (давление создается в мазутопроводе перед форсункой) и форсунки с воздушным или паровым распыливанием. Схемы распыления мазута форсунками показаны на рисунке 4.5 [1].

 

 

а – прямоструйная форсунка при давлении 1…2МПа; б – центробежная с тангенциальным подводом горючего; в – центробежная со специальным завихрителем; г – ротационная; д, е – с распыливающей средой (водяным паром, воздухом) высокого д и низкого е давления;

А – топливо; Б – воздух; В – пар

Рисунок 4.5– Схемы распыления топлива мазутными форсунками

 

Топливно-сжигающие устройства газового топлива. Для сжигания газового топлива чаще всего применяются два типа горелок (рисунок 4.5).

– инжекционного типа, в которых газ смешивается с воздухом в смесительной камере перед входом в камеру сгорания;

– горелки, в которых газ смешивается с воздухом в самой камере сгорания.

а – кинетическая инжекционная среднего давления; б – с принудительной подачей воздуха и закрученным потоком газа; в – диффузионная с принудительной подачей воздуха и подачей газа мелкими струями;

1 – газовое сопло; 2 – регулирующая воздушная заслонка; 3 – смеситель; 4 – керамический насадок; 5 – лопаточный завихритель; 6 – газовый коллектор; 7 – обмуровка топки;

А – воздух; Б – газ

Рисунок 4.6– Схемы горелок для сжигания газа

 

 

Рисунок 4.7 – Форсунка с паровым распыливанием

Рисунок 4.8 – Форсунка с воздушным распыливанием

 

В нефтезаводской практике наиболее распространены форсунки с паровым распыливанием (рисунок 4.7) вследствие их простоты. Однако они требуют большого расхода пара (от 0, 3 до 0, 6 кг/кг топлива). В форсунках с воздушным распыливанием (рисунок 4.8) распыливающим агентом является сжатый воздух. Они требуют меньшего расхода энергии, чем форсунки с паровым распыливанием, и благодаря хорошему смешению топлива с воздухом дают короткий факел [4].

Теплопроизводительность горелок регулируется изменением давления газа перед соплом инжектора.

Высокой эффективностью и широким распространением характеризуются беспламенные панельные горелки (рисунок 4.9). Такая горелка имеет распределительную камеру 1, в переднюю часть которой вварены трубки для выхода газовоздушной смеси. На трубки надеты керамические призмы 6, каждая из которых снабжена четырьмя цилиндроконическими каналами (туннелями). Призмы образуют керамическую панель размерами 500 500 или 605 605 мм, которая служит аккумулятором и излучателем теплоты. Короб и излучательная панель теплоизолированы относительно друг друга слоем диатомовой крошки 7. К задней стене короба крепится инжекторный смеситель газа 2, снабженный соплом 3, заслонкой 4 и газоподводящим патрубком 5. Соседние горелки соединяются друг с другом посредством болтов 8 и гаек 9, образуя излучающую стену печи. Зазоры между соседними горелками уплотняются диатомовой крошкой 10 и асбестовым шнуром 11.

В таких горелках благодаря высокой температуре в зоне горения обеспечивается полное сгорание газа при малом коэффициенте избытка воздуха: в керамических каналах уже на участке длиной 65…70 мм обеспечивается полное сгорание газовоздушной смеси. Теплопередача происходит излучением от поверхности керамической плиты. Теплопроизводительность горелок регулируется изменением расхода газа в коллектор, к которому подключен ряд горелок, а коэффициент избытка воздуха – заслонкой 4 индивидуально для каждой горелки.

Размеры поверхности горелки составляют 500 500 или 605 605 мм. На квадратном метре излучающей поверхности может располагаться от 450 до 1260 туннелей диаметром 20 мм каждый [6].

 
 

 


1 – распределительная камера (короб); 2 – инжекторный смеситель газа;

3 – сопло; 4 – регулирующая заслонка; 5 – газоподводящий патрубок; 6 – керамические призмы; 7 – теплоизоляционный слой (диатомовая крошка);

8 – болт; 9 – гайка; 10 – теплоизоляционный слой (диатомовая крошка); 11 – асбестопый шнур

Рисунок 4.9 – Беспламенная панельная горелка

 

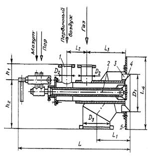
Газомазутные горелки ГМГ (рисунок 4.10, таблица 4.1) предназначены для сжигания мазута и газа, а при необходимости – для совместного их сжигания [5].

 

1 – газовоздушная часть; 2 – форсунка газомазутная; 3 – регистр первичного воздуха;

4 – регистр вторичного воздуха; 5 – плита монтажная

Рисунок 4.10 – Горелка типа ГМГ

 

Таблица 4.1 – Основные размеры горелок ГМГ

 

Горелки D1 D2 D3 L L1 L2 L3 L4 h1 h2
ГМГ-2 ГМГ-4 ГМГ-5, 5/7                    

 

Горелки ГМГ оборудуются для распыления мазута паромеханическими мазутными форсунками (рисунок 4.11).

 

 

1 – затяжной винт; 2 – скоба; 3 – паровой штуцер; 4 – колодка; 5 – топливный штуцер;

6 – рукоятка; 7 – ствол; 8 – распыливающая горелка

Рисунок 4.11 – Форсунка паромеханическая

Мазут по внутренней трубе форсунки (рисунок 4.12) подводится через распределительную шайбу в кольцевой канал топливного завихрителя и далее по тангенциальным каналам попадает в камеру завихрения, приобретая вращательно-поступательное движение, выходит из сопла и распыливается за счет центробежных сил.

 

 

1 – гайка; 2 – распределительная шайба; 3 – завихритель топливный;

4 – завихритель паровой

Рисунок 4.12 – Головка распылителя

 

Для обеспечения расширения диапазона регулирования форсунки снабжаются еще паровыми завихрителями. Пар по наружной трубе подходит к каналам накидной гайки, далее к каналам парового завихрителя и, выходя закрученным потоком, принимает участие в распылении мазута. Распыливающие детали стягиваются накидной гайкой.

Регистр вторичного воздуха представляет собой лопаточный аппарат с прямыми лопатками, установленными под углом 45˚, служащими для закрутки потока воздуха. Регистр первичного воздуха устроен подобным образом и служит для подвода закрученного воздушного потока к корню пламени.

Выпускаемые горелки рассчитаны для сжигания газа с теплотворной способностью 35, 5 МДж/м3 и мазута марок 40 и 100.

При необходимости сжигания газа с теплотворной способностью выше указанной, необходимо изменить давление газа либо сечение выходных отверстий для обеспечения требуемого расхода.

Подогрев мазута должен обеспечить вязкость перед форсункой до 6˚ ВУ.

Регулирование производительности горелки осуществляется изменением давления мазута или газа и воздуха.

При установке нескольких горелок в печи для устранения отрицательного влияния смежных горелок целесообразно при компоновке предусмотреть противоположную закрутку потока воздуха у горелок, расположенных рядом. Закрутка в горелке первичного и вторичного воздуха должна быть в одну сторону. Горелка должна быть освобождена от нагрузки трубопроводов.

В горелках ГМГ вторичный воздух регулируется соответственно изменению давления топлива. Для лучшего перемешивания (т.е. снижения химического недожога и расхода воздуха), особенно при работе на малых нагрузках, в горелке предусмотрена подача первичного воздуха давлением до 1, 5 кПа в количестве 15% от общего расхода воздуха. При работе на мазуте первичный воздух не регулируется, а при работе на газе первичный воздух регулируется пропорционально расходу газа.


Поделиться с друзьями:

mylektsii.su - Мои Лекции - 2015-2026 год. (0.396 сек.)Все материалы представленные на сайте исключительно с целью ознакомления читателями и не преследуют коммерческих целей или нарушение авторских прав Пожаловаться на материал