Студопедия

Главная страница Случайная страница

КАТЕГОРИИ:

АвтомобилиАстрономияБиологияГеографияДом и садДругие языкиДругоеИнформатикаИсторияКультураЛитератураЛогикаМатематикаМедицинаМеталлургияМеханикаОбразованиеОхрана трудаПедагогикаПолитикаПравоПсихологияРелигияРиторикаСоциологияСпортСтроительствоТехнологияТуризмФизикаФилософияФинансыХимияЧерчениеЭкологияЭкономикаЭлектроника






Печи радиантно-конвективного типа






Печи радиантно-конвективного типа нашли наибольшее применение. На рисунке 2.2 показаны радиантно-конвективные печи с нижним отводом дымовых газов и горизонтальным расположением труб.

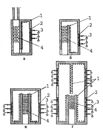
Печь, изображенная на рисунке 2.2, а используется как реакционно-нагревательная. Верхний потолочный экран выполнен двухрядным. Второй ряд труб используется в качестве реакционной зоны.

Для понижения температуры дымовых газов перед конвективным змеевиком предусмотрена рециркуляция дымовых газов, частично забираемых из газохода дымососом.

В нагревательных печах потолочный, подовый и боковой экраны обычно выполняют однорядным (кроме экрана двухстороннего облучения). Конструктивной отличительной особенностью печи на рисунке 2.2, б является наличие горизонтальной стены, отделяющей радиантную камеру от конвективной.

В двухкамерной печи с наклонным сводом (рисунок 2.2, в) и однорядными потолочным и подовым экранами имеется общая камера конвекции. Назначение наклонного свода – выравнивание тепловых нагрузок потолочного экрана. Печь применяется для переработки одновременно двух продуктов с различными режимами нагрева или двух самостоятельно регулируемых потоков. При малых мощностях строятся однокамерные печи с одним наклонным сводом.

1 – форсунка; 2 – радиантные трубы; 3 – конвективные трубы; 4 – дымоход;

5 – свод; 6 – воздухоподогреватель

Рисунок 2.2 – Печи радиантно-конвективного типа с горизонтальным расположением труб, приспособленные для работы на жидком и газообразном топливе (поперечные разрезы)

 

На рисунке 2.2, д изображена шестипоточная трубчатая печь с нижним расположением конвективной камеры. Продукты сгорания топлива проходят через однорядный, приподнятый от пода печи экран, разветвляются и с двух противоположных сторон поступают в конвективный пучок труб. Опоры подового экрана прикрепляются к решеткам конвективного пучка.

В печи, изображенной на рисунке 2.2, е, продукты сгорания топлива проходят через двухрядный потолочный экран и поступают в конвективный пучок труб, расположенный в верхней части печи. На верхнем ряду потолочных труб с зазорами уложен фасонный огнеупорный кирпич, способствующий лучшему омыванию газами второго ряда труб. Печь предназначена для нагрева одного либо двух потоков продукта.

В печах (рисунок 2.2, а, б, в) ось форсунок перпендикулярна к оси радиантных труб. В печах (рисунок 2.2, д, е, г, ж) оси форсунок и труб параллельны, что приводит к нежелательному неравномерному распределению теплонапряжения по длине труб.

Четырехкамерная печь (рисунок 2.2, ж) предназначена для нагрева двух или большего числа потоков нагреваемого продукта. Продукты сгорания проходят через однорядный потолочный экран, на котором с зазорами уложен фасонный огнеупорный кирпич.

На рисунке 2.3, а, б изображены узкокамерные печи с вертикальным расположением оси факела. Эти печи работают на газообразном либо комбинированном газожидкостном топливе, так как расположение форсунок для жидкого топлива в средней части пода затруднило бы их обслуживание. Верхнее расположение конвективной камеры снижает сопротивление газохода, что позволяет уменьшить высоту дымовой трубы до 10…20 м. Тяга осуществляется одной или несколькими трубами, установленными над конвекционной камерой на расстоянии 3…6 м друг от друга. Кроме того, верхнее расположение конвективной камеры обеспечивает плавное без завихрений естественное (снизу вверх)движение продуктов сгорания.

Отличительной конструктивной особенностью печи на рисунке 2.3, б является наличие разделительной стены 5. После сжигания топлива часть факела настилается на разделительную стену, которая начинает излучать тепло. Это печи с объемно-настильным факелом.

Изображенные на рисунке 2.3, в, г печи имеют двухрядный экран двухстороннего облучения и нижнее (рисунок 2.3, в) либо верхнее расположение конвективной камеры. Оси горелок печи (рисунок 2.3, в) расположены под некоторым углом, за счет чего часть пламени настилается на боковые стены печи, начинающие излучать тепло. Это печи с настильным факелом.

Нижнее расположение конвективной камеры предполагает движение продуктов сгорания топлива сверху вниз. Незначительное разрежение в верхней части камеры приводит к циркуляции газов, возникновению завихрений, что увеличивает теплонапряжение верхних труб конвективного змеевика.

 

 

1 – газовые горелки; 2 – радиантные 1 – форсунка; 2 – трубный змеевик

трубы; 3 – конвективные трубы; 4 – выход 3 – конвективный пучок труб;

газов из печи; 5 – разделительная стена 4 – дымовая труба

Рисунок 2.3 – Печи радиантно-конвективного Рисунок 2.4 – Трубчатая печь радиант-

типа с горизонтальным расположением труб но-конвективного типа с однорядным

экраном двухстороннего обогрева и вертикальным расположением труб

 

 

Печь, изображенная на рисунке 2.4, имеет вертикальное расположение змеевика труб и однорядный экран двухстороннего обогрева. В печи – восемь рядов труб по четыре с каждой стороны печи. Расстояние между рядами – 3 м. Между каждыми двумя рядами труб по всей высоте печи, а также между крайними рядами труб и торцовыми стенами установлены форсунки на расстоянии 800…1000 мм друг от друга.

Необходимость высотного сооружения для ремонта труб увеличивает удельный расход металла (расход металла на единицу теплопроизводительности печи).

На рисунке 2.5 приведены принципиальные схемы вертикальных печей с излучающими стенами из панельных горелок беспламенного типа. Излучающие стены располагают вблизи трубного экрана на расстоянии 0, 6…1, 0 м. Минимальное расстояние определяется необходимостью иметь проход для осмотра и ремонта труб и керамики горелок. В панельных горелках происходит сгорание газового топлива, в результате панель нагревается и становится источником излучения.

Газы сгорания, выйдя из горелок, проходят через трубный экран и поступают в конвективный пучок. Теплоотдача в радиантной камере осуществляется излучением от раскаленных стен и газов, а также конвекцией от газов.

В печах с двухрядным экраном двухстороннего обогрева можно проводить одновременный нагрев четырех продуктов, однако при увеличении числа потоков более двух трудно обеспечить соответствие допускаемых и фактических теплонапряжений.

Печь, изображенная на рисунке 2.5, в, имеет две конвективные камеры, что значительно уменьшает влияние теплоотдачи конвекцией от газов к экрану.

Излучающие стены печи (рисунок 2.5, г) составлены из чередующихся рядов горелок и обычной кладки примерно той же высоты, что высота горелки. Кроме центрального двухрядного трубного экрана двухстороннего обогрева в печи через каждый ряд горелок на уровне кладки установлены боковые двухрядные экраны. Они получают меньше тепла радиацией, чем центральный экран, однако это компенсируется теплоотдачей от газов при прохождении их к конвективному пучку. В остальном печь ничем не отличается от печи (рисунок 2.5, а). Теплотехнические показатели рассматриваемой печи по равномерности нагрева труб по их длине и окружности равноценны с печами (рисунок 2.5, а), но уступают им в возможности тонкой регулировки теплоотдачи по трубному экрану.

 

1 – трубный змеевик; 2 – излучающая стена; 3 – коллектор газа; а – печь с верхним расположением конвективного пучка; б – печь с нижним расположением конвективного пучка; в – печь с двумя нижними конвективными пучками; г – печь с дополнительными боковыми экранами

Рисунок 2.5 – Печи с двухрядным экраном двухстороннего обогрева и горизонтальным расположением труб

 

Печь, изображенная на рисунке 2.6, а, имеет однорядный зигзагообразный горизонтальный экран. Излучающие стены составляются из чередующихся рядов горелок и кладки. Высота каждого ряда кладки – 500 … 600 мм, т.е. примерно равна или несколько выше высоты горелки.

Печь, изображенная на рисунке 2.6, а уступает печам, приведенным на рисунке 2.5, а, б, в, г, в возможности осуществления тонкой регулировки теплоотдачи по трубному экрану.

При однопоточном движении нагреваемого продукта все трубы радиантного змеевика соединяются только трубными двойниками. При двухпоточном движении продукта на n рядов труб приходится (n – 1) соединений с угловыми двойниками.

Печь (рисунок 2.6, б) имеет несколько однорядных экранов, расположенных параллельно друг другу под углом 13° к горизонту. Величина выбранного угла наклона соответствует максимальному коэффициенту равномерности нагрева по окружности трубы. Между трубными экранами устанавливается по одному ряду горелок, чередующихся с кладкой, собранной на подвесных кронштейнах. Расстояние между излучающими стенами равно 2, 4 м. Оно соответствует максимальному значению коэффициента равномерности нагрева окружности трубы.

В печах этого типа регулировка теплонапряжения по трубному экрану осуществляется изменением теплопроизводительности соответствующего ряда горелок. Однако здесь труднее осуществить тонкую регулировку теплоотдачи, чем в печах приведенных на рисунке 2.5, а, б, г.

Печь (рисунок 2.6, в) отличается от печи на (рисунке 2.5, а) тем, что вместо двухрядного в ней установлен однорядный экран двухстороннего обогрева.

 

 

 

1 – трубный змеевик; 2 – излучающая стена; 3 – коллектор топливного газа

Рисунок 2.6 – Печи с однорядным экраном двухстороннего обогрева и горизонтальным расположением труб

 

На рисунке 2.7 показаны печи с однорядным настенным экраном и с боковым или центральным расположением конвективного пучка. В печи

 

(рисунок 2.7, а) газы в радиантной камере движутся сверху вниз, а в конвективной – снизу вверх. Дымовая труба устанавливается в верхней части печи над конвективным пучком труб. В печи на (рисунке 2.7, б) поток газов в радиантной камере естественный, снизу вверх, что предпочтительнее по сравнению с печью на рисунке 2.7, а.

 

 

1 – трубный змеевик; 2 – излучающая стена из горелок; 3 – коллектор газа; 4 – конвективная камера; а – печь с боковым расположением конвективной камеры и нисходящим потоком газов в радиантной камере; б – печь с боковым расположением конвективной камеры и восходящим потоком газов в радиантной камере; в – печь с центральным расположением конвективной камеры и восходящим потоком газов в радиантной камере; г – печь двухъярусная с центральным расположением конвективной камеры

Рисунок 2.7 – Печи с однорядным настенным экраном и горизонтальным расположением труб

 

Печь, изображенная на рисунке 2.8, состоит из двух секций и отличается от других типов печей вертикальным расположением труб. Дымовая труба находится между секциями и непосредственно соединена с конвективными камерами. Для более равномерного нагрева конвективных труб соединение дымовой трубы и камер осуществляется по всей высоте трубы. Одна секция этой печи отличается от конструкции печи на (рисунке 2.5, г) лишь вертикальным расположением труб.

 

 
 

 

 


1 – трубный змеевик; 2 – излучающая стена; 3 – дымовая труба

Рисунок 2.8 – Печь с двухрядным экраном двустороннего обогрева и вертикальным расположением труб (план)

 

В вертикальной печи, изображенной на рисунке 2.9, а, применение экрана двустороннего облучения сочетается с использованием принципа настильного пламени. Печи этого типа могут быть однокамерными либо многокамерными. Форсунки обычно располагаются под сводом печи, а камера конвекции вынесена вниз.

Рисунок 2.9 – Вертикальные печи с экраном двустороннего облучения

 

Разновидностью печи с экраном двустороннего облучения является вертикальная печь с газовыми горелками беспламенного горения, изготовленными из специальных сортов керамики, катализирующих процесс горения. Печь представляет собой узкую камеру с экраном двустороннего облучения, в боковых стенах которой установлено большое количество форсунок из керамики (рисунок 2.9, б). Такая конструкция печи делает ее гибкой, так как позволяет регулировать в широких пределах тепловые нагрузки как по высоте, так и по длине экранов.

Цилиндрические вертикальные трубчатые печи имеют змеевик из труб, расположенных вертикально в один или два ряда у внутренней поверхности стенки. Конвективная камера располагается вверху и ее трубы могут быть оребренными (коэффициент оребрения равен 3, 2 … 3, 5). В таких печах используют комбинированное газомазутное топливо.

Принципиальная схема и технические характеристики некоторых цилиндрических печей приведены в приложении Б [2].


Поделиться с друзьями:

mylektsii.su - Мои Лекции - 2015-2026 год. (0.773 сек.)Все материалы представленные на сайте исключительно с целью ознакомления читателями и не преследуют коммерческих целей или нарушение авторских прав Пожаловаться на материал