Студопедия

Главная страница Случайная страница

КАТЕГОРИИ:

АвтомобилиАстрономияБиологияГеографияДом и садДругие языкиДругоеИнформатикаИсторияКультураЛитератураЛогикаМатематикаМедицинаМеталлургияМеханикаОбразованиеОхрана трудаПедагогикаПолитикаПравоПсихологияРелигияРиторикаСоциологияСпортСтроительствоТехнологияТуризмФизикаФилософияФинансыХимияЧерчениеЭкологияЭкономикаЭлектроника






Трехфазной трехпроводной сети






 

Цель работы:

1. Ознакомление с методами и приборами для измерения активной мощности и энергии.

2. Определение коэффициента мощности в трехфазных трехпроводных сетях низкого напряжения.

 

Основные теоретические положения

1. Измерение активной мощности.

Для измерения активной мощности трехфазной системы применяют различные схемы включения ваттметров.

При симметричной нагрузке активную мощность цепи можно измерить одним ваттметром, включенным в одну из фаз приемника (W 6, рис.8):

Р = 3 Рф = 3 Uф Iф cos jф = UлIл cos jф.

При несимметричной нагрузке, соединенной звездой, в трехфазной четырехпроводной цепи мощность можно измерить тремя ваттметрами, включенными в каждую из фаз:

Р = РА + РВ + РС.

Измерение активной мощности в трехфазной трехпроводной сети, независимо от способа соединения нагрузки и симметрии системы, может быть осуществлено с помощью двух однофазных ваттметров, включенных по схеме двух приборов. Одна из возможных схем включения показана на рис.1.

Активная мощность трехфазной цепи при данном включении равна алгебраической сумме показаний двух ваттметров:

Так как = 0,

то ; ;

Р = Re ( + + ) = Re [() +() ] =

= Re { + } = UABIAcos ( ) + UCBIC cos ( ).

 

 

Рис.1 Рис.2

 

Векторная диаграмма для данной схемы в случае симметричной нагрузки приведена на рис.2.

При симметричном приемнике

 

Р = UлIл [ cos (30°+ j) + cos (30°- j)]. (2)

 

Из уравнения (2) видно, что при j = 0 (активная нагрузка) оба ваттметра будут иметь одинаковые показания, при j = 60° показание первого ваттметра становится равным нулю, а при j > 60° показание этого ваттметра становится отрицательным. В последнем случае для нахождения полной активной мощности необходимо взять не сумму, а разность показаний обоих ваттметров.

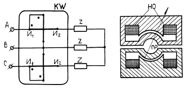
Кроме однофазных ваттметров при определении активной мощности в трехфазной трехпроводной сети промышленного назначения применяются ферродинамические двухэлементные киловаттметры (рис.3)

Конструктивно (рис.4) каждый из элементов состоит из неподвижной обмотки (НО), включенной последовательно в один из проводов токовой цепи (И 1, И 2), и подвижной рамки (ПР), включаемой на соответствующее напряжение.

Каждый элемент механизма имеет собственный магнитопровод с равномерным магнитным полем в воздушном зазоре. Подвижные рамки закреплены на одной оси и находятся в одной плоскости.

Оба элемента включаются в трехфазную трехпроводную сеть по схеме двух приборов для измерения активной мощности.

 

На подвижную часть киловаттметра действует алгебраическая сумма вращающих моментов обоих элементов и показания прибора пропорциональны полной мощности в соответствии с формулой (1).

Рис.3 Рис.4

2. Измерение энергии.

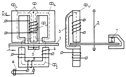
Измерение энергии в трехфазной сети осуществляется с помощью индукционных приборов (счетчиков). Устройство индукционного счетчика показано на рис. 5.

Подвижной частью счетчика служит алюминиевый диск 1, укрепленный на оси 2 и расположенный в воздушном зазоре между двумя электромагнитами. На стержне электромагнита напряжения расположена катушка с большим числом витков тонкого провода, ток которой IU создает магнитный поток Ф, состоящий из двух потоков ФU и ФL. Рабочий поток ФU пересекает диск и замыкается через противополюс 3. Шунтирующие потоки ФL не пересекают диска, замыкаясь по боковым стержням электромагнита. Токовый электромагнит выполнен с большим воздушным участком в магнитной цепи, а по его катушке с малым числом толстого провода проходит ток потребителя I, создающий магнитный поток ФI. Рабочий поток ФI дважды пересекает диск.

Таким образом, диск пересекают три не совпадающие в пространстве и сдвинутые по фазе потока. Взаимодействие этих потоков с токами, индуктированными ими в диске, приводит к возникновению вращающего момента:

 

M = K 1 ФUФI sin y, (4)

 

где y - угол сдвига фаз между рабочими потоками ФU и ФI.

 

Так как магнитный поток ФU пропорционален напряжению, а ФI - току, то для того, чтобы счетчик реагировал на энергию, необходимо выполнить условие

sin y = cos j, (5)

где j - угол сдвига фаз между напряжением U и током I.

Рис.5

 

В этом случае

M = K 2 UI cos j = K 2 P, (6)

то есть вращающий момент пропорционален активной мощности нагрузки. Противодействующий элемент создается тормозным магнитом и пропорционален скорости вращения диска:

М т = K 3 . (7)

В установившемся режиме М = М т диск вращается с постоянной скоростью. Приравняв выражения (6) и (7) и решая полученное уравнение, найдем K 2 = K 3 ,

где = W - энергия, прошедшая через счетчик за время t;

= 2 pN,

где N – число оборотов диска за время t;

откуда

W = = CнN, (8)

где Cн - постоянная счетчика, то есть энергия, регистрируемая счетчиком за один оборот.

Для учета числа оборотов диска служит счетный механизм. Передаточное число счетного механизма определяет соотношение между единицей энергии, регистрируемой счетчиком, и числом оборотов диска. Передаточное число счетчика указывается на его щитке:

1кВт/ч = N0 оборотов диска.

Тогда постоянная счетчика Сн будет равна:

Сн = . (9)

Чтобы выяснить, каким образом обеспечивается выполнение условия (5), построим векторную диаграмму счетчика (рис.6).

Из векторной диаграммы видно, что угол y между потоками ФU и ФI равен: y = b - aI -j. Для выполнения условия (5) необходимо, чтобы b - aI = 90° или b = 90° + aI. Тогда

M = К 2 UIcos j = K 2 P.

Выполнение условия b > 90° обеспечивается наличием большого нерабочего потока ФL (ФL> ФU). Обеспечение равенства b - aI = 90° осуществляется изменением угла потерь aI с помощью короткозамкнутых витков 4 и обмотки 5 с регулируемым сопротивлением 6.

Для создания тормозного момента и обеспечения равномерной скорости вращения диска при каждой нагрузке служит постоянный магнит 7. Схема включения индукционного счетчика показана на рис.7.

 

Рис.6 Рис.7

3. Измерение коэффициента мощности

Измерение cos j производится косвенным методом. При симметричной нагрузке напряжения и токи в фазах равны, поэтому необходимо измерить напряжение Uф на нагрузке Zн и проходящий по ней ток Iф в какой-либо фазе. Методом одного ваттметра следует измерить активную мощность в этой фазе и по формуле cos j = найти коэффициент мощности.

Порядок выполнения работы

1. Ознакомиться с лабораторным стендом. Записать паспортные данные всех приборов.

2. Собрать схему, показанную на рис.8.

Рис.8

3. В качестве потребителя Zн подключить:

а) активную нагрузку (рис.9);

б) активно-индуктивную нагрузку с последовательным включением потребителей (рис.10);

в) активно-индуктивную нагрузку с параллельным включением потребителей (рис.11).

4. Для каждого вида нагрузки определить мощность всей трехфазной цепи и в фазе В – активную и полную. Определить активную энергию за время, составляющее не менее 60 с. Для этого нужно определить число оборотов диска каждого счетчика за 60 с, вычислить номинальную постоянную счетчика по формуле (9), затем определить потребляемую энергию за секунду по формуле (8). Показания приборов занести в таблицу.

 

Рис.9 Рис.10 Рис.11

 

Ваттметры W 1 и W 2соединены по схеме двух приборов, и сумма их показаний дает мощность трехфазной цепи, равную:

P = P 1 + P 2.

Счетчики включены также по схеме двух приборов, и сумма их показаний дает энергию, потребляемую трехфазной нагрузкой:

W = W 4 + W 5.

Таблица

  Измерено Вычислено
P 1, Вт P 2, Вт P 3, Вт W 4, Вт·с W 5, Вт·с P 6, Вт Iф, А Uф В P, Вт W, Вт·с cosj j
R                        
R-L послед.                        
R-L паралл.                        

Угол сдвига фаз между током и напряжением на нагрузке равен:

j = arccos = arccos .

В данной работе активная мощность трехфазной симметричной нагрузки измеряется различными способами. При этом

P = P 1 + P 2 = P 3 = P 4 + P 5 = 3 P 6.

 

Вопросы для самоконтроля

 

1. Доказать, что полная активная мощность трехфазной цепи равна алгебраической сумме показаний обоих ваттметров.

2. Как изменяются показания ваттметра в зависимости от характера нагрузки? Показать на векторной диаграмме.

3. В каких случаях мощность трехфазной цепи может быть измерена одним ваттметром? Привести схемы подключения ваттметра при соединении нагрузки звездой и треугольником в трехпроводной трехфазной цепи.

4. Какие приборы применяются для измерения активной мощности в трехфазных цепях? Рассказать их устройство и принцип действия.

5. Какие приборы применяются для измерения активной энергии в трехфазных цепях? Привести схемы включения приборов.

6. Рассказать устройство и принцип действия однофазного индукционного счетчика.

7. Чему равен вращающий и тормозной моменты индукционного механизма?

8. Что такое передаточное число и постоянная счетчика?

9. Что нужно выполнить для того, чтобы вращающий момент счетчика был пропорционален активной мощности? Каким образом обеспечивается выполнение этого условия? Пояснить на векторной диаграмме.

10. Как определяется угол j между током и напряжением на нагрузке?

 

Список литературы

 

1. Электротехника / Под ред. В. Г. Герасимова. – М.: Высшая школа, 1986. – С. 272-286, 304-310.

2. Иванов А. Электротехника: Лабораторные работы. – Киев: Вища школа, 1976. – С. 130-136.


Поделиться с друзьями:

mylektsii.su - Мои Лекции - 2015-2026 год. (1.182 сек.)Все материалы представленные на сайте исключительно с целью ознакомления читателями и не преследуют коммерческих целей или нарушение авторских прав Пожаловаться на материал