Студопедия

Главная страница Случайная страница

КАТЕГОРИИ:

АвтомобилиАстрономияБиологияГеографияДом и садДругие языкиДругоеИнформатикаИсторияКультураЛитератураЛогикаМатематикаМедицинаМеталлургияМеханикаОбразованиеОхрана трудаПедагогикаПолитикаПравоПсихологияРелигияРиторикаСоциологияСпортСтроительствоТехнологияТуризмФизикаФилософияФинансыХимияЧерчениеЭкологияЭкономикаЭлектроника






Последовательность выполнения. Пролет стальных балок L = м






Исходные данные:

 

Пролет стальных балок L = … м

Расстояния l01 = l02 =… м.

Постоянная нагрузка от веса конструкций пола и перегородок gn, n = …кН/м2

Коэффициент надежности по ответственности γ n =

Бетон тяжелый класса …

Класс арматуры В500 или А 400, по выбору.

 

ПОРЯДОК РАСЧЕТА

 

1. Расчетные характеристики и коэффициенты.

Из таблиц 5.2 и 5.7 СП [2] находят значения Rb(табл.), Rs. По п. 5.1.10 [2] в зависимости от характеристики нагрузки принимается коэффициент условия работы γ b1 и определяется

Rb = γ b1Rb(табл.).

2. Выбор расчетной схемы плиты.

Если L / l < 2, то плита считается опертой по контуру, если L / l > 2, то плита рассчитывается как балочная в направлении короткой стороны (l). О выборе расчетной схемы делается соответствующая запись.

3. Определение расчетных пролетов.

Расчетная величина крайнего пролета плиты определяется с учетом свободного опирания плиты на кирпичную стену и принимается равной

,

где h – толщина плиты.

Толщина плиты по условиям экономичного армирования может быть принята h = 60…90 мм, кратно 10 мм. Меньшее значение толщины относится к меньшим пролетам и нагрузкам.

Расчетная величина средних пролетов принимается равной расстоянию между балками в осях, то есть

l2 = l02

4. Определение расчетных нагрузок.

Постоянная нагрузка определяется как сумма собственного веса плиты (gnл) и веса конструкции пола и перегородок (gn).

g = gnл + gn кН/м2,

где gnл = γ fg · h · 10 · ρ, ρ – плотность бетона, тяжелый бетон имеет плотность ρ = 2, 5 т/м3, γ fg – 1, 1; gn = γ fg · gп

Временная нагрузка ν = γ fv · ν n γ fv = 1, 2

Погонная расчетная нагрузка для полосы плиты шириной 1 м равна

g = γ n (g + ν), кН/м.

5. Статический расчет.

Определение значений изгибающих моментов Мmax, в расчетных сечениях плиты при раздельном армировании (см. ниже п. 7):

- в крайних пролетах - ,

- на вторых от края опорах В - ,

- в средних пролетах - ,

- на средней опоре С - .

 

6. Определяем толщину плиты.

Задаваясь ξ = 0, 20 …0, 23 (меньшие значения ξ соответствуют более высокому классу бетона, меньшей временной нагрузке и меньшему шагу балок), находим α m (α m = ξ (1-0, 5 ξ)) и определяем рабочую толщину плиты

.

подставляя M1 в Н·мм, Rb в МПа, b = 1000 мм, получим h0 в мм.

Принимаем а = 23 мм, получим полную толщину плиты по формуле

h = h0 + a

значение h принимается кратно 10 мм.

 

7. Расчет арматуры (на 1м ширины плиты).

Принимаем раздельное армирование пролетов и опор плиты (отдельно пролетные и опорные сетки), вся рабочая пролетная арматура доводится до опор. Для армирования используются куски рулонных сеток с поперечным расположением рабочих стержней.

Крайний пролет (M1)

По принятой толщине плиты (h) уточняем

h0 = h - a

и определяем

Определяем площадь продольной арматуры

По Аs из сортамента принимается сетка (таблица приложения В7). Сетка обозначается в виде дроби: в числителе диаметр, класс и шаг продольной конструктивной арматуры, в знаменателе – то же, для поперечной рабочей, затем указывается ширина и длина сетки, например

 

 

 

В случае применения доборного шага, который указывается в скобках после основного, обозначение сетки примет вид

 

 

Если принимаются не стандартные размеры выпусков (хотя бы один), то их значения приводятся в обозначении сетки после общих размеров, например

 

 

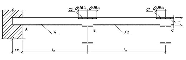
После этого в таком же порядке определяется арматура для второй с края опоры В. Для средних пролетов и средней опоры. Выполняется схема, на которой указываются численные значения размеров. Ширина опорных сеток увязывается с шагом 250 мм конструктивной арматуры.

При необходимости замены класса арматуры можно использовать такую зависимость , производить полный перерасчет не требуется.

 

Рис. 3.3. Армирование плиты.

 

Литература

1. СНиП 52-01-2003. Бетонные и железобетонные констркуции. Основное положения / Госстрой России. – М.: ГУП «НИИЖБ», ФГУН ЦПП, 2004 – 23 с.

2. СП 52-101-2003. Бетонные и железобетонные конструкции без предварительного напряжения арматуры /Госстрой России. – М.: ГУП «НИИЖБ», ФГУН ЦПП, 2004. – 53 с.

3. Пособие по проектированию бетонных и железобетонных конструкций из тяжелого бетона без предварительного напряжения арматуры (к СП 52-101-2003). ЦНИИПромзданий, НИИЖБ. – М.: ОАО ЦНИИПромзданий, 2005. – 214 с.



Поделиться с друзьями:

mylektsii.su - Мои Лекции - 2015-2026 год. (0.831 сек.)Все материалы представленные на сайте исключительно с целью ознакомления читателями и не преследуют коммерческих целей или нарушение авторских прав Пожаловаться на материал