Студопедия

Главная страница Случайная страница

КАТЕГОРИИ:

АвтомобилиАстрономияБиологияГеографияДом и садДругие языкиДругоеИнформатикаИсторияКультураЛитератураЛогикаМатематикаМедицинаМеталлургияМеханикаОбразованиеОхрана трудаПедагогикаПолитикаПравоПсихологияРелигияРиторикаСоциологияСпортСтроительствоТехнологияТуризмФизикаФилософияФинансыХимияЧерчениеЭкологияЭкономикаЭлектроника






Установки з пневматичним зрівноважуванням і закритою схемою гідропривода.






Установки з використанням в якості врівноважуючого пристрою гідропневматичного акумулятора виконуються за закритою чи комбінованою схемою, в котрий використовуються як гідродинамічні, так і гідростатичні насоси. Тип застосовуваного насоса на структуру гідравлічної схеми істотно не впливає: він визначає лише динамічні характеристики установки і, що особливо важливо, робочий тиск, а, отже, і габарити та масу елементів установки.

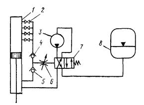
Гідропривідні установки із закритою схемою (рисунок 1.10.2) включають силовий орган – гідроциліндр 1, пневматичний акумулятор 8, блок привода – силовий насос 3 і розподільний золотник 7, гідравлічну систему реверсування, що складається з кранів 2, встановлених на керуючих комунікаціях, зворотних клапанів 4, 5 і регульованого дроселя 6, підключених до керуючої порожнини силового золотника 7. Установки цього типу включають не показану на схемі порівняно складну систему компенсації витоків робочої рідини через ущільнення силового насоса і силового органа, що забезпечує їхнє повернення в гідросистему, а також джерело стисненого газу для підтримання тиску в акумуляторі на потрібному рівні, оскільки в процесі експлуатації відбуваються витоки газу.

Рисунок 1.10.2 – Установка із закритою гідравлічною схемою

 

Установка працює в такий спосіб: при нижньому положенні поршня тиск рідини в лівій керуючій порожнині золотника 7 близький до атмосферного. Нижній зворотний клапан 5 відкритий, і золотник займає ліве положення, тобто рідина спрямовується з акумулятора на прийом силового насоса і далі в нижню порожнину силового циліндра.

Поршень циліндра разом із колоною насосних штанг переміщається нагору доти, поки не пройде повз одне з верхніх вікон циліндра, кран якого відкритий. При цьому рідина з підпоршневої порожнини спрямується через верхній зворотний клапан 4, що відкрився, і через дросель надійде в ліву керуючу порожнину силового золотника, що переборовши зусилля зворотної пружини, перемістить його в праве положення. Рідина почне надходити з циліндра в акумулятор. Хід поршня вниз буде продовжуватися доти, поки нижнє керуюче вікно не з'єднається з надпоршневою порожниною, після чого описаний процес повториться.

Плавність переключення силового золотника регулюється дроселем, а довжина ходу поршня – відкриттям відповідного крана верхнього керуючого вікна (при закритих інших).

Відомо багато різновидів конструкцій установок, виконаних за цією схемою. В деяких із них в якості силового насоса використаний відцентровий, а в системі реверсування – золотник з диференціальними поршнями, що дозволяє обійтися без зворотних клапанів у системі реверсування і т.п.

Оцінюючи конструктивні особливості цих установок, слід зазначити, що їхня простота умовна, оскільки вони, крім гідропривода, повинні включати: системи компенсації витоків робочої рідини і стабілізації тиску повітря. Кожна з них містить двигун, компенсаційний насос та компресор, а також системи розподілу потоків рідини й автоматики. В установках із закритою схемою гідропривода бак виконує функції акумулятора. Оскільки тиск у баку під час зупинень більший за атмосферний, ремонт і профілактика гідропривода ускладнюються. До недоліків подібних установок належить і те, що шток силового циліндра виконує функції гирлового штока. Тому він знаходиться в контакті з робочою та пластовою рідинами, що неминуче приводить до переносу останньої у внутрішню порожнину гідросистеми. Забруднення робочої рідини нафтою, мінералізованою водою, хімічно активними компонентами й абразивним матеріалом, звичайно, відбивається на надійності і довговічності швидкозношуваних елементів гідропривода.


Поделиться с друзьями:

mylektsii.su - Мои Лекции - 2015-2026 год. (1.465 сек.)Все материалы представленные на сайте исключительно с целью ознакомления читателями и не преследуют коммерческих целей или нарушение авторских прав Пожаловаться на материал