Студопедия

Главная страница Случайная страница

КАТЕГОРИИ:

АвтомобилиАстрономияБиологияГеографияДом и садДругие языкиДругоеИнформатикаИсторияКультураЛитератураЛогикаМатематикаМедицинаМеталлургияМеханикаОбразованиеОхрана трудаПедагогикаПолитикаПравоПсихологияРелигияРиторикаСоциологияСпортСтроительствоТехнологияТуризмФизикаФилософияФинансыХимияЧерчениеЭкологияЭкономикаЭлектроника






Установки з взаємним чи груповим зрівноважуванням






Установки цього класу призначені для привода штангових свердловинних насосів, спущених у розташовані поряд свердловини з близькими параметрами.

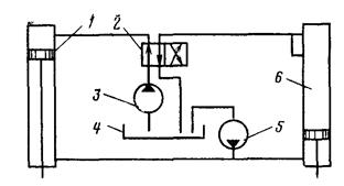
На устя однієї зі свердловин установлюється силовий орган – циліндр і силовий блок, на устя інших свердловин – тільки гідроциліндр, який оснащений пристроєм, що врівноважує (рисунок 1.10.6). Нижні порожнини циліндрів 1 та 6 з'єднані трубопроводом і являють собою замкнений простір, кількість рідини в котрому постійно поповнюється насосом 5 системи компенсації витоків із бака 4.

Під час роботи установки робоча рідина насосом 8 через розподільний золотник 2 напрямляється у верхні порожнини циліндрів 1 і 6. Напрямки руху поршнів регулюються системою реверсування, що спрацьовує при підході поршня лівого циліндра до крайніх положень. Правий поршень при цьому рухається синхронно, але в протилежному напрямку. Якщо обсяг рідини в нижніх порожнинах збільшується в результаті роботи системи компенсації витоків, то надлишок рідини направляється у верхній трубопровід правого циліндра через додатковий канал, що відкривається поршнем при підході до верхнього положення.

Рисунок 1.10.6 – Привід із груповим зрівноважуванням

 

Такі установки створюють довжини ходу полірованого штока від 0, 9 до 3, 6 м. Вантажопідйомність знаходиться в межах від 2, 7 до 13, 5 м. Потужність привода – від 3 до 8, 4 кВт.

До переваг групового привода варто віднести можливість одержання великих довжин ходів точок підвісу штанг і відсутність спеціального фундаменту; до недоліків – необхідність експлуатації свердловин з ідентичними параметрами, зниження ККД установки при збільшенні відстані між свердловинами й, нарешті, високу металоємність установки внаслідок великої маси з’єднаних труб.


Поделиться с друзьями:

mylektsii.su - Мои Лекции - 2015-2026 год. (0.979 сек.)Все материалы представленные на сайте исключительно с целью ознакомления читателями и не преследуют коммерческих целей или нарушение авторских прав Пожаловаться на материал