Студопедия

Главная страница Случайная страница

КАТЕГОРИИ:

АвтомобилиАстрономияБиологияГеографияДом и садДругие языкиДругоеИнформатикаИсторияКультураЛитератураЛогикаМатематикаМедицинаМеталлургияМеханикаОбразованиеОхрана трудаПедагогикаПолитикаПравоПсихологияРелигияРиторикаСоциологияСпортСтроительствоТехнологияТуризмФизикаФилософияФинансыХимияЧерчениеЭкологияЭкономикаЭлектроника






Гідропривідні штангові насосні установки зі зрівноважуванням колоною насосних труб






Особливе місце серед гідропривідних установок займають приводи з використанням колони НКТ, у якості врівноважувального вантажу, для чого ця колона підвішується до циліндра, що врівноважує. Крім цього принципова схема установки забезпечує можливість компонування всіх її вузлів у вигляді моноблока, що монтується безпосередньо на колонній головці свердловини. Таким чином, уперше усувається необхідність у фундаменті.

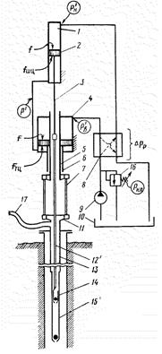
Установка складається з наземної і підземної частин – привода й внутрішньосвердловинного устаткування (рисунок 1.10.9). Привід має корпус (на рисунку не показаний), що монтується на колонній голівці свердловини.

У верхній частині корпусу розміщений силовий орган – штанговий гідроциліндр 1, поршень 2 якого з'єднаний штоком 3 і колоною штанг 12 із плунжером 14 свердловинного насоса. Нижче від силового органа розташовується пристрій, що врівноважує – трубний гідроциліндр 4, поршень якого з'єднаний порожнім наскрізним штоком 5, тягами 7, траверсою 11 із колоною НКТ 13, у нижній частині якої розташований циліндр 15 свердловинного насоса. Циліндр 4 оснащений також фальштоком 6, що дозволяє змінювати ефективну площу його поршня. Силовий блок складається з насоса 9 для подачі робочої рідини з бака 10 через розподільник 8 поперемінно у верхні порожнини циліндрів 1 і 4. На виході насоса встановлений переливний клапан 16. Пластова рідина потрапляє з НКТ у промисловий колектор гнучким шлангом 17.

Установка працює в такий спосіб: рідина, яка подається насосом із бака через розподільник спрямовується почергово у верхні порожнини штангового 1 і трубного 4 циліндрів. У результаті їхні поршні роблять синхронний, опозитний рух, переміщуючи колону штанг та труб і в протилежних напрямках. Сума абсолютних переміщень штанг і труб відповідає ходу штанг щодо труб, тобто без урахування їхніх деформацій, плунжера щодо циліндра свердловинного насоса.

Рисунок 1.10.9 – Схема установки з використанням НКТ у якості врівноважувального вантажу

 

Зрівноважування установки досягається підбором такого співвідношення довжин ходів поршнів циліндрів, при якому завантаження двигуна при ході штанг нагору і вниз буде постійним.

Технічні показники таких установок наведено в таблиці 1.10.1.

 

Таблиця 1.10.1 – Основні параметри гідропривідних установок із використанням у якості врівноважуючого вантажу колони НКТ

Марка Довжина ходу точки підвісу штанг відносно точки підвісу труб, м Максимальне навантаження в точці підвісу штанг, Н Маса, кг
АГН-Л 2, 2    
АГН 4, 2    

 

Робочий цикл свердловинного насоса відбувається за подвійний хід штанг (труб). Пластова рідина піднімається колоною насосно-компресорних труб і подається гнучким шлангом 17 у промисловий колектор.

 

 


Поделиться с друзьями:

mylektsii.su - Мои Лекции - 2015-2026 год. (0.884 сек.)Все материалы представленные на сайте исключительно с целью ознакомления читателями и не преследуют коммерческих целей или нарушение авторских прав Пожаловаться на материал