Студопедия

Главная страница Случайная страница

КАТЕГОРИИ:

АвтомобилиАстрономияБиологияГеографияДом и садДругие языкиДругоеИнформатикаИсторияКультураЛитератураЛогикаМатематикаМедицинаМеталлургияМеханикаОбразованиеОхрана трудаПедагогикаПолитикаПравоПсихологияРелигияРиторикаСоциологияСпортСтроительствоТехнологияТуризмФизикаФилософияФинансыХимияЧерчениеЭкологияЭкономикаЭлектроника






Динамограми роботи свердловинних штангових насосних установок






 

 

Динамограмою свердловинного насоса називається графічна залежність зусилля в точці підвісу штанг від величини її переміщення.

Динамограма свердловинного насоса дає можливість аналізувати характер і закон зміни зусилля з часом, що й буде показано далі.

На рисунку 1.7.10 наведені динамограми роботи ШСНУ, де

т. А – початок ходу головки балансира нагору;

лінія АВ – під дією ваги стовпа рідини починається розтягання колони штанг;

лінія ВС – заповнення робочої камери насоса;

лінія СD – початок стискання колони насосно-компресорних штанг, початок ходу плунжера вниз, розтягання НКТ;

лінія DA – перепускання рідини з підплунжерної зони в надплунжерну;

т. А – закриття нагнітального клапана.

 

При розшифруванні динамограм прийнята наступна послідовність:

1) на свердловині знімається реальна динамограма роботи штангового свердловинного насоса;

2) будується теоретична динамограма з урахуванням масштабу (масштаб приймається той же самий);

2) шляхом накладення динамограм визначають недоліки в роботі штангового насоса.

На рисунку 1.7.11 наведені динамограми роботи СШНУ, котрі містять ті чи інші недоліки в роботі.

  Рисунок 1.7.10 – Динамограми роботи ШСНУ: а) теоретична динамограма статичних зусиль; б) динамограма статичних зусиль з урахуванням сил тертя й подовження штанг і труб; в) динамограма з урахуванням динамічних зусиль; г) динамограми з урахуванням коливань колони штанг Рисунок 1.7.11 – Динамограми роботи СШНУ, що містять ті чи інші недоліки в роботі: 1 – обрив колони насосних штанг; 2 – пропуски в нагнітальному клапані; 3 – пропуски в усмоктувальному клапані; 4 – наявність великого вмісту газового фактора на прийомі насоса; 5 – висока динамічність роботи підземного устаткування (нераціональний вибір)

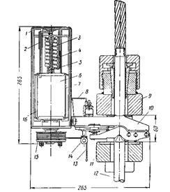
Динамограми роботи ШСНУ одержуються за допомогою спеціальних приборів – динамографів (рисунок 1.7.12), які встановлюються на підвісці устьового штока верстата-качалки.

Рисунок 1.7.12 – Гідравлічний динамограф ГДМ-3:

1 – корпус самописця; 2 – стрілка з пером; 3 – гелікоїдальна манометрична пружина; 4 – зворотна пружина ходозменшувача; 5 – гвинт ходозменшувача; 6 – стілець; 7 – відомий ролик; 8 – капілярна трубка; 9 – верхня траверса канатної підвіски; 10 – силовимірювальний пристрій; 11 – нижня траверса канатної підвіски; 12 – полірований шток; 13 – шнур; 14 – спрямовуючий ролик; 15 – змінний шків; 16 – ведучий ролик

 

Силовимірювальний пристрій динамографа ГДМ-3 складається із двох важелів-вилок і гідравлічного трансформатора тиску, що вбудований у верхній гідравлічний важіль. Гідравлічний важіль являє собою порожнину, заповнену рідиною й перекриту мембраною з тонкої листової латуні. До нижньої сторони мембрани прилягає поршень, що передає на неї зусилля, які виникають при роботі динамографа, і створює в порожнині гідравлічного важеля тиск рідини, пропорційний прикладеному зусиллю.

 


Поделиться с друзьями:

mylektsii.su - Мои Лекции - 2015-2026 год. (0.749 сек.)Все материалы представленные на сайте исключительно с целью ознакомления читателями и не преследуют коммерческих целей или нарушение авторских прав Пожаловаться на материал